LEVITON CTS1A CTS Current Sensors Instruction Manual
WARNINGS
- TO AVOID FIRE, SHOCK, OR DEATH: TURN OFF POWER at circuit breaker or fuse and test that power is off before wiring!
- TO AVOID OVERHEATING, DO NOT install a current transformer in an area where it would block ventilation openings.
- Only authorized personnel are allowed to work on or to install/dismiss the product.
- If you are unsure about any part of these instructions, consult an electrician.
- The product is designed only for the application specified in the operating instructions.
- Current transformers may not be installed in equipment where they exceed 75 percent of the wiring space of any cross-sectional area within the equipment.
- Secure current transformer and route conductors so that they do not directly contact live terminals or bus.
- Accessories can be used with the product only if approved or specified by Leviton.
CAUTIONS:
- To be installed and/or used in accordance with appropriate electrical codes and regulations.
- Installation is intended for Service Entrance.
- DO NOT install a current transformer in area of breaker arc venting.
- Current transformers are not suitable for Class 2 wiring methods and are not intended for connection to Class 2 equipment.
- For indoor use only.
- SAVE THESE INSTRUCTIONS.
Installation

CAUTIONS:
- The contact surface of the core material has been waterproofed, it still may be susceptible to rust. Contact surface has to be cleaned in case of rust with the use of WD-40 or CRC5-56.
- When cleaning the core or housing, do not use any chemicals other than WD40 or CRC5-56.
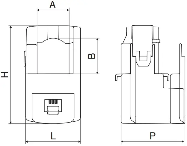
Dimensions

Specifications
| Specifications | ||||||
| Catalog numbers | LxHxP | A | B | Window | I nom. | I max. |
| CTS1A | 1.02 in. x 1.73 in. x 1.10 in. 26 mm. x 44 mm. x 28 mm. | – | – | 10 | 25…63A | 75.6A |
| CTS2B | 1.14 in. x 2.63 in. x 1.10 in. 29 mm. x 67 mm. x 28 mm. | 0.55 in. 14 mm. | 0.59 in. 15 mm. | 14 | 40…160A | 192A |
| CTS3C | 1.45 in. x 2.56 in. x 1.69 in. 37 mm. x 65 mm. x 43 mm. | 0.82 in. 21 mm. | 0.90 in. 23 mm. | 21 | 63…250A | 300A |
| CTS6D | 2.08 in. x 3.38 in. x 1.85 in. 53 mm. x 86 mm. x 47 mm. | 1.26 in. 32 mm. | 1.30 in. 33 mm. | 32* | 160…600A | 720A |
max = 1.18 x 0.98 in./30 x 25 mm.
max = 1.26 in./32 mm.
Warranty
FOR CANADA ONLY
For warranty information and/or product returns, residents of Canada should contact Leviton in writing at Leviton Manufacturing of Canada ULC to the attention of the Quality Assurance Department, 165 Hymus Blvd, Pointe-Claire (Quebec), Canada H9R 1E9 or by telephone at 1 800 405 5320.
LIMITED 5 YEAR WARRANTY AND EXCLUSIONS
Leviton warrants to the original consumer purchaser and not for the benefit of anyone else that this product at the time of its sale by Leviton is free of defects in materials and workmanship under normal and proper use for five years from the purchase date. Leviton’s only obligation is to correct such defects by repair or replacement, at its option. For details visit www.leviton.com or call 1-800-824-3005. This warranty excludes and there is disclaimed liability for labor for removal of this product or reinstallation. This warranty is void if this product is installed improperly or in an improper environment, overloaded, misused, opened, abused, or altered in any manner, or is not used under normal operating conditions or not in accordance with any labels or instructions. There are no other or implied warranties of any kind, including merchantability and fitness for a particular purpose, but if any implied warranty is required by the applicable jurisdiction, the duration of any such implied warranty, including merchantability and fitness for a particular purpose, is limited to five years. Leviton is not liable for incidental, indirect, special, or consequential damages, including without limitation, damage to, or loss of use of, any equipment, lost sales or profits or delay or failure to perform this warranty obligation. The remedies provided herein are the exclusive remedies under this warranty, whether based on contract, tort or otherwise.
Support
For Technical Assistance
Call: 1-800-824-3005 (USA Only) or 1-800-405-5320 (Canada Only) www.leviton.com



















