LH79 MANO Speakersbuds
User Manual
LH79 Mano Speakersbuds
![]() | ![]() | ![]() |
WARNING
- Make sure to fill the gel tank with hydroalcoholic gel only, do not use liquid soap or hydroalcoholic liquid solution.
- Place the dispenser on a flat, level surface.
- For cleaning, it is recommended to gently wipe the surface of the device with a wet towel when it is turned off.
- This appliance is not attended for use by children unless they have been guided by a person who is
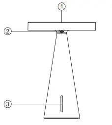
PRODUCT OVERVIEW
| 1. Touch area 2. Nozzle 3. Level indicator 4. Infrared sensor 5. Lamp | 6. Opening (tank) 7. Gel tank 8. LED indicator (charging status) 9. Type-C charging port |
FEATURES
- Automatic hand detection
- Refillable
- Adjustable dosage levels
- Ambiance LED lighting
- Touch controls
- No-drip valve
- Rechargeable
- Up to 12 months of battery life
GETTING STARTED
Before using Mano for the first time, make sure you fill the tank with hydroalcoholic gel (you should not use liquid soap or hydroalcoholic liquid solution)
- Simply open the cap at the bottom of the product to remove the tank
- Fill the tank with hydroalcoholic gel only
- The surface should be cleaned if there is gel overflows the storage
- Then place the tank inside and close the cap securely
- Place the dispenser on a flat, level surface
CHARGING INSTRUCTIONS
Make sure to fully charge Mano:
- Plug the supplied USB Type-C cable into Mano’s charging port
- Plug the USB end of the cable into any 5V-1A power adapter
- Plug the power adapter into a power source for about 3,5 hours
LED information
| Operation mode | Light status |
| Charging | Green light indicator flashes |
| Fully charged | The green light indicator stays lit and turns off when unplugged |
| In use | The green light indicator remains OFF |
| Low battery | The lamp stops working when the battery is low |
OPERATIONS & USE
HOW TO USE
Turn ON/OFF the unit
- Press and hold the touch area for 3 seconds to turn the ON/OFF unit.
When the device is turned ON, the light turns ON for 2 seconds for confirmation.
When the device is turned OFF, the light flashes 3 times.
Dispense gel
- Simply place your hand under the sensor and the device will dispense a dose of gel.
The LED light will turn on during this operation and automatically turn off after a few seconds. By default, the pump will dispense 1ml of gel.
HOW TO ADJUST SETTINGS
Once the device is turned ON, you can perform various operations using the touch area.
Single tap x1 to set the light mode
- 1st single tap – Set the light to cold white light
- 2nd single tap – Set the light to warm white light
- 3rd single tap -Turn Off the light
- 4th single tap – Set back the light to cold white light
Double tap x2 to adjust the brightness
- 1st double tap – Set to high brightness
- 2nd double tap – Set to low brightness
- 3rd double tap – Set back to high brightness
Triple tap x3 to adjust the gel flow
- 1st triple tap – Set flow to 1.5ml then the LED lamp flashes twice
- 2nd triple tap – Set the flow to 2ml then the LED lamp flashes three times
- 3rd triple tap – Turn Off the gel dispenser then the LED lamp stays on for 1 second
- 4th triple tap – Turn On the gel dispenser and set the flow to 1 ml then the LED lamp flashes once
SAFETY PRECAUTIONS
- Place the dispenser on a flat, level surface.
- This product is for indoor use. Exposure to direct sunlight will destroy the sensor system.
- Do not tilt the bottle when installing or replacing the hand gel.
- Do not use foaming hand soap or any liquid solution to avoid the device from malfunctioning.
- Avoid placing this product in areas where it could become covered in water to avoid short circuits.
- If you will not be using the dispenser for an extended period of time, empty the container of gel.
- Store this product in a cool place away from direct sunlight or heat sources.
- Only use the dispenser when the unit and the gel compartment are thoroughly dry.
- Never try to dismantle the product yourself, or push objects of any kind into the products, as this may cause short circuits, which could result in a fire or electric shock.
- None of the components can be replaced or repaired by users.
PRODUCT SPECIFICATIONS
| Material: ABS Dimensions: Ø 22 x 15.5 x Ø 8.2cm Weight: 340 g Accessories: USB Type-C cable, refillable gel bottle Hand detection distance: 3 cm Pump flow: 3 levels 1/1,5/2 ml Pump drip: Gel only Accessories: Refillable gel tank Gel tank capacity: 160 ml Operating temperature: 0 – 50°C LED light: cold & warm lights Max lumen output: 10 lm International warranty: 1 year | Color temperature: Warm white 2900-3500 Cold white 6000-6500 Battery life: Up to 12 months, varies depending on usage conditions and settings Battery type: 18650 Li-ion battery Battery capacity: 2000 mAh Battery voltage: 3.7V Battery weight: 46 g Charging system: Type-C charging port Charging time: 3,5h Input: 5V-1A Output power: 2.9W |
125, Avenue des Champs-Elysées – 75008 Paris – FRANCE
All brands or product names are or may be trademarks of their respective owners.
Pictures and specifications are not contractual. Assembled in China.
Nexon-design.com
@Iexondesign![]()





















