![]()
16 McPherson Rd, Smeaton Grange NSW 2567
1300 00 2284
ABN 94 630 362 864
www.turnerhastings.com.au
[email protected]
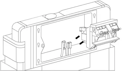
1

BACKSIDE
2

FRONT
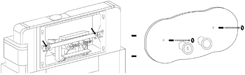
3

BACKSIDE
4

5

6

7

![]()
16 McPherson Rd, Smeaton Grange NSW 2567
1300 00 2284
ABN 94 630 362 864
www.turnerhastings.com.au
[email protected]
1

BACKSIDE
2

FRONT
3

BACKSIDE
4

5

6

7

Download manual
Here you can download full pdf version of manual, it may contain additional safety instructions, warranty information, FCC rules, etc.