Operating Instructions
Harrier Wobble
Clay target launcher![]()

Harrier Wobble Clay Target Launcher
WARNING
Clay target launchers can be dangerous and must be treated with great care at all times to avoid accidents.
Never place any bodily part into the path of any mechanical piecewhilst the machine is in motion or likely to be so.
You must treat a clay target launcher with the same caution that you would treat a loaded gun.
Assume at all times that a clay target launcher is armed and loaded and treat it accordingly
This document must be read in full before attempting to operate the machine
Preface:
Every effort has been made to ensure that the information contained within this man- ual is complete, accurate and up-to-date. Promatic International assumes no responsibility for errors beyond its control.
Please read this manual carefully before you attach the trailer to any vehicle, or attempt to use it on the shooting ground. It is a good idea when reading this manual, to study the actual trailer along with anyone else who may be using it. Properly used your Promatic Game Trailer will give you many years of safe & trouble free operation.
Conventions used within this manual:
Trap: The Clay target launchers fitted to the trailer – commonly known as clay traps and may be referred to in this manual as “The trap” or “The machine”
Warnings & Cautions:
Warning: This section contains instructions which, if ignored or carried out incorrectly, may result in risk of personal injury.
Caution: This section contains instructions which, if ignored or carried out incorrectly, may result in malfunction or damage to the equipment or consumables.
Note: This section contains additional information which the user may find useful, but is not essential to the operation of the product.
12v DC Power Source:
This Trap is designed to be powered from a 12v
DC battery. We recommend 85Ah (approx.)
leisure batteries. Promatic part no. E30V/LB85
IT MUST NEVER BE DIRECTLY CONNECTED TO MAINS AC POWER
![]()
EYE PROTECTION MUST BE WORN WHEN WORKING ON OR AROUND A CLAY TARGET LAUNCHER AS SMALL SHARP PIECES OF CLAY MAY BE EJECTED DURING NORMAL USE.
![]()
Specifications
| Carousel: | 250 birds |
| Length: | 1139mm (45”) |
| Width: | 1069mm (42”) |
| Height: | 893mm (35”) |
See note below.

Note that the Width dimension is the maximum extent of the sweep of the arm. The Height is measured with the trap set horizontal and the Length is measured with the throwing arm fully extended to the front. And the carousel tipped backwards. This will give the minimum size box that the trap will fit into.
Careful consideration needs to be given to the amount of space around the trap to enable access to all parts of the trap to easily facilitate cleaning and servicing. Special consideration should be given to the path of the throwing arm. The space between the throwing arm and the trap house walls should be such that it is enough to allow an operator to be outside the path of the throwing arm. Sufficient space to the rear of the trap must be allowed to give safe access to the control box.
During operation the trap will reposition itself to give different positions of target, therefore allowances need to be made for this movement.
Understanding your new trap

GENERAL WARNINGS – BEFORE OPERATING ANY TRAP
ALWAYS disarm the machine before any loading, adjustment or maintenance.
ALWAYS load clays from rear and ONLY if the machine is disarmed and safe.
NEVER approach the machine from the front or sides. ALWAYS from the rear.
NEVER allow children or untrained persons to approach or touch the machine.
NEVER move an armed/loaded machine. ALWAYS disarm and disconnect battery.
REMOVE the main throwing spring before transport in a vehicle.
BE AWARE of the fall zone of both broken and unbroken clays and that a change in wind direction will affect this.
Positioning the machine
- The Trailer must be situated on firm level ground in a position that will allow unrestricted access to rear of all the traps
- There must be no obstructions to the path of the throwing arms.
- Ensure that the control box is easily accessible without crossing the firing line of any traps and cables cannot become tangled in any part of the mechanism.
Ensure the machine is stable on firm level ground before use. This machine should be bolted to a solid base or the optional H Frame (which itself should be securely pegged) before use.
Connecting the battery
Ensure you are behind the machine, that the ARM/DISARM switch is in the OFF position and the trap in a safe condition (either disarmed or in safe mode). Connect the red cable to the Red (+) terminal and the black cable to the Black (-) Terminal. Ensure the terminal fasteners are tight, the battery is safely positioned and the charger has been removed.![]()
Never approach the machine from the front or sides, Do not assume the trap is safe, even without electrical power it may still be armed and can fire without power being applied.
Battery Troubleshooting
Trap fails to re-arm – If after a period of prolonged use the trap fails to re-arm itself and is found to be stalled (may also be making a humming sound) then this is an indication that the battery is depleted, and the voltage has fallen too low to operate the trap. Disconnect the battery immediately and re-charge (or fit a fully-charged replacement ).
A depleted battery may appear to have recovered if left unused. The trap should not be used any further than necessary to make it safe as continued operation of a depleted battery at low voltage may cause damage to the motor, battery, or other electrical components.
Circuit breaker has operated – The battery may have been incorrectly fitted (terminals reversed) or an excessive amount of current was drawn either due to a fault or obstruction within the trap. Check for obvious faults or obstructions and reset the circuit breaker. If the fault persists, seek advice from Promatic.
If the circuit breaker has tripped due to an obstruction DO NOT ASSUME THE TRAP IS SAFE. It may still be armed with the obstruction holding back the energy from the spring. If this is the case it will be safest to remove the spring. Carefully clear the obstruction whilst remaining in the safe area behind the trap. Be aware of the path
of the throwing arm AND the debris that may be ejected.
Transit Mode Procedure – This is recommended for machine transportation.
Warning: Stand at rear of machine only
- Disarm the machine by flicking the ARM/DISARM switch momentarily towards the DISARM position and immediately releasing (long enough for the trap to fire, but not giving the machine a chance to rearm). The throwing arm should be visible towards the front or side of the machine. The Gearbox block (A rectangular block attached to the gearbox shaft) should be in a position pointing towards the front of the machine. Push the ARM/DISARM switch momentarily in direction of DISARM/NUDGE just enough to allow the block to move slightly past the straight ahead position as seen in the diagram below. If the block has gone too far, follow this procedure again until the desired position is achieved.
- Isolate the control box to remove power from the machine.
- Adjust the spring to reduce the tension.
- The throwing arm can be pushed slowly, USING THE PALM OF THE HAND ONLY, around Anti-clockwise (Into the machine).
- As the throwing arm gets to the firing position (pointing directly to the back of the machine) the spring will take over, moving the arm onto the drive bolt on the Gearbox block. This will stop the arm and prevent it from firing. Further jogging should now see the throwing arm follow the drive bolt. If not, repeat the procedure but jog the gearbox block slightly further round before pushing the arm around (4). Once the arm is locked onto the drive pin disconnect the battery.
- This is TRANSIT MODE. The arm is now locked between the drive bolt and the one-way bearing within the trap, it cannot move or release again until power is applied and the ARM/DISARM switch operated.

Disarming the machine (Safe mode).
- To disarm the machine push the ARM/DISARM switch momentarily to the DISARM position and immediately release (long enough for the trap to fire, but not giving the machine a chance to rearm). The throwing arm should be visible towards the front or side of the machine.
- Turn the ON/OFF or switch (if fitted) to the OFF or position and dis- connect the battery.
Firing the machine (Ensure the range is clear at the front of the trap.)
- Turn the ON/OFF or switch (if fitted) to the ON or position and set the ARM/DISARM switch to the ARM/LOAD position. The machine will move automatically and arm itself ready to launch a loaded clay.
- Press the FIRE button on the command cable to throw a clay.
- The machine will fire every time the FIRE button is pressed and will automatical- ly rearm itself, until disarmed and switched off. When switched off, disconnect the power source.
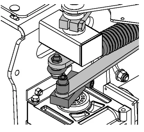
Adjustment: Setting up knife edges
Place a clay target on the top plate and slide it half way under the two knife edges.
Using a 10mm spanner/wrench, adjust the height of the inner and outer leading edge of each blade (Position A in bottom diagram). It is desirable to have no less than 0.5mm clearance between the underside of the knife blades and the horizontal shoulder of the clay.

It is also important that the knife edges have the correct clearance around the diameter of the clay and that they support the skirt of the clay resting on the knife edges for its entire travel along the knife edge. To set this, hold the clay against the inner two carousel bars and gently tap the inner knife edge until there is approximately 1mm clearance between the dome of the clay and the knife edge. Tighten fixing bolts. Now hold the clay against the two outer carousel bars. Again gently tap the outer knife edge until there is approx. 1mm clearance between the dome of the clay and the knife edge. Tighten fixing bolts.

ALWAYS disarm the machine before carrying out loading, adjustment or maintenance.
Adjustment: Spring Tension
Spring adjustment is always easier if the spring roller on the main shaft is at its rearmost position, this relieves the spring of a large proportion of it’s tension making adjustment much easier as well as reducing wear on the spring adjustment mechanism. To achieve this, first perform the transit Mode Procedure (see page 15) to put the machine into transit mode and then nudge forward until the throwing arm pro- jects forward from the front of the machine. At this point stop nudging and isolate the control box. Loosen the spring adjustment nut.
To increase the spring tension, move the Lock nut towards the coil spring and then tighten the Adjustment nut behind it. ?”
To reduce the spring tension, move the Adjustment nut away from the spring coil and tighten the lock nut behind it.

Important: leave 30mm (1 3/16”) thread length between inside nut and spring coil. Increasing spring tension up to full length of thread will seriously detriment the performance of the machine and will cause spring damage or failure.
Adjustment: Oscillation
DTL and ABT (Wobble) Models are fitted with an adjustable oscillation mechanism.
The width of the field in DTL mode can be adjusted by placing the rear bolt on the oscillation linkage in one of the alternative holes.
Disarm the trap and ensure it is safe to proceed, then using a 24mm spanner/wrench undo the bolt holding the connecting link into the Rotation disc, move to the desired hole and re-tighten.
Using a hole positioned further from the centre will give a greater spread of targets (wider field) Hole 6 (the one positioned on its own) gives the standard angles required for ATA disciplines.

Adjustment: Elevation
ABT (Wobble) Models are fitted with an elevation mechanism which has two predefined offsets, one with a small range, the other with a larger range.
Disarm the trap and ensure it is safe to proceed, then using a 24mm spanner/wrench undo the Elevation bolt holding the Elevation Crank into the Elevation disc, move to the desired hole and re-tighten.
Using a hole positioned further from the centre will give a greater vertical spread of targets.
Never approach the machine from the front or sides, Do not assume the trap is safe even without electrical power it may still be armed and can fire without power being applied.
ALWAYS disarm the machine before carrying out loading, adjustment or maintenance.
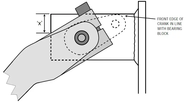
Adjustment: Throwing arm timing
- Perform the Transit mode operation. Press the nudge button and ensure that the throwing arm follows the gearbox block. If not, perform the transit mode operation again but take the gearbox block a little further round. Nudge the throwing arm until it points directly forward. This relieves the spring tension
- Note the position of the inside nut before removing the spring (as this determines the amount of spring tension set) then undo the rear nut and remove the spring from the trap.
- With the spring removed, rotate the throwing arm until the mainshaft crank is pointing towards the mainframe with the leading curve aligned with the front edge of the square bearing tube. Refer to the diagram below.
- Loosen the throwing arm clamp block bolt until the throwing arm will move around the mainshaft. Rotate the throwing arm clockwise (this is so the mainshaft is held by the one-way bearing and doesn’t move) until the throwing arm is positioned as in the diagram below, where X=15mm.
- Making sure both the mainshaft crank and the throwing arm are in the positions described, firmly tighten the throwing arm clamp block bolt. The arm timing is now complete.
- Replace the spring paying attention to the orientation of the hook (Open side inwards towards the frame).

ALWAYS disarm the machine before carrying out loading, adjustment or maintenance.
Troubleshooting
- Machine does not arm (i.e. come to the loaded position).
(a) Check the battery is charged and that connections are tight.
(b) Check the toggle switch is in the down (ON) position.
(c) Check that the Control box isolator is turned on.
(d) Check the Throwing arm is clear of the Roller switch under the Casting plate. If not, then press toggle up to nudge the Arm around until it is clear, then switch it back down to the ON position. - Machine still does not arm.
(a) Check all connections are tight including those inside the electrical box. Check for broken wires and damaged connections.
(b) If there are no broken connections (battery connected, all switches on) press toggle up to “NUDGE”, listen and watch for the 12v relay operation in the control box. (c) If the relay operates but the motor does not turn – momentarily short across the 2 large contacts on the relay with a screw driver or piece of wire. (These are the two terminals with red wires connected to them). If the motor does not turn – then the motor is suspect. If the motor does turn – then the relay is faulty. Contacts may be dirty or worn out.
(d) If the relay does not operate – check the fuse has not blown. Replace fuse if it has blown and try again.
(e) If the motor does not turn – then short the brown wire to the yellow/green wire on the back of the toggle switch with the switch in the “NUDGE” position. If the relay operates and the motor turns then the toggle switch is faulty. If the relay still does not operate, then it’s the relay that is faulty. - Machine runs in “NUDGE” position, but not in “ON” position.
If the arm is clear of the Roller Switch then the Roller Switch may be faulty. Check that the roller arm is not seized. If so, strip, clean and re-assemble. Otherwise replace the Roller Switch. - Machine arms, but will not fire on command cable button.
(a) Either the connections, cable or command push button are faulty. Disconnect the Hirschmann connector from the control
box socket and using a short piece of wire connect pins 2 & 3 in the socket (do not put anything into the other pin holes as one of these carries continuous +12vfor radio use.)
If the trap does not fire then there is a broken wire in the cable or a bad connection within the Hirschmann connector or control box.
(b) If the trap does fire then reconnect the command cable, remove the cover on the push button box and short across the two spade connectors. If the trap fires – then the push button is faulty. If the trap does not fire – then there is a broken wire in the command cable or a bad connection in the connector. - Trap fires by itself!
(a) Disconnect the command cable and switch the trap back on. If the trap re-arms normally – then the command cable is damaged or shorted out. Alternatively, the push button switch is stuck in or faulty.
(b) If the trap continues to fire – then check the arm to crank timing relationship as described on page 17 of this manual. If this relationship is correct then, after having put the trap into the disarmed/safe position, move the roller limit switch out along the slotted bracket to its maximum. If the machine now re-arms nor- mally – then move the limit switch back to within 5mm of its original position. If the trap now fires by itself again then move the switch to 10mm of its original position and so on until the trap arms normally under all conditions.
ALWAYS disarm the machine before any loading, adjustment or maintenance.
ALWAYS load clays from rear and ONLY if the machine is disarmed and safe.
NEVER approach the machine from the front or sides. ALWAYS from the rear.
NEVER allow children or untrained persons to approach or touch the machine.
NEVER move an armed/loaded machine.
ALWAYS disarm and isolate the control box.
BE AWARE of the fall zone of both broken and unbroken clays and that a change in wind direction will affect this.
For Service and Supplies contact your local Trap Supplier.
Follow Promatic on social media:
Subscribe to the Promatic newsletter. Browse to:
www.promatic.co.uk/Keep_In_Touch
Be sure to ask your supplier for Promatic Clays.
www.promatic.co.uk/all-products/clays
Spare Parts
For parts not listed please call Promatic or you local dealer / service agent or visit www.promatic.co.uk


Barclay Phelps CE Marking Consultants, 2918 City Mill Lane, Gibraltar 646, Europe
CERTIFICATE & DECLARATION OF CONFORMITY FOR CE MARKING
Company contact details:
Promatic International Ltd. Station Works, Hooton Road, Hooton, S Wirral, 01-166 7NF, United Kingdom Tel: +44(0)151 327 2220 Fax: +44(0)151 327 7075 e mail: [email protected]
Promatic International Ltd. declares that their:
Clay Target Launchers listed as the following models Elite, Hawk,Superhawk,Harrier,Harrier ABT/Wobble, Eagle, Eagle Battue, Falcon, Hobby / Merlin, Ranger 8, Osprey/All American Ranger, Ranger Battue, Ranger ABT/Wobble, Sporter 400TT, Sporter 400TT ABT/Wobble, Super Spoiler Battue, Super Spoiler, Super Sporter Downhill Thrower, Super Spoiler ABT/Wobble, Rabbit, Squirrel, Ranger Chondell, Chondell, Hunter Wobble, Huntsman, Huntsman XP, Fieldsman, Club Skeet, Pro Skeet, Int Skeet, Olympic Trap, Club 275 DTUATA, International DTUATA Pro ABT/Wobble, Auto Trap DTUATA/ABT/Wobble, International Doubles DTUATA/Wobble and Spoiler Doubles DTUATA/Wobble
are classified within the following EU Directives:
Machinery Directive 2006/42/EC Electromagnetic Compatibility Directive 2004/108/EC
and further conform with the following EU Harmonized Standards:
EN 12100-1:2003+A1:2009 EN 12100-2:2003+A1:2009 EN 61000-6-3:2007 EN 61000-6-1:2007 Dated: 19 April 2011
Position of signatory: Group Technical Director
Name of Signatory: Graham Stephen Fair
Promatic International Ltd.
Hooton Road
Hooton
South Wirral
CH66 7PA
United Kingdom
Tel: +44 (0) 151 327 2220 (General)
Fax: +44 (0) 151 3277075
E-mail [email protected]
Website: www.promatic.co.uk
Promatic Inc.
801, Mid America Drive,
Plattsburg.
MO 64477
USA
Toll Free: 888.767.2529
Fax: 816.539.0257
E-mail: [email protected]
Website: www.promatic.biz
Grouse Trailer
Version 1.4— February 2022



















