Vienna COFFEE LV143002 Coffee Grinder
INTRODUCTION

- Compact Design
- Easy to use
- Aluminium body
- Robust precision grinder of stainless steel
- With cleaning brush
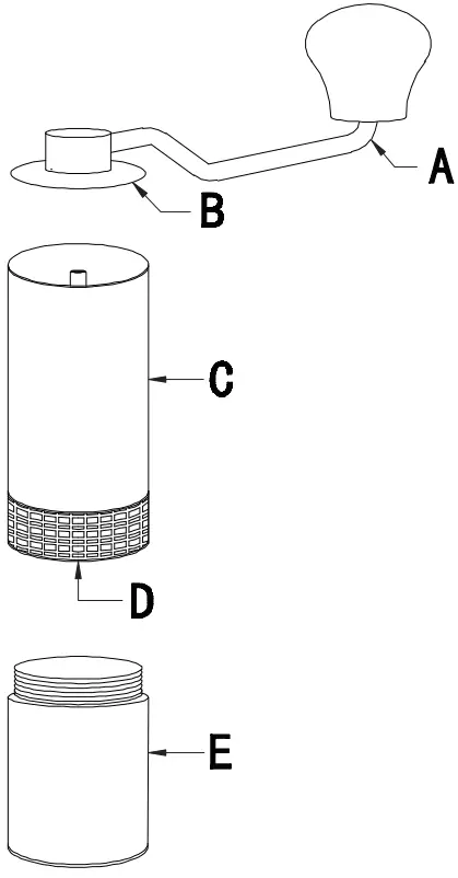
PRODUCT OVERVIEW

- A – Handle
- B – Lid
- C – Mill housing
- D – Grinder with grind adjustment
- E – Ground coffee container
Safety instruction
- The coffee grinder is only intended for grinding coffee not to be ground for others use products
- Always clean the grind with a brush or bellows. DO NOT clean with water!/ Maak de molen altijd schoon met de borstel of lucht. GEBRUIK GEEN water!
- The grinder cone is sharp – be careful – there is a risk of injury
- Keep out ofthe reach of children
- Only store the mill in dry rooms
- It is not allowed to make repairs to the mill yourself. It expires any guarantee or warranty.
Please contact your dealer or us directly/ Het is niet toegestaan de molen zelf te repareren. - It is not permitted to independently replace parts of the mill. Any guarantee is void or warranty. Please contact your dealer or us directly
- Our company is not responsible for any damage or injury caused by improper use
INSTALLATION INSTRUCTIONS
- Disassemble the ground coffee container

- Choose the grind level by turning the scale at the underside of the housing. Adjust accordingly

- Open the lid

- Enter the coffee beans (max. 25g)

- Close the lid and hold onto the grinder. Then turn the handle

- Your coffee powder is now ready to use

*To get extra fine coarse, turn the middle ring all the way to the right to tighten the grinder. For extra coarse grind, do this the otherway.
How to start with the right setting
- Turn clockwise for a finer grind
- Turn counter-clockwise for a coarser grind
- Rotate clockwise to the end – this position is the starting point
- From the starting point, you can easily select the desired degree of grinding:
o Espresso
o Filter coffee
o French press
3 -10 dots/standen
11- 20 dots/standen
21- 28 dots /standen - The grinds mentioned are only guide values. Please choose the grind size the best too suit your coffee enjoyment.
- Close the lid before setting the grinder.
- Never use the grinder in the range between 1 and 2 grids.
- Always grind clockwise. A counter-clockwise grind can do damage to the grinder.
CUSTOMER SERVICE
www.viennacoffee.nl
[email protected]
9723JG, Groningen

























