LG WCES6428F Combination Wall Oven
IMPORTANT SAFETY INSTRUCTIONS
READ ALL INSTRUCTIONS BEFORE USE
Safety Messages
Your safety and the safety of others are very important.
We have provided many important safety messages in this manual and on your appliance. Always read and follow all safety messages.
This is the safety alert symbol.
This symbol alerts you to potential hazards that can kill or injure you and others. All safety messages will follow the safety alert symbol and either the word
WARNING or CAUTION.
These words mean:
WARNING
You may be killed or seriously injured if you do not follow instructions.
CAUTION
You may be injured or cause damage to the product if you do not follow instructions.
All safety messages will tell you what the potential hazard is, tell you how to reduce the chance of injury, and tell you what may happen if the instructions are not followed.
WARNING
To reduce the risk of explosion, fire, death, electric shock, injury or scalding to persons when using this product, follow basic precautions, including the following:
Installation
- Never allow anyone to climb, sit, stand or hang on the oven door. Injury might result from contact with hot food or the oven itself.
- Do not line the oven walls, racks, bottom, or any other part of the oven with aluminum foil or any other material. Doing so will disrupt heat distribution, produce poor baking results and cause permanent damage to the oven interior (aluminum foil will melt to the interior surface of the oven).
- Do not use aluminum foil or any other material to line the oven bottom. Improper installation of oven liners may result in a risk of electric shock or fire.
- Make sure your appliance is properly installed and grounded by a qualified installer, according to the installation instructions. Any adjustment and service should be performed only by qualified installers or service technicians.
- Be certain that all packing materials are removed from the appliance before operating. Keep plastic, clothes, paper, and other flammable materials away from parts of the appliance that may become hot.
- The electrical power must be shut off while the electrical connections are being made.
- Improper connection of aluminum house wiring to copper leads can result in an electrical hazard or fire. Use only connectors designed for joining copper to aluminum and follow the manufacturer’s recommended procedure closely.
Before Installing
Proper Location and Dimensions
CAUTION
- The cabinet base platform must be able to support 202 lbs (92 kg) for this appliance. If the cabinet does not have a solid bottom, two braces or runners must be installed level with the bottom of the cutout to support the weight of the appliance. Make sure the base is level and the front of the cabinet is square. If the cabinet base is not level, the oven racks will tend to slide out when opening the door.
- Make sure the cabinets and wall coverings around the oven can withstand the temperature (up to 194 ℉ (90 ℃)) generated by the oven. Discoloration, delamination or melting may occur.
- DO NOT remove spacers 3 on the side walls of the built-in oven. These spacers center the oven in the space provided.The oven must be centered to prevent excess heat buildup that may result in heat damage or fire.
- Kitchen cabinets in contact with the oven must be heat resistant up to 194°F (90°C), and fronts of nearby units up to at least 158°F (70°C).
- The information in this manual should be followed exactly. Failure to do so could result in fire or electrical shock, causing property damage, personal injury or death.
- DO NOT put any weight on the oven door. Never allow anyone to climb, sit, stand or hang on the oven door. The oven could be tipped and injury might result from contact with hot food or the oven itself.
- DO NOT block the oven air exhaust located at the bottom of the oven. Blocking the exhaust may cause cabinet damage and product malfunction.
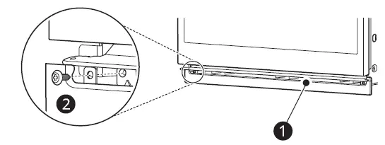
- The junction box 1 a must be flush with the conduit opening 2 of the cabinet as shown below.
- Allow at least a 23″ clearance for the door depth when it is open.
- Do not remove the gliding racks from the base packing. Gliding racks are attached separately to the top and bottom of the oven.
NOTE
- If marks, blemishes or the cutout opening are visible above the installed appliance, it may be necessary to add wood shims under the runners and front trim until the marks or opening are covered.
- If the cabinet does not have a front frame and the sides are less than 3/4” (1.9 cm) thick, shim both sides equally to establish the cutout width.
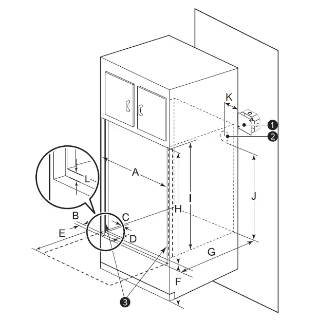
Dimensions and Clearances
Measure the current cutout dimensions and compare them to the cutout dimensions shown below. Little or no cabinet work may be necessary.
| List | Dimensions | |
| A | Height | 43 13/16″ (111.3 cm) |
| B | Width | 29 3/4″ (75.5 cm) |
| C | Depth | 23 3/8″ (59.3 cm) |
| D | Height (standard installation) | 43 3/16″ (109.7 cm) |
| E | Height (power cord) | 25 7/8″ (65.6 cm) |
| F | Length (power cord) | 60″ (152.4 cm) |
| G | Width (standard installation) | 28 7/16″ (72.2 cm) |
| H | Cabinet width | 30″ (76.2 cm) |
| I | Overlap of oven | 1″ (2.5 cm) |
| J | Cutout width | 28 1/2″ Min. (72.4 cm) 28 5/8″ Max. (72.7 cm) |
| K | Depth of open door | 23″ (58.4 cm) |
| L | Cutout location from floor | 12″ (30.5 cm) |
| M | Cutout depth | 24″ Min. (61.0 cm) |
| N | Cutout height | 43 7/16″ Min. (110.3 cm) 43 1/2″ Max. (110.5 cm) |
| O | Height of conduit opening from floor of cutout | 39 27/32″ (101.2 cm) |
| P | Distance of conduit opening from side of cabinet | 5″ (12.7 cm) |
Cutout Dimensions (Flush)
| a Junction box | b Conduit opening | c Cleat (Spacer) |
| List | Dimensions | |
| A | Cutout width | 30″ (76.2 cm) |
| B | Cleat (spacer) inset from front of cabinet | 1 3/8″ (3.5 cm) |
| C | Cleat (spacer) width | 3/16″ (0.5 cm) |
| D | Cleat (spacer) depth | 1″ (2.5 cm) |
| E | Depth of open door | 23″ (58.4 cm) |
| F | Bottom of cutout from floor | 12” (30.5 cm) |
| G | Cutout depth | 25″ (63.5 cm) |
| H | Cutout height | 44″ (111.8 cm) |
| I | Cleat (spacer) height | 43 13/16″ (111.3 cm) |
| J | Height of conduit opening from floor of cutout | 39 7/8″ (101.2 cm) |
| K | Distance of conduit opening from side of cabinet | 5″ (12.7 cm) |
| L | Bottom of bottom decorative trim to vent opening | 3/4″ (1.9 cm) |
When Installing Flush Cabinet
- The provided cover brackets are only used for flush cabinet installations.
- Remove one screw from the left and right sides as shown. These screw holes will be used to mount the cover brackets. Install the cover brackets on the sides of the oven with the provided self-tapping screws.

Parts / Tools
WARNING
- Mounting screws must be used. Failure to do so can result in the oven falling out of the cabinet causing serious injury.
Parts Provided
- 4X14 6 Wood screws for mounting (4 needed for installation and 2 extras)
- 4X24 6 Wood screws for mounting (for flush installation)
- 4X22 2 Self-tapping screws for cover bracket
- 2 Cover brackets for flush installation
- 4X10 2 Screws for bottom decorative trim
- Bottom decorative trim
Parts Not Provided
- Junction Box
- Wire Nuts
- 3/4” Conduit Connector d 36” (91 cm) of String
Tools Needed
- Phillips screwdriver
- Flat-blade screwdriver
- Tape measure
- Pliers
- Drill
- Gloves
NOTE
- Observe all governing codes and ordinances.
- Have the installer show you the location of the circuit breaker or fuse. Mark it for easy reference.
- As when using any appliance generating heat, there are certain safety precautions you should follow.
- Be sure your appliance is installed and grounded properly by a qualified installer or service technician.
Installing the Oven and Test Run
Unpacking and Removing Oven Doors
WARNING
- Keep packing materials out of the reach of children. Packaging material can be dangerous for children. There is a risk of suffocation.
- You should use two or more people to move and install the appliance. (Excessive Weight Hazard) Failure to do so can result in back or other injury.
- Do not use the door handles to push or pull the appliance during installation or when moving the appliance out for cleaning or service. Doing so can result in serious damage to the door of the appliance.
- To reduce the risk of burns, do not move this appliance while it is hot.
NOTE
- To remove any remaining tape or glue, rub the area briskly with your thumb. Tape or glue residue can also be easily removed by rubbing a small amount of liquid dish soap over the adhesive with your fingers. Wipe with warm water and dry.
- Do not use sharp instruments, rubbing alcohol, flammable fluids, or abrasive cleaners to remove tape or glue. These products can damage the surface of your appliance.
- Door removal is not a requirement for installation of the oven, but is an added convenience.
Unpacking Materials
Remove any packing material from the oven before installing the oven.
- Remove all tape from around the oven.
- Open the oven door and remove packaging materials and oven racks inside the oven.
Removing Lower Oven Door
- Fully open the door.
- Unlock the hinge locks, rotating them as far toward the open door frame as they will go.

- Slot
- Hinge lock
- Hinge arm
- Firmly grasp both sides of the door at the top.
- Close the door to the removal position (approximately five degrees 4) which is halfway between the broil stop position and fully closed. If the position is correct, the hinge arms will move freely.

- Lift door up and out until the hinge arm is clear of the slot.
- Place the oven on a table or platform even with the cutout opening. The table or platform must support 202 lbs (92 kg) for a combination wall oven.
NOTE
- Use two hands to remove lower oven door.
- Do not lift the door by the handle. The oven door is very heavy. Firmly grasp the door by the sides before lifting it off the hinges.
- Do not lay the oven door on its handle. Doing so may cause dents or scratches.
Electrical Requirements
Ensure that dedicated circuit protection is prepared as recommended and that the appliance is grounded properly.
This wall oven must be electrically grounded in accordance with local codes or, in their absence, with the National Electrical Code ANSI/NFPA
No.70- latest edition* in United States, or with CSA Standard C22.1-1982 and C22.2 No.01982 (or latest edition)**, Canadian Electrical Code, Part1, and all local codes and ordinances. All wiring should conform to Local and NEC codes. This appliance requires a single-phase, 3 wire, A.C 120/208 V or 120/240 V 60 Hz electrical system. Use only a 3-conductor or a 4-conductor UL – listed cord with closed-loop terminals, open-end spade lugs with upturned ends or similar termination. Do not install the power cord without a strain relief. A built-in oven can consume up to 7,800 W at 240 VAC. A 50 Amp circuit breaker with wire gauge #8 AWG must be used.
WARNING
- Do Not ground to a gas pipe.
- Do Not have a fuse in the neutral or grounding circuit.
- A U.L.-listed conduit connector must be provided at the junction box.
- The appliance must be hard wired (direct wired) into an approved junction box. A plug and receptacle is not permitted on these products.
- DO NOT shorten the flexible conduit. The conduit connector must be securely attached to the junction box and the flexible conduit must be securely attached to the conduit connector. If the flexible conduit will not fit within the connector, do not install the oven until a connector of the proper size is obtained.
NOTE
- The power leads supplied with the appliance are UL, CSA recognized for connection to larger gauge household wiring. The insulation of these leads is rated at temperatures much higher than the temperature rating of household wiring. The current carrying capacity of the conductor is governed by the wire gauge and the temperature rating of the insulation around the wire.
- You will need to purchase an appropriate conduit connector to complete the connection of the conduit to the junction box.
Making Electrical Connections
WARNING
- New branch-circuit installations (1996 NEC), mobile homes, recreational vehicles, or installations where local codes prohibit grounding through the neutral conductor require 4-wire branch-circuit connection.
- Improper connection of aluminum house wiring to copper leads can result in an electrical hazard or fire. Use only connectors designed for joining copper to aluminum and follow the manufacturer’s recommended procedure closely.
- Turn off the circuit breaker or remove fuses to the oven branch circuit.
- With the oven positioned directly in front of the cabinet opening, connect the flexible conduit to the electrical junction box. Position the conduit in such a manner that it will lie on top of the oven in a natural loop when the oven is installed.
- If local codes permit connection of the frame grounding conductor to the neutral (white) wire, follow the instructions for a 3-wire circuit connection.
- If used in mobile homes or new construction, or a recreational vehicle, or local codes do not permit connection of the frame grounding conductor to the neutral (white) wire, follow the instructions for a 4-wire circuit connection.
3-Wire Connection from Home Power Supply
WARNING
- The middle (neutral or ground) wire, which is white, of a 3-wire power cord or a 3-wire conduit has to be connected to the middle post of the main terminal block. The remaining two wires of the power cord or conduit have to be connected to the outside posts of the main terminal connection block. Failure to do so can result in electrical shock, severe personal injury or death.

- Cable from home power supply
- Black wires
- White wires
- Red wires
- Green (or bare) ground wires
- 4-wire flexible conduit from oven
- Connect the oven ground (green) wire and neutral (white) wire to the branch circuit neutral (white or gray) wire, using a wire nut.
- Connect the oven red wire to the branch circuit red (L2) wire in accordance with local codes, using a wire nut.
- Connect the oven black wire to the branch circuit black (L1) wire in accordance with local codes, using a wire nut.
- Install the junction box cover.
4-Wire Connection from Home Power Supply
WARNING
- Only a 4-conductor power-supply cord kit rated 120/240 volts, 50 amperes and marked for use with ranges with closed-loop connectors or open spade lugs with upturned ends shall be used. The white middle (neutral) wire of the power cord or 4-wire conduit has to be connected to the middle post of the main terminal block. The other two wires of the power cord or conduit have to be connected to the outside posts of the main terminal connection block. The 4th ground wire (green) must be connected to the frame of the oven with the ground screw. Failure to do so can result in electrical shock, severe personal injury or death.

- Cable from home power supply
- Black wires
- White wires
- Red wires
- Green (or bare) ground wires
- 4-wire flexible conduit from oven
- Separate the oven ground and white wires if necessary.
- Connect the oven ground (green) wire to the branch circuit ground (green) wire in accordance with local codes, using a wire nut.
- Connect the oven white wire to the branch circuit neutral (white or gray) wire in accordance with local codes, using a wire nut.
- Connect the oven red wire to the branch circuit red (L2) wire in accordance with local codes, using a wire nut.
- Connect the oven black wire to the branch circuit black (L1) wire in accordance with local codes, using a wire nut.
- Install the junction box cover.
Installing Oven and Assembling Oven Doors and Bottom Decorative Trim
Installing the Oven
Install the oven into the cabinet as follows:
- Use caution when lifting the oven and wear gloves to protect hands from any sharp edges.
- Use two or more people to lift or move the oven into the cabinet opening.
- Loop (do not tie) a 36” (91 cm) string around the conduit before the oven is slid into place. Lay the string over the top of the oven and use it to keep the conduit from falling behind the oven.
- Lift oven into cabinet cutout using the oven opening as a grip. Carefully push against the oven front frame. Do not push against outside edges.
- While sliding the oven back, pull the string so that the conduit lies on the top of the oven in a natural loop.
- When you are sure the conduit is out of the way, slide the oven 3/4 way back into the opening. Remove the string by pulling on one end of the loop.
- Secure the oven.
- Using the mounting holes a on the oven side trim as a guide, drill pilot holes for screws provided. (For securing the oven, use a minimum of 4 screws, one on each side in both the upper and lower ovens.)

- Secure the oven to the cabinet with screws provided. If the cabinet is particle board, you must use 3/4” particle board screws.
These may be purchased at any hardware store.
- Using the mounting holes a on the oven side trim as a guide, drill pilot holes for screws provided. (For securing the oven, use a minimum of 4 screws, one on each side in both the upper and lower ovens.)
Assembling Oven Doors
- Firmly grasp both sides of the door at the top.
- With the door at the same angle as the removal position, seat the indentation 3 of the hinge arms 1 into the bottom edge of the hinge slots 2. The notch in the hinge arms must be fully seated into the bottom edge of the slots.

- Open the door fully. If the door will not open fully, the indentation is not seated correctly in the bottom edge of the slots.
- Lock the hinge locks 4, rotating them back toward the slots in the oven frame until they lock.

- Close the oven door.

- Bottom vent trim
NOTE
- When you install the oven door, be careful not to bump the bottom vent trim.
- Keep oven vents unobstructed. Replace the bottom vent trim if it becomes bent or deformed. Never block the vent with plastic or heat-sensitive items.
Assembling the Bottom Decorative Trim
- Bottom decorative trim
- After installing the oven in the cabinet, assemble bottom decorative trim with 2 screws 2 (4X10).
Test the Oven Before Use
Each of the functions has been factory checked before shipping. However, it is suggested that you verify the operation of the oven once more. Refer to the Owner’s Manual. Follow the instructions for the basic check.
- Turn on power supply. The initial signal sound is heard and the Clock segment appears in the display.
NOTE
- Depending on the model, some of the following functions may not be available.
Common
- Turn on the power supply. The initial signal sound will be heard.
- Check the operation of the broil mode.
- When the oven is set to broil, the upper element in the oven should become red. After a few minutes, partially open the oven door. You should feel heat from the oven. Touch Stop.
- Check the operation of the convection bake mode.
- After setting the oven to 350 ℉ / 177 ℃ for convection baking, the fan inside the oven should come on with the door closed. Touch Stop.
- Check the operation of the bake mode.
- After setting the oven to 350 ℉ / 177 ℃ for baking, the temperature of the oven in the display should increase. Touch Stop.
- Turn on and off the oven light to check that the lights are in normal condition.
Upper Oven
- Place a glass bowl filled with water in upper oven.
- Turn the microwave on for 1 minute. The water should be hot.
- Touch Stop.
Lower Oven
- Check the operation of the burner for each convection mode.
- After setting the oven to 350 ℉ / 177 ℃ for each convection mode, the back element should light up and the fan inside the oven should come on with the door closed.
NOTE
- A small amount of smoke and odor may be noticeable during the initial break-in period.
- If the oven does not operate properly or an F-, followed by a number, appears in the display, see the Owner’s Manual for the troubleshooting list. The list includes common occurrences that are not the result of defective workmanship or materials in this product. If the problem occurs continuously, contact the dealer.
- Refer to the warranty in the Owner’s Manual for the LG toll-free service number and address.




























