Network Bullet Cameras
Quick Guide

Vl.02
Waterproof Requirements
Please waterproof cables in accordance with the following instructions. User shall assume all responsibility for device damage caused by water due to improper waterproof measures.
NOTE!
the cables that you don’t use.
- Please use self-adhesive waterproof tape (supplied with some products) to protect the cables.
- Use waterproof components to protect the network cable. Waterproof the power cable separately if you don’t use it. The video cable does not need waterproof treatment.
1. Use insulation tape (not included in the package) to insulate the connection part of each cable.

2. Waterproof the cables with self-adhesive waterproof tape.
(1) Fully stretch the waterproof tape at both ends.
(2) Wrap the connection part and the cable ends tightly with waterproof tape.
Make sure the tape is fully stretched during the process.
(3) Tighten the tape at both ends to prevent water leakage.

Wrap the used cables separately

Wrap the unused cables together into a bundle
3. Install the supplied waterproof components to the network cable in sequence.

CAUTION!
You need to mount the rubber ring onto the network cable interface first.
4. If your camera has a DC cable and you will not use it, insert the plug into the interface.

5. (Optional) After the waterproof treatment is completed, put the cables into a waterproof junction box (purchased separately).
CAUTION!
- Restore and fasten the device after dismounting.
- Place the power adapter in a power distribution box.
1 Packing List
Contact your local dealer if the package is damaged or incomplete. The package contents may vary with device model.
| No. | Name | Qty | Unit |
| 1 | Camera | 1 | PCS |
| 2 | User manual | 1 | Set |
| 3* | Accessory pack | 1 | Set |
2 Safety Instructions
Installation and removal of the unit and its accessories must be carried out by qualified personnel. You must read all of the safety instructions before installation and operation.
2.1 Precautions
- Use a power adapter or a PoE device that meets requirements. Otherwise, the device may be damaged.
- Make sure the length of the power cable between the power adapter and the camera is not too long, otherwise the voltage of the camera is lowered, causing the camera to work abnormally. If it is required to lengthen the power cable, lengthen the cable between the power adapter and the mains.
- Do not overbend the cables during the installation, otherwise, poor cable contact may cause malfunction.
- When connecting to an external interface, use an existing connection terminal, and ensure that the cable terminal (latch or clamp) is in good condition and properly fastened. Ensure that the cable is not tense during mounting, with a proper margin reserved to avoid poor port contact or loosening caused by shock or shake.
- During transportation, special attention is required to protect the transparent dome cover from friction, scratch and stain, etc. Do not remove the protective film from the cover until mounting is finished. Remove the protective film before powering on the device.
- Contact professionals for maintenance information. Do not attempt to dismantle the device by yourself. We shall not assume any responsibility for problems caused by unauthorized repair or maintenance.
2.2 Maintenance
- If there is dust on the front glass surface, remove the dust gently using an oil-free brush or a rubber dust blowing ball.
- If there is grease or a dust stain on the front glass surface, clean the glass surface gently from the center outward using anti-static gloves or an oil-free cloth. If the grease or the stain still remains, use anti-static gloves or an oil-free cloth dipped with detergent and clean the glass surface gently until it is clean.
- Do not use organic solvents (such as benzene and alcohol) to clean the transparent dome cover.
3 Appearance
3.1 Dimensions
The following figure shows device dimensions. The appearance may vary with device model.


3.2 Cables
The appearance and tail cable may vary with device model.

NOTE!
- For specifications, see the latest product datasheets.
- Press and hold the RESET button for at least 15 seconds to restore factory default settings. Perform this operation within 10 minutes after the device is powered on or the reset will fail otherwise.
4 Mount Your Camera
4.1 (Optional) Insert the Micro SD Card
Forcameras that support Micro SD, you need to insert the Micro SD card after opening the bottom cover of camera. Do not hot plug the Micro SD card after it is inserted. Otherwise the camera or the SD card might be damaged.
For recommended SD card specifications, please contact your dealer or technical support.
1. Loosen the cross-recessed screws to open the bottom cover.

2. Insert the Micro SDcard.

4.2 Wall Mount
You can adopt wall mount or ceiling mount and purchase hardware accessories by yourself. The following part takes wall mount as an example. Ceiling mount is similar to wall mount and therefore is omitted here.
1. Locate the positions of the holes.
1 Paste installation positioning stickers on the wall and align the cross center to the hole in the wall.

2 Lead the cables across the hole on the wall.
2. Drill holes on the wall.
1 Use a Ø6-6.5mm drill bit.

2 Drill 30 mm-depth guide holes according to the positions marked by stickers.
3. Mount the plastic rivets of self-tapping screws.
Knock the plastic rivets into the guide holes and ensure that they are tightened up.

4. Screw the locknut to loosen the universal joint before attaching your camera to the wall.
5. Mount your camera onto the wall and connect all cables.

Lead tapping screwsthrough the guide holes in the base and fix them on the wall by using a screwdriver.
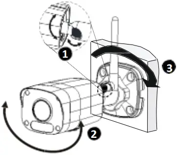
6. Attach the rubber sheath to the antenna.

7. Rotate the antenna to the antenna interface according to clockwise direction.

8. Adjust the monitoring direction.

1 Adjust the opening of the universal joints as required.
2 Rotate the spherical hinge of the camera to get the desired monitoring direction.
3 Tighten the locknut.
9. Power on your camera and adjustimages.
NOTE!
The preceding installation process is for concealed installation, during which holes are punched on the wall and cables are penetrated into the wall. If open installation is adopted, cables are not penetrated into the wall but threaded out from the outlet on one side of the base.
5 Access Your Camera
- Open your Web browser, enter the camera’s IP address in the address bar, and then press Enter. The default IP is 192.168.1.13(subnet mask is 255.255.255.0).
- In the login page, enter the default username and password(admin/123456), then click Login.
NOTE!
- DHCP is enabled by default. If a DHCP server is used in your network, your camera may be assigned an IP address, and you need to use the assigned IP address to log in.
- You may need to install a plug-in at your first login. Please follow the on-screen instructions to complete the installation and then open the browser again to log in.
- The default password is intended only for your first login. To ensure security, please change the password after your first login. You are strongly recommended to set a strong password of at least nine characters including all three elements: digits, letters and special characters.
- If the password has been changed, please use the new password to log in.
About This Manual
- This manual is intended for multiple product models, and the photos, illustrations, descriptions, etc, in this manual may be different from the actual appearances, functions, features, etc, of the product.
- This manual is intended for multiple software versions, and the illustrations and descriptions in this manual may be different from the actual GUI and functions of the software.
- Despite our best efforts, technical or typographical errors may exist in this manual. cannot be held responsible for any such errors and reserves the right to change the manual without prior notice.
- Users are fully responsible for the damages and losses that arise due to improper operation.
- reserves the right to change any information in this manual without any prior notice or indication. Due to such reasons as product version upgrade or regulatory requirement of relevant regions, this manual will be periodically updated.
Disclaimer of Liability
- To the extent allowed by applicable law, in no event will be liable for any special, incidental, indirect, consequential damages, nor for any loss of profits, data, and documents.
- The product described in this manual is provided on an “as is” basis. Unless required by applicable law, this manual is only for informational purpose, and all statements, information, and recommendations in this manual are presented without warranty of any kind, expressed or implied, including, but not limited to, merchantability, satisfaction with quality, fitness for a particular purpose, and non infringement.
- Users must assume total responsibility and all risks for connecting the product to the Internet, including, but not limited to, network attack, hacking, and virus. strongly recommends that users take all necessary measures to enhance the protection of network, device, data and personal information. disclaims any liability related thereto but will readily provide necessary security related support.
- To the extent allowed by applicable law, in no event shall total liability to you for all damages for the product described in this manual (other than as may be required by applicable law in cases involving personal injury) exceed the amount of money that you have paid for the product.
Network Security
Please take all necessary measures to enhance network security for your device.
The following are necessary measures for the network security of your device:
- Change default password and set strong password: You are strongly recommended to change the default password after your first login and set a strong password of at least nine characters including all three elements: digits, letters and special characters.
- Keep firmware upto date: It is recommended that your device is always upgraded to the latest version for the latest functions and better security. Visit official website or contact your local dealer for the latest firmware.
The following are recommendations for enhancing network security of your device:
- Change password regularly: Change your device password on a regular basis and keep the password safe. Make sure only the authorized user can log in to the device.
- Enable HTTPS/ SSL: Use SSL certificate to encrypt HTTP communications and ensure data security.
- Enable IP address filtering: Allow access only from the specified IP addresses.
- Minimum port mapping: Configure your router or firewall to open a minimum set of ports to the WAN and keep only the necessary port mappings. Never set the device as the DMZ host or configure a full cone NAT.
- Disable the automatic login and save password features: If multiple users have access to your computer, it is recommended that you disable these features to prevent unauthorized access.
- Choose user name and password discretely: Avoid using the username and password of your social media, bank, email account, etc, as the username and password of your device, in case your social media, bank and email account information is leaked.
- Restrict user permissions: If more than one user needs access to your system, make sure each user is granted only the necessary permissions.
- Disable UPnP: When UPnP is enabled, the router will automatically map internal ports, and the system will automatically forward port data, which results in the risks of data leakage. Therefore, it is recommended to disable UPnP if HTTP and TCP port mapping have been enabled manually on your router.
- SNMP: Disable SNMP if you do not use it. If you do use it, then SNMPv3 is recommended.
- Multicast: Multicast is intended to transmit video to multiple devices. If you do not use this function, it is recommended you disable multicast on your network.
- Check logs: Check your device logs regularly to detect unauthorized access or abnormal operations.
- Physical protection: Keep the device in a locked room or cabinet to prevent unauthorized physical access.
- Isolate video surveillance network: Isolating your video surveillance network with other service networks helps prevent unauthorized access to devices in your security system from other service networks.
Learn More
You may also obtain security information under Security Response Center at official website.
Safety Warnings
The device must be installed, serviced and maintained by a trained professional with necessary safety knowledge and skills. Before you start using the device, please read through this guide carefully and make sure all applicable requirements are met to avoid danger and loss of property. Storage, Transportation, and Use
- Store or use the device in a proper environment that meets environmental requirements, including and not limited to, temperature, humidity, dust, corrosive gases, electromagnetic radiation, etc.
- Make sure the device is securely installed or placed on a flat surface to prevent falling.
- Unless otherwise specified, do not stack devices.
- Ensure good ventilation in the operating environment. Do not cover the vents on the device. Allow adequate space for ventilation.
- Protect the device from liquid of any kind.
- Make sure the power supply provides a stable voltage that meets the power requirements of the device. Make sure the power supply’s output power exceeds the total maximum power of all the connected devices.
- Verify that the device is properly installed before connecting it to power.
- Do not remove the seal from the device body without consulting first. Do not attempt to service the product yourself. Contact a trained professional for maintenance.
- Always disconnect the device from power before attempting to move the device.
- Take proper waterproof measures in accordance with requirements before using the device outdoors.
Power Requirements
- Install and use the device in strict accordance with your local electrical safety regulations.
- Use a UL certified power supply that meets LPS requirements if an adapter is used.
- Use the recommended cordset (power cord) in accordance with the specified ratings.
- Only use the power adapter supplied with your device.
- Use a mains socket outlet with a protective earthing (grounding) connection.
- Ground your device properly if the device is intended to be grounded.
Battery Use Caution
- When battery is used, avoid:
• Extremely high or low temperature and air pressure during use, storage and transportation.
• Battery replacement. - Use the battery properly. Improper use of the battery such as the following may cause risks of fire, explosion or leakage of flammable liquid or gas.
• Replace battery with an incorrect type.
• Dispose of a battery into fire or a hot oven, or mechanically crushing or cutting of a battery. - Dispose of the used battery according to your local regulations or the battery manufacturer’s instructions.
Regulatory Compliance
FCC Statements
This device complies with Part 15 of the FCC Rules. Operation is subject to the following two conditions: (1) this device may not cause harmful interference, and (2) this device must accept any interference received, including interference that may cause undesired operation.
Caution: The user is cautioned that changes or modifications not expressly approved by the party responsible for compliance could void the user’s authority to operate the equipment.
NOTE: This equipment has been tested and found to comply with the limits for a Class B digital device, pursuant to part 15 of the FCC Rules. These limits are designed to provide reasonable protection against harmful interference in a residential installation. This equipment generates, uses and can radiate radio frequency energy and, if not installed and used in accordance with the instructions, may cause harmful interference to radio communications. However, there is no guarantee that interference will not occur in a particular installation. If this equipment does cause harmful interference to radio or television reception, which can be determined by turning the equipment off and on, the user is encouraged to try to correct the interference by one or more of the following measures:
–Reorient or relocate the receiving antenna.
–Increase the separation between the equipment and receiver.
–Connect the equipment into an outlet on a circuit different from that to which the receiver is connected.
–Consult the dealer or an experienced radio/TV technician for help.
RF Radiation Exposure Statement:
This equipment complies with FCC radiation exposure limits set forth for an uncontrolled environment. This equipment should be installed and operated with a minimum distance of 20cm between the radiator and any part of your body.
IC Statements
This device complies with Industry Canada licence-exempt RSS standard(s). Operation is subject to the following two conditions:
(1) this device may not cause interference, and
(2) this device must accept any interference, including interference that may cause undesired operation of the device.
This equipment complies with RSS-102 radiation exposure limits set forth for an uncontrolled environment. This equipment should be installed and operated with minimum distance 20cm between the radiator & your body.
LVD/ EMC Directive
This product complies with the European Low Voltage Directive 2014/35/EU and EMC Directive 2014/30/EU, 2014/53/EU.
WEEE Directive-2012/ 19/ EU
The product this manual refers to is covered by the Waste Electrical& Electronic Equipment (WEEE) Directive and must be disposed of in a responsible manner.
Battery Directive-2013/ 56/ EC
Battery in the product complies with the European Battery Directive 2013/56/EC. For proper recycling, return the battery to your supplier or to a designated collection point.















