DELL MSA20 Single Monitor Arm

Introduction
Simple to install With this Dell Single Monitor Arm – MSA20, assembly, and installation is essentially tool-free. The Dell UltraSharp or P-series monitor may be quickly and easily mounted to the arm using Dell Quick Release. Additionally, you can have full system mounting choices for the monitor and select Dell OptiPlex Micro, Ultra, and Wyse systems to organize your workspace. quickly deploy For a thorough monitor arm deployment across several brands, use a common VESA mount with Dell E-series monitors and other panels. Precision deployment is provided via a balancing indicator on the side of the arm, allowing identical tension settings to be adjusted across several similar monitors. Tidy, uncluttered desk The cable management slot has cable clamps and can hold up to 10 cords, providing the highest level of organization. Even the Allen key that comes with it can be stored neatly under the lid so you always have it on hand. tiny footprint This single monitor arm has a modest footprint and can support displays that range in size from 19 inches to 38 inches.
The clamp supports a 2-inch grommet hole, taking up minimal space on your desk, or you can use the C-clamp on a convenient edge. Adaptive smart swivel The world’s first monitor arm that offers swivel angle adjustment with the flick of a button allows you to quickly adjust your monitor for maximum productivity and comfort. The Dell swivel switch prevents overhang or over-rotation, enabling you to adjust the arm’s angle to 180° or 360° without removing it. adaptability, and flexibility It’s simple to make sure that each workstation is correctly configured for the user thanks to features like pivot, tilt, depth, swivel, and height adjustment.
What’s in the box
- Dell Single Monitor Arm – MSA20
- Dell VESA Adapter Plate
- Allen key
- Documentation
VESA Adapter Plate for Dell E-series Monitors
Parts

Simple to install
With this Dell Single Monitor Arm – MSA20, assembly, and installation are essentially tool-free. The Dell UltraSharp or P-series monitor may be quickly and easily mounted to the arm using Dell Quick Release. Additionally, you can have full system mounting choices for the monitor and select Dell OptiPlex Micro, Ultra, and Wyse systems to organize your workspace.
Adaptive smart swivel
Utilize a monitor arm that offers swivel angle adjustment with the flick of a switch to quickly adjust your monitor for maximum comfort and productivity. The Dell swivel switch prevents overhang or over-rotation, enabling you to adjust the arm’s angle to 180° or 360° without removing it.
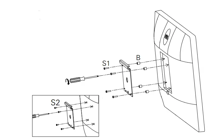
How To Mount Back Stand

Adjustment of Stand

Fitting Of Screws

Frequently Asked Questions
The highest position of the arm to hold the monitor is 19.2 inches. The monitor’s height depends on the size of the monitor.
Yes, this Mounting Arm supports LG38WN95c-W 38″ ultrawide monitor.
The flat base is built with metal.
Dell Single Monitor Arm – MSA20 supports 19 to 38-inch monitors weighing between 4.8 to 22.0 lbs. (2.2 to 10.0kg), Dell U2720Q is a 27-inch monitor weighing under the supportive range. (Weight with stand assembly and cables 6.6 kg (14.55 lb)
This monitor arm does not come with a Mini-PC mount in the box. This has been designed for and tested only with monitors and Dell mini-PC. The arm will not hold the MacBook.
Dell Single Monitor Arm – MSA20 comes with a Dell VESA Adapter plate and uses a standard VESA mount with screens for a comprehensive monitor arm deployment across multiple brands. A counterbalance indicator on the side of the arm delivers precision deployment, allowing identical tension settings to be set across numerous similar monitors.
Yes, this monitor arm supports mounting the monitor in a vertical position.
This monitor arm is not compatible with the AW3418DW monitor.
Dell Single Monitor Arm – MSA20 is compatible with 19 to 38-inch monitors weighing between 4.8 to 22.0 lbs. (2.2 to 10.0kg). Use standard VESA mount with screens for a comprehensive monitor arm deployment across multiple brands. A counterbalance indicator on the side of the arm delivers precision deployment, allowing identical tension settings to be set across numerous similar monitors.
The length of the mounting interface is 100 x 100 mm.
Will depend on how thick and strong your Glas is. The further you extend the monitor forward the bigger force on your glass
This mounting arm supports only a 100 x 100 mm mounting interface.
Yes, the monitor arm’s rotation angle is -90° to 90°.
Yes, this monitor arm will fit the Dell S3222HG gaming monitor.
Download PDF Link: DELL-MSA20-Single-Monitor-Arm-



















