Operating instructions
4-channel receiver 2.4 GHz
Item no. 2632378
http://www.conrad.com/downloads
Intended use
The receiver is intended for a matching radio remote control (transmitter). For example, a steering servo, an electronic speed controller or similar can be connected.
The receiver can be supplied either from the BEC of a speed controller or a separate power supply (e.g. battery box).
The receiver has a special built-in gyro (can be switched off).
This product complies with statutory, national and European regulations. For safety and approval purposes, you must not rebuild and/or modify the product.
Read the instructions carefully and store them in a safe place. Always provide these operating instructions when giving the product to a third party.
All company and product names contained herein are trademarks of their respective owners. All rights reserved.
Delivery content
- Receiver
- Operating instructions
Latest product information
Download the latest product information at www.conrad.com/downloads or scan the QR code shown. Follow the instructions on the website.
Explanation of symbols
The symbol with an exclamation mark in a triangle is used to highlight important information in these operating instructions. Always read this information carefully.
→ The arrow symbol indicates special information and tips on how to use the product.
Safety instructions
The warranty/guarantee will be void in the event of damage caused by non-compliance with these safety instructions. We shall not be liable for any consequential damage!
We shall not be liable for damage to property or personal injury caused by incorrect handling or failure to observe the safety information! Such cases will void the warranty/ guarantee.
Normal wear and tear in operation and damages due to accidents (like the receiver antenna tearing off or the receiver case breaking etc.) are excluded from the warranty.
Dear customer, these safety instructions are provided to ensure the safe operation of the product, your safety and the safety of others. Read this chapter very carefully before using the product!
5.1 General information
- The unauthorised conversion and/or modification of the product is prohibited for safety and approval reasons.
- This product is not a toy and is not suitable for children under 14 years of age.
- The product must not get damp or wet. Protect it from dust/dirt/moisture and vibrations, e.g. by means of a receiver box.
- Do not connect the drive motor to electric models until the receiver system has been completely installed. This prevents unwanted start-up of the drive motor.
- Check the functional safety of your model and the remote control system before each use. Inspect the parts for any visible signs of damage, such as broken connectors or damaged cables.
- Do not leave packaging material lying around carelessly, as it could become a dangerous plaything for children.
- If you have any questions that are not answered by these operating instructions, contact us or an experienced technician.
5.2 Operation
- Follow the operating instructions for the remote control you are using.
- When putting the device into operation, always switch on the transmitter first. Only then turn on the power supply for the receiver in the model. Otherwise, the model may respond unpredictably!
- Before using the model, check whether it responds correctly to the remote control commands.
- Always leave the remote control turned on when the model is in use. To switch off a model, always switch off the motor first and then switch off the receiver system (e.g. disconnect the power supply to the receiver). Only then may the transmitter be turned off.
- If the voltage is too low, the receiver may not work correctly, and the model may not respond correctly to control commands. If this is the case, stop operating the model immediately.
- Be careful when using the product! Always use the model responsibly; otherwise, you may endanger yourself and those around you.
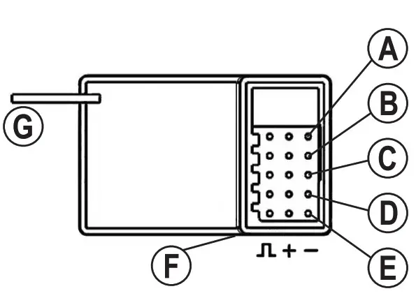
Controls and connections
A “AUX2” connection for additional control channel
B “AUX1” connection for additional control channel
C “THR” connection for the speed controller/throttle servo
D “STR” connection for the steering servo
E “BATT” connection for external power supply (e.g. for the battery box for a combustion engine vehicle)
F LED (on the side; the LED light is also visible from above between the connection sockets)
G Antenna cable
Declaration of Conformity (DOC)
Conrad Electronic SE, Klaus-Conrad-Straße 1, D-92240 Hirschau hereby declares that this product conforms to the 2014/53/EU directive.
Click on the following link to read the full text of the EU declaration of conformity: www.conrad.com/downloads
Select a language by clicking on a flag symbol and enter the product order number in the search box. You can then download the EU declaration of conformity in PDF format.
Cleaning and maintenance
This product does not require maintenance. Use a dry, lint-free cloth for occasional cleaning.
Never use aggressive cleaning agents, rubbing alcohol or other chemical solutions, as these may cause discolouration or damage to the housing.
Disposal
This symbol must appear on any electrical and electronic equipment placed on the EU market. This symbol indicates that this device should not be disposed of as unsorted municipal waste at the end of its service life.
Owners of WEEE (Waste from Electrical and Electronic Equipment) shall dispose of it separately from unsorted municipal waste. Spent batteries and accumulators, which are not enclosed by the WEEE, as well as lamps that can be removed from the WEEE in a non-destructive manner, must be removed by end users from the WEEE in a non-destructive manner before it is handed over to a collection point.
Distributors of electrical and electronic equipment are legally obliged to provide free take-back of waste. Conrad provides the following return options free of charge (more details on our website):
- in our Conrad offices
- at the Conrad collection points
- at the collection points of public waste management authorities or the collection points set up by manufacturers or distributors within the meaning of the ElektroG
End users are responsible for deleting personal data from the WEEE to be disposed of. It should be noted that different obligations about the return or recycling of WEEE may apply in countries outside of Germany.
Technical data
Operating voltage …………………………… 4 – 6.5 V/DC
Frequency band ……………………………… 2.410 – 2.465 GHz
Transmission power………………………… <20 dBm
Range …………………………………………… >120 m (open space)
Number of channels ……………………….. 4
Connection system …………………………. JR
Built-in gyro ……………………………………. yes (can be switched off)
Dimensions (W x D x H) ………………….. approx. 33 x 22 x 13 mm
Weight ……………………………………………….. approx. 5 g
Ambient conditions …………………………….. temperature -10 to +60 °C, relative humidity 20 to 90%, noncondensing
This is a publication by Conrad Electronic SE, Klaus-Conrad-Str. 1, D-92240 Hirschau (www.conrad.com).
All rights including translation reserved. Reproduction by any method, e.g. photocopy, microfilming, or the capture in electronic data processing systems require the prior written approval by the editor. Reprinting, also in part, is prohibited.
This publication represent the technical status at the time of printing.
Copyright 2022 by Conrad Electronic SE.
*2632378_V1_1122_02_VTP_m_en
![]()


















