KICHLER 11320BKTLED 13 inch LED Wall Light Textured Black

CAUTION – RISK OF SHOCK –
Disconnect Power at the main circuit breaker panel or main fusebox before starting and during the installation
OVERVIEW

WARNING:
This fixture is intended for installation in accordance with the National Electrical Code (NEC) and all local code specifications. If you are not familiar with code requirements, installation by a certified electrician is recommended
CLEANING
Always be certain that electric current is turned off before cleaning. Only a damp cloth should be used. Harsh cleaning products may damage the finish.
INSTALLATION
- Read and understand all instructions and illustrations completely before proceeding with assembly and installation of fixture.
- If you have any doubts about how to install this fixture, or if the fixture fails to operate completely, please contact a qualified electrician.
- All parts must be used as indicated in the instructions. Do not substitute any parts, leave parts out, or use any parts that are worn or broken. Failure to obey this instruction could invalidate the UL listing, C.S.A. certification, and/or ETL listing of this fixture.
- Fixture is to be connected to a single branch circuit.
- Mounting surface should be clean, dry, flat and 1/4” larger than the fixture housing surface.
INSTRUCTIONS
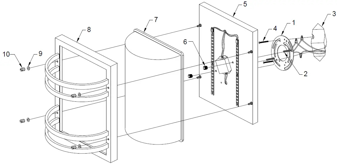
- Find the appropriate threaded holes on mounting strap[1] and assemble fixture mounting screws[2] into threaded holes. Make sure fixture mounting screws[2] line up with mounting holes in fixture[5].
- Attach mounting strap[1] to outlet box[3] using mounting screws[4]. The mounting strap can be adjusted to suit position of fixture,
- Grounding instructions: (See Illus. A or B).
- On fixtures where mounting strap is provided with a hole and two raised dimples. Wrap ground wire from outlet box around green ground screw, and thread into hole.
- On fixtures where a cupped washer is provided. Attach ground wire from outlet box under cupped washer and green ground screw, and thread into mounting strap. If fixture is provided with ground wire. Connect fixture ground wire to outlet box ground wire with wire connector. (Not provided.) After following the above steps. Never connect ground wire to black or white power supply wires.

- Make wire connections. Reference chart below for correct connections and wire accordingly.
Connect Black or Red Supply Wire to: Connect White Supply Wire to:
Black White *Parallel cord (round & smooth) *Parallel cord (square & ridged) Clear, Brown, Gold or Black without tracer Clear, Brown, Gold or Black with tracer Insulated wire (other than green) with copper conductor Insulated wire (other than green) with silver conductor Note: When parallel wires (SPT I & SPT II) are used. The neutral wire is square shaped or ridged and the other wire will be round in shape or smooth (see illus.)

- Carefully push fixture[5] to wall making sure fixture mounting screws[2] pass through fixture mounting holes.
- Attach fixture[5] to mounting plate using lock-up knobs[6].
- Make sure all connections remain secure and wires do not get pinched.
- Place glass[7] in glass frame[8] and attach glass to fixture using washers[9] and lock-up knobs[10].
FCC INFORMATION
This device complies with part 15 of the FCC Rules. Operation is subject to the following two conditions:
- This device may not cause harmful interference, and
- this device must accept any interference received, including interference that may cause undesired operation.
Note: This equipment has been tested and found to comply with the limits for a Class B digital device, pursuant to part 15 of the FCC Rules. These limits are designed to provide reasonable protection against harmful interference in a residential installation. This equipment generates, uses and can radiate radio frequency energy and, if not installed and used in accordance with the instructions, may cause harmful interference to radio communications. However, there is no guarantee that interference will not occur in a particular installation. If this equipment does cause harmful interference to radio or television reception, which can be determined by turning the equipment off and on, the user is encouraged to try to correct the interference by one or more of the following measures:
- Reorient or relocate the receiving antenna.
- Increase the separation between the equipment and receiver.
- Connect the equipment into an outlet on a circuit different from that to which the receiver is connected.
- Consult the dealer or an experienced radio/TV technician for help.
Help
We’re here to help 866-558-5706
Hrs: M-F 9am to 5pm EST




















