SIGURO SGR-HB-I250B Induction Hob

SAFETY INFORMATION
Please read this manual carefully before use and keep it for future reference.
- This appliance is intended for use by children 8 years of age and older and persons with reduced physical, sensory or mental capabilities, or lack of experience and knowledge, provided they have been given supervision or instruction concerning use of the appliance in a safe manner and understand the dangers.
- Children must not play with the device.
- Cleaning and user maintenance must not be performed by children without supervision.
- If the power cord is damaged, it must be replaced by the manufacturer, its service agent or similarly qualified persons in order to avoid a dangerous situation.
- WARNING: If the surface is cracked, switch off the appliance to avoid the possibility of electric shock.
- WARNING: The appliance and its accessible parts become hot during use.
- Do not touch the cooking zones.
- Keep out of the reach of children under the age of 8 unless they are constantly supervised.
- A steam cleaner must not be used.
- Metal objects such as knives, forks, spoons and lids should not be placed on the hob as they may become hot.
- Switch off the cooking zone by setting the level to “0” after use. Do not rely on the container detector.
- This appliance is not intended for use with an external timer or a separate remote control system.
- WARNING: Unattended cooking on a hob with fat or oil can be dangerous and can result in a fire.
- NEVER try to extinguish a fire with water. But switch off the appliance and then cover the flames with e.g. a lid or a fire blanket.
- WARNING: The cooking process must be done under supervision. The short-term cooking process must be constantly monitored.
- WARNING: Fire hazard: do not place any objects on the cooking surfaces.
- WARNING: Use only the hob covers designed by the appliance manufacturer or specified by the appliance manufacturer in the instructions for use, or the hob covers built into the appliance. Using the wrong protective covers can cause accidents.
Risk of electric shock - Failure to follow the instructions in this manual may result in electric shock or death.
- Before any maintenance or handling of the appliance, make sure that the power supply is disconnected from the power supply.
- Only connect the appliance to a properly grounded outlet.
- Modifications to the electrical network at the installation site may only be carried out by a qualified electrician.
- Do not use the appliance if the surface of the hob is cracked or damaged. Switch off the appliance, switch off the appliance circuit breaker and contact an authorized service center.
- Make sure the appliance is switched off before regular cleaning. We also recommend switching off the appliance’s circuit breaker.
Risk of accident - Take extra care. The edges may be sharp and there is a risk of injury.
- The blade of the special hob scraper is very sharp. Take extra care not to cut yourself. Keep the scraper out of the reach of children.
Safety instructions - Read these instructions carefully before installing and using the appliance.
- Do not place any flammable materials or products on the appliance or heat-sensitive materials or products.
- Make sure that these operating instructions are accessible to the person who will install the appliance.
- To avoid a dangerous situation, the appliance must be installed in accordance with the installation instructions given in this manual.
- Installation and connection may only be carried out by a qualified person.
- This appliance must be connected to a circuit that contains an isolating switch that ensures complete disconnection from the power supply.
- Improper installation of the appliance may invalidate the warranty or liability.
- Do not leave the appliance unattended while it is in operation.
- Do not use the appliance as a worktop or storage space.
- Do not place any objects or utensils on the appliance.
- Do not use or store objects sensitive to magnetic fields (payment cards, memory cards, etc.) or electronic objects (computers, MP3 players, etc.)
near the appliance. - Do not use the appliance to heat a room.
- Do not allow children to play with the appliance, sit on it, stand on it or climb on it. There is a risk of serious injury.
- Do not store objects that may be of interest to children in the cabinet above the hob, when it is installed.
- Do not repair or modify the appliance. No part of the appliance can be repaired by the user. Always contact an authorized service center.
- Do not place heavy objects on the appliance, step on it or subject it to excessive pressure.
- Prevent heavy objects falling on the appliance. The surface of the appliance may crack.
- Do not use pans with jagged edges or pull the pans over the hob surface, as this could scratch it.
- Do not use scouring pads, harsh cleaners, etc. to clean the appliance.
- This appliance is suitable for domestic and similar use, such as:
- living quarters on farms;
- personal use in hotels, motels or similar residential establishments;
- personal use in a “Bed & Breakfast” establishment.
Health risk
- This appliance complies with the requirements of the Electromagnetic Compatibility (EMC) Directive. Persons using a pacemaker or other electronic implant (e.g. an insulin pump) must consult their physician or the manufacturer of the implant before using the appliance to determine if they can use the appliance safely or operate the pacemaker or other electronic implant.
- Improper use can lead to death.
Burns risk - Failure to follow the instructions in this manual may result in burns or scalding.
- The appliance and its accessible surfaces become hot during use and burns can occur if handled incorrectly.
- Do not allow your body, clothing or other items other than suitable utensils to come into contact with the hob surface until it has cooled down.
- Dish handles can also become hot. Make sure that the handles of the dishes do not extend beyond the other switched – on cooking zones. Aim the handles so that they cannot be interfered with and are out of the reach of children.

- Rear left cooking zone with an output of 1,500 W / booster 2,000 W
- Left flexi zone with a power of 3000 W / booster 3,600 W
- Front left cooking zone with an output of 2,000 W / booster 2,600 W
- Control panel
- Rear right cooking zone with a power of 2,000 W / booster 2,600 W
- Right flexion zone with an output of 3,000 W / booster 3,600 W
- Front right cooking zone with an output of 1,500 W / booster 2,000 W
Control panel

| Power | 220–240 V~, 50/60 Hz |
| Power consumption | 7,200 W |
| Front left cooking zone | 190 mm, 2 000 W, booster 2 600 W |
| Rear left cooking zone | 190 mm, 1 500 W, booster 2 000 W |
| Front right cooking zone | 190 mm, 1 500 W, booster 2 000 W |
| Rear right cooking zone | 190 mm, 2 000 W, booster 2 600 W |
| Flexi zones | 400 × 190 mm, 3 000 W, booster 3 600 W |
| Hob dimensions | 590 × 520 × 56 mm |
| Dimensions of the opening for the hob | 555 + 5 mm × 495 + 5 mm |
| Weight | 12.41 kg |
INSTALLATION
THIS APPLIANCE MUST BE INSTALLED AND WIRED IN ACCORDANCE WITH THE APPLICABLE REGULATIONS AND STANDARDS APPLICABLE IN THE COUNTRY OF INSTALLATION. WE RECOMMEND THAT THE INSTALLATION BE PERFORMED BY A QUALIFIED PERSON.
Carefully unpack the hob and check that it is not damaged. Never use a damaged hob. There is a risk of serious injury
Installation place selection
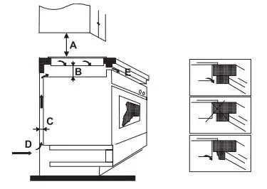
When choosing the installation location, make sure that the hob is properly ventilated. The air intake and outlet openings must not be blocked. There is minimum distance between the hob and the upper cabinets set for safety reasons. This minimum distance is 76 cm. Do not install the hob over a unventilated oven, dishwasher, etc. The recommended distances are given in the table and in the picture below.

| A | 760 mm |
| B | 50 mm (min) |
| C | 20 mm (min) |
| D | Air supply |
| E | Air outlet |
Hob cutout Cut a hole in the worktop according to the dimensions given in the table below.
| Hob 60 cm | L | W | H | D | A | B | X |
| 590 mm | 520 mm | 56 mm | 52 mm | 555 mm + 5 mm | 495 mm + 5 mm | 50 mm |

Leave a space of at least 5 cm around the hole. Make sure that the thickness of the worktop is at least 30 mm. The worktop must be heat-resistant to withstand the high temperatures that the hob can reach during use.
Gluing foam seal Only use the foam seal that is supplied with the hob or that is recommended by the hob manufacturer. The foam seal allows the hob to stay in the correct position, so there is no need to use another fastening method. It is important to install a foam seal before inserting the hob into the cut-out hole. The foam seal prevents liquid from entering the box.
DO NOT INSTALL THE HOB WITHOUT A PROPERLY INSTALLED SEAL!
- Remove the protective masking tape from the foam seal.
- Attach the foam seal to the lower outer edge of the hob. It must be attached along the entire edge of the hob, but must not overlap the edges.
- When attaching, make sure that the foam seal does not touch sharp objects.
Electrical wiring
ELECTRICAL WIRING MAY ONLY BE PERFORMED BY A QUALIFIED ELECTRICIAN IN ACCORDANCE WITH THE REGULATIONS AND STANDARDS APPLICABLE IN THE COUNTRY OF INSTALLATION.
If the power cable is damaged or needs to be replaced, this must only be done by a qualified technician with the appropriate tools to avoid a dangerous situation.
The hob may be connected to the mains by means of a properly grounded outlet or in front of a disconnector with a minimum contact distance of 3 mm when switched off, if the hob is connected directly to the mains. The hob can only be connected to a source with a system impedance of a maximum of 0.427 ohms. Contact your power supplier for more information on system impedance. The person carrying out the installation must ensure that the correct electrical wiring has been made and that this complies with safety regulations. Do not bend or apply excessive pressure to the power cable. It is important that the electrical connection, condition of the power cable, etc. are regularly checked by a qualified electrician.
The connection methods are as follows:

Warning: Never make the electrical wiring yourself. The hob must not be installed above a refrigerator, dishwasher or dryer. The hob must be installed in such a way as to ensure better heat radiation in order to increase its reliability. The wall and the zone in the direction of the radiated heat above the work surface must be heat-resistant. To prevent damage, the sandwich layer and the adhesive must be heat-resistant. Do not use a steam cleaner for cleaning.
USE
Touch control The hob is equipped with electronic controls that respond to a gentle touch, no need to apply excessive pressure. Use you the fleshy part of your fingertip, not the tips, to press the control. It is important that you keep your fingers clean and dry. Each touch of the control is signaled by a sound. Keep the control panel and its elements clean and dry. Do not place objects (such as a dishtowel, etc.) on them. Even a small amount of water can make it difficult to operate the hob.
Suitable cookware An induction coil is installed under each cooking zone, which generates an electromagnetic field when switched on. This produces an inductive current in the ferromagnetic bottom of the cookware, so it is important to use cookware that is suitable for induction hobs
The induction current heats the bottom of the cookware, not the hob. The heat from the bottom is then transferred to the food or liquids in the cookware. Check the product packaging or pot bottom to see if there is an induction symbol. In this case, the cookware is suitable for use. To find out if the cookware is suitable for an induction hob, you can place a magnet next to it. If the magnet is attracted to the dishes, such dishes are suitable for use. If you place cookware on the cooking zone that is not suitable for an induction hob, the symbol starts flashing on the display and the cooking zone shuts off in a few seconds.
Material suitable for use on the induction hob: cast iron, steel, enamel, and stainless steel with the ferromagnetic bottom. Material unsuitable for use on induction hob: pure stainless steel, aluminum or copper without ferromagnetic bottom, glass, wood, porcelain, ceramic, or earthenware. Never use plastic or melanin cookware on the induction hob. Use cookware with a flat and smooth bottom that corresponds to the diameter of the cooking zone.
Do not use cookware with a serrated edge, a round bottom, or a damaged bottom. Lift the pots upwards out of the cooking zone. Do not push it around on the hob. There is a risk of damage. The cooking zone of the induction hob automatically adjusts to the diameter of the bottom of the dishes. However, do not use dishes with too small or too large a bottom diameter – see the table below.
| Cooking zone | Minimum diameter (mm) | Maximum diameter (mm) |
| 190 mm | 140 | 190 |
| Flexi zone | 200 | 400 × 200 |
Hob On / Off Press and hold the button for 3 seconds until the audible warning sounds indicating that the hob is on. As soon as “-” appears on the power and timer display, the hob has switched to standby mode and is ready for use. Turn the hob off by pressing the button. Always make sure that the power is set to 0 before switching off. The fan will run for about 1 minute after switching the hob off. This is a normal occurrence. The fan removes hot air from the space under the hob and cools the hob to prevent it from overheating.
Note: The hob switches off automatically after 1 minute of inactivity. If the power supply is interrupted, all settings will be deleted.
Switching the cooking zone on / off
- Place a pot or pan on the cooking zone. Make sure that the bottom of the pots and the area of the cooking zone are clean and dry.
- Press the cooking zone button you want to use.
- The cooking zone display will flash and use the +/- buttons to set the required power from 0 to 9, where 0 represents the cooking zone off, 1 represents the lowest power and 9 represents the highest power. The default setting is 5. Press and hold +/- to speed up the setting.
- When the power value on the display stops flashing, the power is set.
- If you need to switch off the cooking zone, set the power to 0.
Dish detector
The dish detector is used for safe operation of the hob. The cooking zone does not turn on and the display shows.
- you have placed dishes unsuitable for use on the induction hob on the cooking zone;
- . you have not placed the dishes in the required cooking zone;
- the bottom diameter of the cookware is too small or not in the middle of the cooking zone.
Once this is corrected, the cooking zone turns on and starts to heat up. Symbol disappears from the display. If nothing is corrected within 2 minutes, the cooking zone display will automatically switch off. If you place cookware with a small bottom diameter, unsuitable cookware or small objects (eg a knife, fork, keys, etc.) on the cooking zone, the cooking zone will automatically turn off after 1 minute.
Note: Always switch off the cooking zone when you have finished cooking. Avoid unnecessary activation of the cookware detector.
Residual heat indicator
After switching off the cooking zone or the entire hob, the cooking zones remain hot for certain time. In this case, “H” appears on the display of the cooking zone. Do not touch or place any objects on the cooking zone that is marked with the residual heat indicator “H”. There is a risk of severe burns or fire. Once the cooking zone cools down to a safe temperature at which there is no longer a risk of burns, the residual heat indicator disappears from the display.
Control panel lock To prevent accidental or unwanted setting changes, activate the control panel lock. When the control panel is locked, all controls are inactive except the and buttons Press the button . “Lo” (lock) will appear on the timer display and the control panel lock will be activated. If you need to deactivate the control panel lock, make sure that the hob is switched on. Press and hold the button for about 3 seconds until an audible warning sounds. “Lo” disappears from the timer display.
Note: The button stays active in case the hob is turned off suddenly. But the control panel lock must be turned off before using it again.
Stop & Go function
The Stop & Go function is used to temporarily suspend the operation of all hob zones and to resume them.
- If you need to pause the operation of the hob, press briefly the button. All cooking zones operation will be suspended and will stop heating. “P” appears on the displays.
- If you need to resume operation, press the again and all cooking zones will return to their original settings. The “P” symbol disappears from the displays.
- The hob will be paused for a maximum of 10 minutes, after which the hob will automatically switch off and switch to standby mode.
- You can turn off the hob at any time and switch to standby mode by pressing the button. This will also cancel the Stop & Go function.
Booster function
The Booster function allows you to switch on the cooking zone at maximum power for 5 minutes. This allows you to speed up the heating and shorten the cooking time.
- Press the cooking zone button you want to use.
- Press the button to turn on the Booster function. The “b” symbol flashes on the display of the selected cooking zone for 5 seconds. Once it stops flashing, the Booster function is active. The cooking zone starts at maximum power.
- The Booster function will be active for 5 minutes and then the cooking zone will automatically switch to the last set power (if you set the power before pressing the button) or to the highest power.
- If you need to cancel the the Booster function earlier, press the button or use the +/- buttons to adjust the power of the cooking zone.
- If the cooking zone is also in operation in the vertical direction when using the Booster function and a power higher than 2 is set, the programmer will automatically switch the set power of such cooking zone to level 2.
Flexi zone
The hob is equipped with two flexi zones. Each flex zone can be used either as two separate cooking zones or one cooking zone. Each cooking zone is equipped with its own button . If you use the flexi zone as one cooking zone, you can move the cookware from back to front and vice versa without having to set the power in the cooking zone where you have placed the cookware. When the cookware is moved, the same power is automatically switched on and set for the part of the cooking zone where you place the cookware. The original place where the cookwar was placed will be switched off. Important: Always place the dishes in the center of the individual cooking zones. Such centers are marked with a cross. If you will be using large, oval, rectangular or elongated cookware, place it in the middle of the flexi zone so that they cover both marked crosses.
- To be able to activate the flexi zone, first press the button of one of the cooking zones of the selected flexi zone (e.g. to activate the left flexi zone, press the button of either the rear or front left cooking zone).
- Then press the button . The selected flexi zone indicator lights up and the cooking zone display you have previously selected flashes.
- Move the slider to set the desired power level. This will appear on the cooking zone display.
- If you need to cancel the flexi zone function, first press one of the cooking zone buttons from the selected flexi zone (e.g. to deactivate the left flexi zone, press either the rear or front left cooking zone button).
- When the cooking zone display you have selected flashes, press the button. The indicator of the selected flexi zone goes out.
Kitchen timer function
The kitchen timer function allows you to set the time after which an audible signal sounds. The hob continues operating. If you want to use the kitchen timer, do not select any cooking zone. Otherwise the cooking zone will switch off after the set time has elapsed.
- Press the button and the timer indicator starts flashing.
- Use the +/- buttons to set the kitchen timer. Press and hold +/- to speed up the setting. When you press and hold the button, the time setting will read insequence: by ones – by tens – confirmation – by ones, etc.
- You can set the cooking minute time from 0 to 30 minutes.
- Press again the button for quick confirmation and the countdown starts.
- After the kitchen timer elapses, an audible signal will sound and it will sound for about 30 seconds. “- -” appears on the display. Press any button to cancel the signal.
Automatic shutoff of the cooking zone
This function allows you to automatically turn off and switch to standby mode the selected cooking zone. You can set a different time for each cooking zone.
- Press the cooking zone button you want to use.
- Press the button and the timer indicator starts flashing.
- Use the +/- buttons to set the time after which the cooking zone will turn off and switch to standby mode. Press and hold +/- to speed up the setting. When you press and hold the button, the time setting will read insequence: by ones – by tens – confirmation – by ones, etc.
- You can set the auto shutoff time from 0 to 30 minutes.
- Press again the button for quick confirmation and the countdown starts. Or wait until the value on the timer display stops flashing.
- A red dot lights up next to the hob power indicator for which you have set the automatic shutoff. Press the cooking zone button to display the remaining automatic shutoff time.
- If you have set the automatic shutoff for several cooking zones, the shortest time counts down on the timer display. The red dot next to the cooking zone power indicator flashes.
- Once the set time has elapsed, the cooking zone stops heating, turns off automatically and switches to standby mode.
Note: You can use the kitchen timer and automatic shutoff functions at the same time. The timer display will always count down the shortest set time. If the kitchen timer has the shortest time, the red dot next to the timer indicator will flash. If the automatic shutoff has the shortest time, the red dot of the corresponding cooking zone will flash. If you need to check the kitchen minute time while the automatic shutoff time is counting down, briefly press the button
Automatic shutoff of the hob The hob is equipped with an automatic shutoff function and a switch to standby mode. This situation occurs if you forget to switch off the cooking zone or the entire hob. The table below lists the default auto shutoff times for each operation.
| Output | 1 | 2 | 3 | 4 | 5 | 6 | 7 | 8 | 9 |
| The time after which the hob switches off | 8 | 8 | 8 | 4 | 4 | 4 | 2 | 2 | 2 |
Overheating protection
The hob is equipped with a temperature sensor that senses the temperature inside the hob. If the sensor detects an excessively high temperature, the hob will switch off automatically.
Overflow protection
For safety reasons, the hob will automatically switch off if the pot overflows and liquid enters the control panel. All buttons will deactivate except the and buttons. The same can happen if you wipe the control panel with a very wet cloth. The buttons remain inactive until you wipe the control panel dry.
TIPS AND ADVICE
To cook quickly and efficiently, first set the maximum power and then reduce it as needed. Use lids to shorten the cooking time and power consumption. Frying oil or fat heats up very quickly and can reach very high temperatures. It is therefore important to exercise caution when frying or roasting to avoid ignition or severe burns. Reduce the amount of fluid or fat to shorten the cooking time.
Low cooking (temperature about 85 °C) is ideal for preparing delicious soups or sauces. It is characterized by the formation of occasional air bubbles, which slowly rise upwards. They help to develop the taste without overcooking the food. If you are preparing rice or pasta, it is advisable to set a higher temperature to ensure that the food is cooked correctly.
Cooking steaks When cooking steaks, it is important to let the meat rest for about 20 minutes at room temperature before cooking it. Heat a pan with a heavy bottom. Smear the steak on both sides with oil, pour a little oil on the pan, and carefully place the meat on it. Turn the meat only once. The exact cooking time depends on the thickness of the steak and personal preferences for how the steak should be done. The cooking time can be from 2 to 8 minutes on each side. Press the meat in the middle to see if it is well cooked through. The firmer it is, the
more done it will be Let the steak rest in a warm place for a few minutes before serving.
Sautéing Use a large pan with a high rim and a flat bottom for frying. Prepare all the ingredients. Frying is very fast. If you will be cooking a larger amount of ingredients, divide them into smaller portions. Heat the pan and add about two tablespoons of oil. Cook the meat first, set it aside in a warm place. Then cook the vegetable. When it is warm but still crispy, reduce power and put the meat back. Add sauce. Heat all ingredients and serve immediately.
Power setting The table below shows the recommended temperatures for each preparation method. The actual cooking time may vary depending on the cookwarees, the amount of
ingredients, etc.
| Output | Cooking method |
| 1 up to 2 | Gradual and gentle heating of a small amount of food Melting chocolate, butter Cooking fragile foods that can burn easily Slow cooking |
| 3 up to 4 | Food and liquids heating Rapid heating Cooking rice |
| 5 up to 6 | Cooking pancakes |
| 7 up to 8 | Sautéing Cooking pasta |
| 9 | Frying Roasting Bringing to a boil |
CLEANING AND MAINTENANCE
Before cleaning or any maintenance, always switch off the hob and allow it to cool down completely until the “H” symbol disappears from the display. Clean the hob after each use.
Warning: Never immerse the appliance, the power cord or the plug of the power cord in water or any other liquid. Do not use plastic or metal scrapers, harsh cleaners, chemicals, petrol, solvents or other similar substances to clean any parts of the appliance. The surface finish could be seriously damaged. Wipe the outside of the hob with a clean cloth slightly dampened in warm water and a little dish detergent. Wipe with dry dish towel. You can also use paper towels to clean the hob. If the hob is dirty, e.g. food that has overflowed is burnt in; use a special ceramic hob cleaner available from a regular retailer. Follow the detergent manufacturer’s instructions for cleaning.
If water overflows in the pot, remove the pot from the cooking zone and wipe it with a dry cloth. Do not expose the hob to extreme temperatures, e.g. do not wipe the hot hob with a cloth soaked in cold water. Pay special attention to the removal of burnt food or liquids to avoid permanent damage to the finish. If sugar, sweets, plastics, etc. are burned directly on the cooking zone, the surface finish of the hob may be damaged. In this case, burns should be removed while the hob is still hot and with caution. You can use special hob scrapers that have a sharp edge to remove it.
Warning: NEVER use a steam cleaner or pressure washer to clean the hob.
TROUBLESHOOTING
| Problem | Solution |
| The hob cannot be switched on. | Check that there was no power outage. |
| Make sure that the hob is properly con- nected to the mains. | |
| The hob switched off. | Make sure that you have not set the cooking zone to shutoff automatically. |
| The time has elapsed after which the hob switches off automatically – see section “Automatic hob shutoff”. | |
| The water in the pot overflowed and wa- ter entered the control panel. Wipe the water from the panel with a dry cloth. | |
| The controls are not active. | Make sure the control panel lock is not active. |
| The water in the pot overflowed and wa- ter entered the control panel. Wipe the water from the panel with a dry cloth. | |
| When the cooking zone is switched off, the “H” symbol appears on the display. | This is a normal occurrence. The “H” symbol indicates that the cooking zone is still hot and dangerous to touch. |
| The surface of the hob is scratched. | Make sure you are using the right pots and pans with a smooth bottom. |
| Make sure you do not use abrasive cleaners. | |
| The cookware emits a crackling or click- ing sound during use on the induction hob. | This is a normal occurrence. This is the sound of the induction coil in operation in combination with the various materi- als from which the dishes are made. |
If the problem is not listed in the table above or if the problem persists, switch off the appliance, disconnect the plug from the electrical outlet and contact an authorized
service center.
Error messages
When an unusual situation occurs, the induction hob switches to protection mode and an error message appears on the display
| Error message | Cause | Solution |
| E1/E2 | Unusual power source. | Check the power supply if it is operating properly. Then turn on again. |
| E3 | High temperature of the sensor of empty cook- ware | Check that the water has not boiled out from the dishes. Add water and continue cooking. |
| E5 | High temperature of the temperature sensor | Let the hob cool down and then you can use it again. |
| Other error mes- sages | Switch off the hob and con- tact an authorized service center. |


















