eta 579190000 Induction Hob 
Product Information
The ETA 579190000 is an induction hob that allows for efficient and precise cooking. It comes with a timer function and touch controls for easy operation. The hob has a minimum pan size of 120mm and a maximum of 180mm, and comes with various safety features such as overheating protection.
- Dimensions (mm): D51 x L590 x W520 x H55 x A560+5 x B490+5 x X50 min
- Power supply: 380-415V 2N~ or 220-240V~
- Power output: 2.5 kW – 7.4 kW
Product Usage Instructions
Before using the induction hob, carefully read the user manual and installation instructions to ensure proper usage and installation. Here are some basic usage instructions:
- Connect the hob to the power supply according to the local standards and regulations by a certified specialist.
- Place a compatible pan on the hob.
- To turn on the hob, press the power button (ZAPNOUT / VYPNOUT).
- Select the desired cooking temperature by touching the appropriate control.
- Use the timer function if needed.
- To turn off the hob, press the power button (ZAPNOUT / VYPNOUT) again.
- After use, allow the hob to cool down before cleaning it.
Refer to the user manual for more detailed information on usage, maintenance, and troubleshooting.
eta 579190000
Congratulations on your purchase of a new cooktop. We recommend you to take some time to read this manual / installation manual and fully understand how to properly install and use the appliance. Read all instructions before using the appliance and keep them for future reference.
SAFETY INFORMATION
We recommend you keep the instructions for installation and use for later reference, and before installing the hob, note its serial number in case you need to get help from the after sales service.
WARNING
persons with pacemakers or other electrical devices implants (for example insulin pumps) must be consulted before using this device with your doctor or the manufacturer implant and make sure their implants are not affected electromagnetic field.
WARNING
The appliance power supply (wiring connection point) must meet all current standards in force in the country where the appliance is installed. The connection of the appliance to the connection point must be carried out by a certified specialist with a prescribed and valid qualification for this activity in accordance with the locally valid current standards and regulations. He is then obliged to issue a confirmation containing all the details and data about the implementation of the connection of the appliance to the electrical network.
WARNING
the appliance and its accessible parts become hot during use. Care should be taken to avoid touching heating elements. Children under 8 years of age must be kept away from the appliance unless they are continuously supervised.
WARNING
use only hob guards designed by the Manufacturer of the cooking appliance or indicated by the Manufacturer of the appliance in the instructions for use as suitable or hob guards incorporated in the appliance. The use of inappropriate guards can cause accidents.
WARNING
Do not store items on the cooking surfaces there is a danger of fire.
WARNING
if the surface is cracked, do not touch the glass and switch off the appliance to avoid the possibility of electric shock.
WARNING
unattended cooking on a hob with fat or oil can be dangerous and may result in fire. NEVER try to extinguish a fire with water! Switch off the appliance immediately by interrupting the power supply to the appliance! Either by turning off the circuit breakers (in the absence of a plug-socket connection), or by disconnecting (pulling out) the electrical plug of the appliance from the power source, i.e. the power socket. Then cover flame e.g. with a lid or a fire blanket.
- This appliance can be used by children aged from 8 years and above and people with reduced physical, sensory or mental capabilities or lack of experience and knowledge if they have been given supervision or instruction concerning use of the appliance in a safe way and understand the hazards involved. Children should be supervised to ensure that they do not play with the appliance. Cleaning and user maintenance shall not be
made by children without supervision.
CAUTION
The cooking process must be supervised. A short term cooking process has to be supervised continuously. It is strongly recommended to keep children away from the cooking zones while they are in operation or when they are switched off, so long as the residual heat indicator is on, in ord - This appliance is not intended to be operated by means of an external timer or separate remote control system.
- If present do not to stare into halogen lamp hob elements. Connect a plug to the supply cable that is able to bear the voltage, current and load indicated on the tag and having the earth contact. The socket must be suitable for the load indicated on the tag and must be having the earth contact connected and in operation. The earth conductor is yellow-green in color. This operation should be carried out by a suitably qualified professional. In case of incompatibility between the socket and the appliance plug, ask a qualified electrician to substitute the socket with another suitable type.
- The plug and the socket must be conformed to the current norms of the installation country.
- Connection to the power source can also be made by placing an omni polar breaker between the appliance and the power source that can bear the maximum connected load and that is in line with current legislation.
- The yellow-green earth cable should not be interrupted by the breaker.
- The socket or omni polar breaker used for the connection should be easily accessible when the appliance is installed.
- The disconnection may be achieved by having the plug accessible or by incorporating a switch in the fixed wiring in accordance with the wiring rules.
- If the supply cord is damaged, it must be replaced by Manufacturer, its service agent or similarly qualified people in order to avoid a hazard.
- The earth conductor (yellow-green) must be longer than 10 mm on the terminal block side. The internal conductors section should be appropriate to the power absorbed by the hob (indicated on the tag).
- The type of power cable must be H07RN-F.
- Do not put metallic objects such as knives, forks, spoons or lids on the hob. They could heat up.
- Aluminum foil and plastic pans must not be placed on heating zones.
- After every use, some cleaning of the hob is necessary to prevent the build-up of dirt and grease.
- If left, this is recooked when the hob is used and burns giving off smoke and unpleasant smells, not to mention the risks of fire propagation.
- Never use a steam or high pressure spray to clean the appliance.
- Do not touch the heat zones during operation or for a while after use.
- Never cook food directly on the glass ceramic hob.
- Always use the appropriate cookware.
- Always place the pan in the center of the unit that you are cooking on.
- Do not place anything on control panel.
- Do not use the hob as a working surface.
- Do not use the surface as a cutting board.
- Do not store heavy items above the hob. If they drop onto the hob, they may cause damage.
- Do not use the hob for storage of any items.
- Do not slide cookware across the hob.
- No additional operation/setting is required in order to operate the appliance at the rated frequencies.
GENERAL WARNINGS
- Declaration of Conformity – By placing the mark on this appliance we are assuring compliance to all European Safety, Health and Environment requirements which are applicable for this product category.
- The images in the instructions are for illustration purposes only, the actual product may vary in detail
- Do not use harsh and abrasive cleaners or sharp metal scrapers for cleaning, as they may scratch the surface, resulting in glass breakage.
PROTECTION OF THE ENVIRONMENT
This appliance is marked according to European Directive 2012/19/EU on Waste Electrical and Electronic Equipment (WEEE). WEEE contains both polluting substances (which can cause negative consequences for the environment) and basic components which can be reused. It is important to
have WEEE subjected to specific treatments, in order to remove and dispose properly all pollutants and recover and recycle all materials. Individuals
can play an important role in ensuring that the WEEE does not become an environmental issue; it is essential to follow some basic rules:
- WE shall not be threatened as household waste.
- WE shall be handled over to the relevant collection points managed by the municipality or by registered companies. In many Countries, for large WE , home collection could be present.
- In many Countries, when you buy a new appliance, the old one may be returned to the retailer who has to collect it free of charge on a one-to-one basis, as long as the appliance is of equivalent typology and has the same functions as the supplied one.
PRODUCT DESCRIPTION
Induction hob
ETA579190000
- Zone 2000 W
power boost 2600 W - Zone 1500 W
power boost 2000 W - Zone 2000 W
power boost 2600 W - Zone 1500 W
power boost 2000 W - Glass plate
- Control panel

Control panel
Cooking zone selection controls
Timer
Lock buttons
Booster function
Setting time / power
Power control
Pause
Information about induction cooking
Induction cooking is safe, fast and very economical. It works on the principle of electromagnetic waves. The heat is generated directly in the bottom of the container, not under the surface. The glass-ceramic surface heats up only secondarily, from the temperature of the vessel itself.

- Pot with
- ferromagnetic bottom
- induction coil
- Induced currents
- Ceramic glass plate
Before using a new induction hob
- Please read this instruction manual carefully before using the hob.
- Remove all protective films from the induction hob before use.
Touch Controls
- The controls respond to touch, so you don’t need to apply any pressure.
- Use the ball of your finger. not its tip.
- You will hear a beep each time a touch is registered.
- Make sure the controls are always clean, dry and that there is no object covering them. Even a thin film of water may make the controls difficult to operate.
Choosing the right cookware
- Only use cookware with a base suitable for induction cooking
- Look for the induction symbol on the packaging or on the bottom of the pan.
- You can check whether your cookware is suitable by carrying out a magnet test.
- Move a magnet towards the base of the pan. If it is attracted, the pan is suitable for induction.
- Put some water in the pan you want to check.
- If does not flash 2. If does not flash the pan is suitable.
- Do not use cookware with jagged edges or a curved base.

- Make sure that the base of your pan is smooth, sits fiat against the glass, and is the same size as the cooking zone. Use pans whose diameter is as large as the graphic of the zone selected. Using a pot a slightly wider energy will be used at its maximum efficiency. lf you use smaller pot efficiency could be less than expected.
- Always centre your pan on the cooking zone and always respect the minimum recommended bottom diameters of the cooking vessels for the individual cooking zones.

- Always lift pans off the induction hob – do not slide, or they may scratch the glass.
Pot dimensions
The cooking zones are automatically adapted to the diameter of the pot up to the limit. However, the base of the pot must have a minimum diameter according to the respective cooking zone. To achieve the best efficiency of the hob, place the pot in the center of the cooking zone.
The base diameter of induction cookware
| Cooking zone | Minimum (mm) | Maximum (mm) |
| 1 | 120 | 180 |
| 2 | 120 | 180 |
| 3 | 120 | 180 |
| 4 | 120 | 180 |
USING AN INDUCTION HOB
START COOKING
- Touch the ON/OFF control. After power on, the buzzer beeps once, all displays show “–” or “– –”, indicating that the induction hob has entered the state of standby mode.
- Place a suitable pan on the cooking zone that you wish to use.
- Make sure the bottom of the pan and the surface of the cooking zone are clean and dry.
- Touching the heating zone selection control, and an indicator next to the key will flash.
Select a heat setting by touching + and -.• If you don’t choose a heat setting within 1 minute, the Induction hob will automatically switch off. You will need to start again at step 1.- You can modify the heat setting at any time during cooking.
- If you press the “-“, the power will decrease by one grade each time until 0. If you press the “+”, the power will increase by each step one grade up to 9.
If the display flashes alternately with the heat setting
This means that:
- You have not placed a pan on the correct cooking zone or,
- The pan you’re using is not suitable for induction cooking or,
- The pan is too small or not properly centered on the cooking zone.
- No heating takes place unless there is a suitable pan on the cooking zone.
- The display will automatically turn off after 1 minute if no suitable pan is placed on it.
Finish cooking
- Touching the heating zone selection control that you wish to switch off .
- Turn the cooking zone off touching „-“ and going down to 0.
- Make sure the display shows 0 and than H.
- Turn the whole cooktop off by touching the ON/OFF control.
- Beware of hot surfaces H will show which cooking zone is hot to touch. It will disappear when the surface has cooled down to a safe temperature.
- It can also be used as an energy saving function if you want to heat further pans, use the hotplate that is still hot.
USING THE BOOST FUNCTION
Power boost is a function that increases the power of one zone to a higher value in one
second and lasts for 5 minutes. This will allow you to cook more efficiently and faster.
- Touch the heating zone selection control , which you want to activate the boost function.
- Touch the boost control . The zone indicator show P and the power reach Max
- The function can work in any cooking zone.
- The cooking zone returns to 9 after 5 minutes.
- If the original heat setting equals 0, it will return to 9 after 5 minutes.
- To turn off the function, touch the selected cooking zone , that you wish to switch off the boost, than touch the boost control . The cooking zone returns to 9.
- Restrictions when using: The four zones were divided into two groups. In one group, if use boost on one zone, first make sure that the other zone is working on/below power level 5.
PAUSE FUNCTION
Pause function can be used at any time during cooking. It allows to stop the induction cooktop and come back to it.
- Make sure the cook zone is working.
- Touch the button Pause function , the cooking zone indicator will show i i . And then the operation of the induction cooktop will be deactivate within the scope of all cooking zones, except the Pause function,
on/off and lock keys. - To cancel the pause status, touch the button Pause function
. then the cooking zone will go back to the power stage which you set before.
LOCKING THE CONTROLS
- You can lock the controls to prevent unintended use (for example children accidentally turning the cooking zones on).
- When the controls are locked, all the controls except the ON/OFF
control are disabled.
To lock the controls
Touch the lock control. The timer indicator will show Lo.
To unlock the controls
- Make sure the induction hob is switched on.
- Touch and hold the lock control for a while.
- Now you can start using the induction hob.
WARNING
When the hob is in the lock mode, all the controls are disable except the ON/OFF
you can always turn the induction hob off with the ON/OFF
control in an emergency, but you shall unlock the hob first in the next operation.
TIMER CONTROL
You can use the timer in two different ways:
- You can use it as a minute minder. In this case, the timer will not turn any cooking zone off when the set time is up.
- You can set it to turn one or more cooking zones of after the set time is up. The timer of maximum is 99 min.
Using the Timer as a Minute Minder
If you are not selecting any cooking zone
- Make sure the cooktop is turned on and no cooking zone is selected.
Note
you can use the minute minder at least one zone shall be active. - Touch timer control , the 00 will show and flash in the timer display.
- Set the time by touching – or + control.
Hint: Touch the – or + control
once to decrease or increase by 1 minute.
Hold the – or + control
of the timer to decrease or increase by 10 minutes. - Cancel the time by touching the timer control and the 00 will show in the minute display.
- When the time is set, it will begin to count down immediately. The display will show the remaining time and the timer indicator will flash for 5 seconds.
- Buzzer will beep for 30 seconds and the timer indicator shows
when the setting time finished.
Setting the timer to turn one cooking zone off
- Touching the heating zone selection control that you want to set the timer for.
- In short time, touch timer control , the 00 will show and flash in the timer display.
- Set the time by touching – or + control.
Hint: Touch the – or + control once to decrease or increase by 1 minute.
Hold the – or + control of the timer to decrease or increase by 10 minutes.
If the setting time exceeds 99 minutes, the timer will automatically return to 0 minute. - When the time is set, it will begin to count down immediately. The display will show the remaining time and the timer indicator will flash for 5 seconds.
Note
The red dot next to power level indicator will illuminate indicating that zone is selected. - When cooking timer expires, the corresponding cooking zone will be switched off automatically
- Other cooking zone will keep operating if they are turned on previously.
Setting the timer to turn more zones off
- The steps for setting more zones are similar to the steps of setting one zone.
- When you set the time for several cooking zones simultaneously, decimal dots of the relevant cooking zones are on. The minute display shows the min. timer. The dot of the corresponding zone flashes. The dots for the other timed zones light up.

- 15 (set to 15 minutes)
- 6 (set to 45 minutes)
- Once the countdown timer expires, the corresponding zone will switch off. Then it will show the new min. timer and the dot of corresponding zone will flash.
Note
Touch the heating zone selection control, the corresponding timer will be shown in the timer indicator. To cancel the timer, touch heating selection control and then touch the timer control.
PROTECTION
Protection from over-heating
A sensor monitors the temperature in the cooking zanes. When the temperature exceeds a safe level, the cooking zone is automatically switched off.
Spill protection
Spill protection is a safety protection feature. It turns off the hob automatically within 10 seconds if water enters the control panel, with a buzzer beeping for 1 second.
Detection of small or non-magnetic items
When a pan with a diameter of less than 60 mm, or some other small item (e.g. knife, fork, key) or a non-magnetic pan (e.g. aluminium) has been left on the hob, the hob goes automatically on to standby after 1 minute, and the fan will keep cooling down the hob for further 1 minute.
Auto shutdown
Another safety feature of the induction hob is auto shutdown. This occurs whenever you forget to switch off a cooking zone. The default shutdown times are shown in the table below:
| Power level | 1 | 2 | 3 | 4 | 5 | 6 | 7 | 8 | 9 | II |
| The heating zone shut down automatically after | 8 | 8 | 8 | 4 | 4 | 4 | 2 | 2 | 2 | 2 |
When the pan is removed from the cooking zone, it stops heating immediately and switches itself off after 2 minutes when cooling down.
Power distribution
In the event that the total required power of all active hotplates during cooking exceeds the maximum permitted power input set using the Power Control function (see later in the manual), mutually variable corrections will be made to the power outputs of all active hotplates so that the set maximum value of the selected power input is not exceeded.
CLEANING
| What? | How? | Important warning! |
|
Everyday soiling of the glass (fingerprints, smudges, food residue or puddles without sugar on the glass) |
1. Turn off the power to the hob. 2. Apply the cleaner to the hob while the glass is still warm (but not hot!) 3. Rinse and wipe dry with a clean cloth or paper towel. 4. Turn on the power to the hob. | • When the power to the hob is switched off, the hot surface indicator does not work and the cooking zones may still be hot! Be extremely careful. • Strong scourers, some nylon scourers, and harsh/abrasive cleaners can scratch the glass. Always read the label to check if the cleaner or scourer is suitable. • Never leave residue on the hob after cleaning: the glass may become discolored. |
|
Overboiling, melted food and hot sugary foods puddles on the glass. | Remove them immediately with a turner, spatula or scraper suitable for the glass of an induction hob, but be careful of the hot surfaces of the cooking zones: 1. Turn off the power to the hob at the wall socket. 2. Use a knife or other tool at a 30° angle to scrape away dirt or stains towards the cool part of the hob. 3. Clean up dirt or puddles with a cloth or paper towel. 4. Follow steps 2 through 4 for “Everyday Glass Soiling” above. |
• Remove stains left by melted and sweet foods or puddles as soon as possible. If they cool on the glass, it can be difficult to remove them and there is even a risk of permanent damage to the glass surface. • Risk of cuts: the blade of the scraper is razor sharp. Use with extreme caution and always store safely and out of the reach of children. |
|
Puddles on touch controls | 1. Turn off the power to the hob. 2. Wipe up spilled liquid. 3. Wipe the touch control surface with a clean damp sponge or cloth. 4. Then dry it with a paper towel. 5. Turn on the power to the hob. | • The hob may beep and shut down and the touch controls may not work if liquid is spilled on them. Before switching the hob back on, check that the surface of the controls is wiped dry. |
PROBLEMS SOLVING
Advice and tips before you call the service
| Problem | Possible causes | What to do |
|
The induction hob cannot be switched on. |
No power supplied | Check that the induction hob is connected to power and that it is switched on. Check for a power outage in your home or neighborhood. If you have checked everything and the problem persists, contact a qualified technician. |
| Touch controls are not responding. | Controls are locked | Unlock the controls. See the instructions in the section “Using the induction hob”. |
| Touch controls are not responding well. | There may be a thin layer of water on the controls or you may be touching them with your fingertip. | Make sure the touch controls are dry and use the ball of your finger, not the tip, to touch the controls. |
|
The glass is scratched. | Rough dishes. You have used unsuitable abrasive pads or detergents. | Use pots with a flat base. See “Choosing the right cookware”. See “Cleaning and maintenance”. |
| Some pots may make popping or clicking noises. | This may be due to the construction of the cookware (layers of different metals vibrate differently). | This is normal and not a malfunction. |
| The induction hob makes a faint hum when used with the high power setting. | This is due to induction cooking technology. | This is normal and the sound should become quieter or disappear when you lower the heat setting. |
|
Fan noise coming from induction hob. | The cooling fan built into the induction hob cools and protects the electronics from overheating. This can continue even after the induction hob is switched off. | This phenomenon is normal and does not require any intervention. When the fan is running, do not turn off the power to the induction hob in the wall. |
| Problem | Possible causes | What to do |
|
The dishes do not heat up and do not appear on the display. The induction hob cannot detect it. | The induction hob cannot detect the pan because it is not suitable for induction cooking. Use dishes suitable for induction cooking. See “Choosing the right cookware”. The induction plate cannot detect the pan because it is too small for the cooking zone or it is wrong centered. |
Use cookware suitable for induction cooking. See “Choosing the right cookware”. Center the pot and make sure that it’s bottom corresponds to the size of the cooking zone. |
| An induction hob or cooking zone has suddenly switched itself off, a tone sounds and an error code is displayed (usually alternating with one or two digits on the cooking timer display). |
Technical problem. | Note the letters and numbers of the code, turn off the power to the hob and contact a qualified technician. |
|
Cooking mode indicator lights up but warm up won’t start. | High hob temperature. | The ambient temperature may be too high. The air intake or exit may be blocked. |
| Something happened to the fan. | Check that the fan runs smoothly; if not, replace the fan. | |
| The power board is damaged. | Replace the power board. | |
|
The heating suddenly switches off during operation and the display flashes. | Unsuitable container type. | Use the suitable cookware (see operating instructions). Or the pot detection circuit is damaged, replace the power board |
| Pot diameter is too small. | ||
| The hob overheated. | The unit is overheated. Wait for the temperature to return to normal. | |
| Press the “ON/OFF” button to restart the unit. | ||
INSTALLATION
| ETA579190000 | |
| D (mm) | 51 |
| L (mm) | 590 |
| W (mm) | 520 |
| H (mm) | 55 |
| A (mm) | 560+5 |
| B (mm) | 490+5 |
| X (mm) | 50 min |
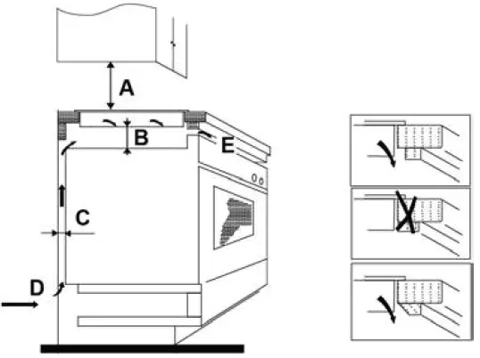
- Cut a hole in the worktop of the dimension shown in the diagram below.
- A minimum of 50 mm space should be left around the hole.
- The worktop should be at least 30 mm thick and made of heat-resistant material.
As shown in figure below. - It is essential that the induction hob is well ventilated and that the air intake and exit are not blocked. Make sure the hob is correctly installed as shown in figure below.
WARNING
For safety, the gap between the hob and any cupboard above it should be at least 760 mm.
| A (mm) | B (mm) | C (mm) | D | E(mm) |
| 760 | 50 min | 20 min | air intake | air exit 5 |
- Fix the hob to the worktop using the four brackets on the base of the hob. The position of the brackets ca be adjusted according to the thickness of the top.

Before installing the hob, check that
- The work surface is level and flat and no structural elements prevent the fulfillment of space requirements,
- The work surface is made of heat-resistant material,
- if the hob is installed above the oven, the oven must have a built-in cooling fan,
- The installation meets all requirements for free space and applicable standards and regulations,
- in the permanent electrical installation, there is a suitable disconnector ensuring complete disconnection from the mains, which is installed in accordance with local laws and regulations for electrical installation.
- the omni polar circuit bracer must be an approved type with a 3 mm air gap between the contacts in all poles (or on all live [phase] conductors if local electrical codes permit this change of requirements),
- The disconnector is easily accessible even after the hob has been installed,
- if in doubt about the installation, you can consult the local building authorities and regulations,
- The surface of the walls surrounding the hob, you should choose heat-resistant and easy-to-clean finishes (for example ceramic tiles).
After installing the hob, check that
- The power cable is not accessible through doors or sockets,
- A sufficient flow of fresh air from the outside of the cabinets to the bottom of the hob is ensured,
- if the hob is installed above a drawer or cabinet, thermal insulation is placed on the bottom of the hob,
- The disconnector is easily accessible even after the hob is installed.
Warnings
- The induction hob must be installed by a properly qualified person. Never try to install the appliance yourself.
- The induction hob must not be installed above refrigerators, freezers, dishwashers or tumble dryers.
- The induction hob should be installed so that optimum radiation of heat is possible.
- The wall and the area above the hob should be able to withstand heat.
- To avoid any damage, the sandwich layer and adhesive should be heat-resistant.
CONNECTION TO POWER SUPPLY
WARNING
The hob must be installed by a properly qualified person. Never try to install the appliance yourself.
Before connecting the hob to the mains, please check
- The domestic electrical installation is suitable for the power of the hob.
- The voltage corresponds to the value indicated on the nameplate.
- The cross-sections of the power cable can withstand the load indicated on the nameplate. Do not use adapters, reducers or branching devices to connect the hob to the mains, as they may cause overheating and fire.
- The power cable must not come into contact with hot surfaces and must be routed so that the temperature does not exceed 75 °C at any point.
- Consult an electrician to see if the home wiring is suitable without further modifications. Any changes may only be made by a qualified electrician.
The socket should be connected in compliance with the relevant standard to a adequate circuit breaker.
The method of connection is shown below.
| Voltage | Wire connection ETA579190000 | |||
| 380 – 415 V 2N ~ | 1 L1 black | 2 L2 brown | 3 4 N gray blue | 5 yellow/green |
| 220 – 240 V ~ | 1
black | 2 L brown | 3 4 N gray blue | 5 yellow/green |
- If the cable is damaged or needs to be replaced, this work must be carried out by a contracted service technician or a certified specialist with prescribed qualifications for this activity in accordance with current local standards and regulations, otherwise an injury could occur.
- If the appliance is being connected directly to the mains supply, an omni polar circuit breaker must be installed with a minimum gap of 3 mm between the contacts..
- The cable must not be bent or pressed anywhere.
POWER MANAGEMENT FUNCTION
With the power control function, you can set the total power to 2,5 kW / 3 kW / 4,5 kW / 6,5 kW a 7,4 kW. The default total power setting is the maximum power level.
Setting the maximum overall power level
We suggest to enter the power setting mode within 30 seconds from connecting to enter Power Management Function.
- Please be noted that do not turn on the hob. It is not necessary to place any pots on the to place any pots on the
cooking zones. - Touch the pause button and hold for 5 seconds. You can hear the buzzer beeps one time.
- After you hear the beep, touch “+” and “-” button at the same time and hold for
3 second, the timer indicator will show flashing previous total power level, e.g. ‘2.5’. - Touch and hold + and – for 1 second again to switch to other power level for example When the power that you want is flashing, touch the button pause and hold for 5 seconds.
- The buzzer will beep 10 times. It means you have finished the setting.
Note
- After step 2, you must touch the + and – within 3 seconds after you hear the beep. Otherwise you will need to start again from step 2.
- Once finish setting, wait till the end of 10 beeps. Do not touch any button during this period. Otherwise the setting will be invalid.
Power Management Rules
If total power exceeds the limitation of 2.5kw, 3.0kw, 4.5kw or 6.5kw (depending on which level you’ve set), you are not able to increase power stage of any zone. If you increase it by touching +, the cooktop will beep 3 times and indicator will show a flashing “Pn”. Thus you need to decrease power stage of other zones before increasing the power of objective zone.
TECHNICAL DATA
Declaration of Conformity
By placing the mark on this product, we confirm compliance with all relevant European safety, health and environmental requirements set out in the legal regulations applicable to this product.
| Hob | ETA579190000 |
| Cooking zones | 4 zones |
| Nominal phase voltage in the LV network Nominal combined voltage in the LV network | 220–240 V~, 50–60 Hz 380 – 415 V 2N ~, 50–60 Hz |
|
Installed electrical power | 2,5 kW: up to 2750 W or 3,0 kW: up to 3300 W or 4,5 kW: up to 4950 W or 6,5 kW: up to 7150 W or 7,4 kW: up to 7400 W |
| Product dimensions L × W × H (mm) | 590 x 520 x 60 |
| Dimensions for built-in A × B (mm) | 560 x 490 |
Weight and dimensions are approximate. Due to the continuous development of our products, our technical data and design may change without prior notice.
- Technical information can be found on the type plate inside the appliance (or on its back side) and on the energy label. “Information Sheet” and “Directions for Use” can be downloaded at:
www.etasince1943.com. - Keep the user manual and all other documentation supplied with this appliance.
- The model name (product number) can be found on the type plate of the appliance.
- We reserve the right to change technical specifications.
CUSTOMER CARE AND SERVICE
Always use original spare parts.
- When contacting our authorized service or information line, make sure you have the following information available: the model name (product number) and serial number (SN).
- This information can be found on the type plate (or on a separate label near it).
- Original spare parts for particular selected components of the product are available t least 7 or 10 years from the launch of the last piece of the appliance on the market (depending on the type of the component).
- The manufacturer provides standard legal warranty for the appliance for a period of 24 months.
- For more information regarding service and purchase of spare parts, visit our website:
www.etasince1943.com/support




















