TESLA HI6400TB Induction Hob User Manual
Congratulations on the purchase of your new Induction Hob
We recommend that you spend some time to read this Instruction / Installation Manual in order to fully understand how to install correctly and operate it. For installation, please read the installation section.
Read all the safety instructions carefully before use and keep this Instruction / Installation Manual for future reference.
SAFETY WARNINGS
Your safety is important to us. Please read this information before using your cooktop.
- The appliance is not to be used by persons (including children) with reduced physical, sensory or mental capabilities, or lack of experience and knowledge, unless they have been given supervision or instruction. children being supervised not to play with the appliance.
- WARNING: If the surface is cracked, switch off the appliance to avoid the possibility of electric shock, for hob surfaces of glass-ceramic or similar material which protect live parts.
- WARNING: a steam cleaner is not be used
- Metallic objects such as knives, forks, spoons and lids should not be placed on the hob surface since they can get hot.
- After use, switch off the hob element by its control and do not rely on the pan detector.
- that the appliance is not intended to be operated by means of external timer or separated remote control system.
- DANGER OF FIRE: Do not store items on the cooking surfaces.
- CAUTION: The cooking process has to be supervised. A short term cooking process has to be supervised continuously.
- WARNING: Unattended cooking on a hob with fat or oil can be dangerous and may result in a fire.
- If the supply cord is damaged, it must be replaced by the manufacturer, its service agent or similarly qualified persons in order to avoid a hazard.
- This appliance can be used by children aged from 8 years and above and persons with reduced physical, sensory or mental capabilities or lack of experience and knowledge if they have been given supervision or instruction concerning use of the appliance in a safe way and understand the hazards involved. children shall not play with the appliance. cleaning and user maintenance shall not be made by children without supervision.
- WARNING: The appliance and its accessible parts become hot during use.
- Care should be taken to avoid touching heating elements.
- Children less than 8 years of age shall be kept away unless continuously supervised.
- WARNING: Unattended cooking on a hob with fat or oil can be dangerous and may result in fire.
- NEVER try to extinguish a fire with water, but switch off the appliance and then cover flame e.g. with a lid or a fire blanket.
- CAUTION: The cooking process has to be supervised. A short term cooking process has to be supervised continuously.
- WARNING: Danger of fire: do not store items on the cooking surfaces.
- WARNING: Use only hob guards designed by the manufacturer of the cooking appliance or indicated by the manufacturer of the appliance in the instructions for use as suitable or hob guards incorporated in the appliance. The use of inappropriate guards can cause accidents.
- Power cord can’t accessible after installation.
PRODUCT OVERVIEW
Top View
Heating Zone Power
Heating Zone | Max. Power (220-240V~ 50/60 Hz) |
| 2000/2300W |
![]() | 1200/1500W |
![]() | 1800/2300W |
![]() | 1200/1500W |
Total Max. Power | 7000W |
User interface
A | | Zone select key |
B | Child lock key | |
| C | ON/OFF key |
D | Power/Timer slider regulating key | |
E | Boost control key | |
| F | Timer key |
A Word on Induction Cooking
Induction cooking is a safe, advanced, efficient, and economical cooking technology. It works by electromagnetic vibrations generating heat directly in the pan, rather than indirectly through heating the glass surface. The glass becomes hot only because the pan eventually warms it up.
Before using your New Induction Hob
- Read this guide, taking special note of the ‘Safety Warnings’ section.
- Remove any protective film that may still be on your Induction hob.
Using the Touch Controls

- The controls respond to touch, so you don’t need to apply any pressure.
- Use the ball of your finger, not its tip.
- You will hear a beep each time a touch is registered.
- Make sure the controls are always clean, dry, and that there is no object (e.g. a utensil or a cloth) covering them. Even a thin film of water may make the controls difficult to operate.
Choosing the right Cookware
- Only use cookware with a base suitable for induction cooking. Look for the induction symbol on the packaging or on the bottom of the pan.
- You can check whether your cookware is suitable by carrying out a magnet test. Move a magnet towards the base of the pan. If it is attracted, the pan is suitable for induction.
- If you do not have a magnet:
- Put some water in the pan you want to check.
- If does not flash in the display and the water is heating, the pan is suitable.
- Cookware made from the following materials is not suitable: pure stainless steel, aluminium or copper without a magnetic base, glass, wood, porcelain, ceramic, and earthenware.
Do not use cookware with jagged edges or a curved base.
Make sure that the base of your pan is smooth, sits flat against the glass, and is the same size as the cooking zone. Use pans whose diameter is as large as the graphic of the zone selected.Using a pot a slightly wider energy will be used at its maximum efficiency. If you use smaller pot efficiency could be less than expected. Pot less than 140 mm could be undetected by the hob. Always centre your pan on the cooking zone.
Always lift pans off the Induction hob – do not slide, or they may scratch the glass.
USING YOUR INDUCTION HOB
To start cooking
- Touch the ON/OFF control for 3 seconds. After power on, the buzzer beeps once, all displays show “ – “, indicating that the induction hob has entered the state of standby mode.
- Place a suitable pan on the cooking zone that you wish to use. Make sure the bottom of the pan and the surface Of the cooking zone are clean and dry.
- According to the heating zone where the pan is placed, select a relevant zone select key by pressing “
” key (A). The symbol 0. selected will stay fully it. - Adjust heat setting by touching the slider regulating key (D) control.

- If you don’t choose a heat setting within 1 minute, the induction hob will automatically switch off. You will need to start again at step 1.
- You can modify the heat setting at any time during cooking.
If the display flashes
alternately with the heat setting
This means that:
- You have not placed a pan on the correct cooking zone or,
- The pan you’re using is not suitable for induction cooking or,
- The pan is too small or not properly centred on the cooking zone.
No heating takes place unless there is a suitable pan on the cooking zone. The display will automatically turn off after 1 minutes if no suitable pan is placed on it
When you have finished cooking
- Touching the relevant zone select key(A) that you wish to switch off.
- Press the “-”key will decrease the power to “0” level, or press the “+” and “-” at the same time, the power level will decrease to 0 straight away.
- Beware of hot surfaces
“H” will show which cooking zone is hot to touch. It will disappear when the surface has cooled down to a safe temperature. It can also be used as an energy saving function if you want to heat further pans, use the hotplate that is still hot.
Using the Boost function
Actived the boost function
- Select the heating zone by touching the zone select key (A).
- Touching the boost control key (E)
, the zone indicator show “P.” and the power reach Max.
Cancel the Boost function
- Touching the relevant zone select key(A) that you wish to cancel.
- Touching the slider regulating key (D) to cancel the Boost function, then the cooking zone will revert to level 9.
- The function can work in any cooking zone.
- The cooking zone returns to level 9 after 5 minutes.
Using Child Lock Function
- You can lock the controls to prevent unintended use (for example children accidentally turning the cooking zones on).
- When the controls are locked, all the controls except the OFF control are disabled.
To lock the controls
Touch the keylock control for 3 seconds. The timer indicator will show “Lo “
To unlock the controls
- Make sure the Induction hob is turned on.
- Touch and hold the keylock control for a while
- You can now start using your Induction hob.
When the hob is in the lock mode, all the controls are disable except OFF, you can always turn the hob off with the OFF control in an emergency, but you shall unlock the hob first in the next operation.
Over-Temperature Protection
A temperature sensor equipped can monitor the temperature inside the Induction hob. When an excessive temperature is monitored, the Induction hob will stop operation automatically.
Detection of Small Articles
When an unsuitable size or non-magnetic pan (e.g. aluminium), or some other small item (e.g. knife, fork, key) has been left on the hob, the hob automatically go on to standby in 1 minute. The fan will keep cooking down the induction hob for a further 1 minute.
Auto Shutdown Protection
Auto shut down is a safety protection function for your induction hob. It shut down automatically if ever you forget to turn off your cooking. The default working times for various power levels are shown in the below table:
Power level | 1~3 | 4~6 | 7~8 | 9 |
| Default working timer (min) | 360 | 180 | 120 | 90 |
When the pot is removed, the induction hob can stop heating immediately and the hob automatically switch off after 2 minute.
People with a heart pace maker should consult with their doctor before using this unit.
Using the Timer
You can use the timer in two different ways:
- You can use it as a minute minder. In this case, the timer will not turn any cooking zone off when the set time is up.
- You can set it to turn one cooking zone off after the set time is up.
- You can set the timer for up to 99 minutes.
Using the Timer as a Minute Minder
If you are not selecting any cooking zone
- Make sure at least one cooking is turned on.
Note: you can use the minute minder even if you’re not selecting any cooking zone. - Touch the Timer key (F)
. The minder indicator will start flashing and “10” will show in the timer display. - Set the time by touching the “-“ or ”+” control of the timer.
Hint: Touch the “-“ or ”+” control of the timer once to decrease or increase by 1 minute. Touch and hold the “-“or ”+” control of the timer to decrease or increase by 10 minutes. Touching the “-“ and ”+” together, the timer is cancelled, and the timer indicator will turn off. - When the time is set, it will begin to count down immediately. The display will show the remaining time .
- Buzzer will bips for 30 seconds and the timer indicator will turn off when the setting time finished.
Setting the timer to turn one or more cooking zones off
If the timer is set on one zone:
- Select the relevant cooking zone which is working by touching the zone select key (A).
- Press the Timer key (F)
the timer at this point. the timing indicator flashes, and you can set - Using the “+” and “-“buttons, you can realize the setting of timing from 1 to 99 minutes
Hint: Touch the “-“ or “+” control of the timer once will decrease or increase by 1 minute. Touch and hold the ”-“ or “+”control of the timer will decrease or increase by 10 minutes. Touching the ”-“ and “+” together, the timer is cancelled, and the timer indicator will turn off. - When the time is set, it will begin to count down immediately. The display will show the remaining time and the timer indicator flash for 5 seconds.
NOTE: The red dot next to power level indicator will illuminate indicating that zone is selected.
- When cooking timer expires, the corresponding cooking zone will be switch off automatically. Other cooking zone will keep operating if they are turned on previously.
- When using “the timer as an alarm” and “the timer to switch off the zones” together ,the display will show the remaining time of alarm as first priority. Press cooking zone to show the remaining time of switch off timer.
FAILURE DISPLAY AND INSPECTION
If an abnormality comes up, the induction hob will enter the protective state automatically and display corresponding protective codes:
Error Message | Possible Cause | What to do |
| No pot or pot not suitable; | Replace the pot; | |
| E | Water or pot on the glass over the control | Clean the user interface |
| F1E | The connection between the display board and the left main board is fail (the cooking zone which indicator showing “E”) |
|
| F3E | Coil temperature sensor failure. (thecooking zone which indicator showing “E”) | Replace the coil sensor |
| F4E | Main board temperature sensor failure. (the cooking zone which indicator showing “E”) | Replace the main board |
| E1E | Temperature sensor of the ceramic glass plate ishigh | Please restart after the induction hob cools down. |
| E2 E | Temperature sensor of the IGBT is high | Please restart after the induction hob cools down. |
| E3 E | Abnormal supply voltage(too high) | Please inspect whether power supply is normal; Power on after the power supply is normal. |
| E4 E | Abnormal supply voltage (too low) | Please inspect whether power supply is normal; Power on after the power supply is normal. |
| E5 E | Temperature sensor failure(the cooking zone which indicator showing “E”) | Connection cable not correctly plugged or assemble defective; |
The above are the judgment and inspection of common failures. Please do not disassemble the unit by yourself to avoid any dangers and damages to the induction hob and please contact the supplier.
TECHNICAL SPECIFICATION
Cooking Hob | HI6400TB |
| Cooking Zones | 4 Zones |
Supply Voltage | 220-240V~ |
| Installed Electric Power | 7000W (230V) |
Product Size LxWxH (mm) | 590x520x60 |
| Building-in Dimensions AxB (mm) | 565×495 |
Weight and Dimensions are approximate. Because we continually strive to improve our products we may change specifications and designs without prior notice.
INSTALLATION
Selection of installation equipment
Cut out the work surface according to the sizes shown in the drawing.
For the purpose of installation and use, a minimum of 5 cm space shall be preserved around the hole. Be sure the thickness of the work surface is at least 30 mm. Please select heat-resistant work surface material to avoid larger deformation caused by the heat radiation from the hotplate. As shown below:
L (mm) | W (mm) | H (mm) | D (mm) | A (mm) | B (mm) | X (mm) |
| 590 | 520 | 60 | 55 | 565 | 495 | 50 min |
Under any circumstances, make sure the Induction cooker hob is well ventilated and the air inlet and outlet are not blocked. Ensure the induction cooker hob is in good work state. As shown below:
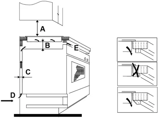
Note: The safety distance between the hotplate and the cupboard above the hotplate should be at least 760 mm.
A (mm) | B (mm) | C (mm) | D | E |
| 760 | 50 min | 20 min | Air intake | Air exit 5mm |
Before you install the hob, make sure that
- The work surface is square and level, and no structural members interfere with space requirements
- The work surface is made of a heat-resistant material
- If the hob is installed above an oven, the oven has a built-in cooling fan
- The installation will comply with all clearance requirements and applicable standards and regulations
- A suitable isolating switch providing full disconnection from the mains power supply is incorporated in the permanent wiring, mounted and positioned to comply with the local wiring rules and regulations.
- The isolating switch must be of an approved type and provide a 3 mm air gap contact separation in all poles (or in all active [phase] conductors if the local wiring rules allow for this variation of the requirements)
- The isolating switch will be easily accessible to the customer with the hob installed
- You consult local building authorities and by-laws if in doubt regarding installation
- You use heat-resistant and easy-to-clean finishes (such as ceramic tiles) for the wall surfaces surrounding the hob.
When you have installed the hob, make sure that
- The power supply cable is not accessible through cupboard doors or drawers
- There is adequate flow of fresh air from outside the cabinetry to the base of the hob
- If the hob is installed above a drawer or cupboard space, a thermal protection barrier is installed below the base of the hob
- The isolating switch is easily accessible by the customer.
Before locating the fixing brackets
The unit should be placed on a stable, smooth surface (use the packaging). Do not apply force onto the controls protruding from the hob.
Installation
Strech out the supplied seal along the underside edge of the hob, ensuring the ends overlap.

Do not use adhesive to fix the hob into the worktop. Once the seal is fitted position the hob into the cutout in the worktop. Apply gentle downwards pressure onto the hob to push it into the worktop ensuring a good seal around the outer edge (fig.3)
OR
- Fix the hob on the work surface by screw four brackets on the bottom of hob (see picture) after installation.
- Adjust the bracket position to suit for different work surface’s thickness.

Cautions
- The induction hotplate must be installed by qualified personnel or technicians. We have professionals at your service. Please never conduct the operation by yourself.
- The hob will not be installed directly above a dishwasher, fridge, freezer,
- washing machine or clothes dryer, as the humidity may damage the hob electronics
- The induction hotplate shall be installed such that better heat radiation can be ensured to enhance its reliability.
- The wall and induced heating zone above the table surface shall withstand heat.
- To avoid any damage, the sandwich layer and adhesive must be resistant to heat.
Connecting the hob to the mains power supply
This hob must be connected to the mains power supply only by a suitably qualified person. Before connecting the hob to the mains power supply, check that:
- The domestic wiring system is suitable for the power drawn by the hob.
- The voltage corresponds to the value given in the rating plate
- The power supply cable sections can withstand the load specified on the rating plate.
To connect the hob to the mains power supply, do not use adapters, reducers, or branching devices, as they can cause overheating and fire.
The power supply cable must not touch any hot parts and must be positioned so that its temperature will not exceed 75˚C at any point.
Check with an electrician whether the domestic wiring system is suitable without alterations.Any alterations must only be made by a qualified electrician.
- If the cable is damaged or to be replaced, the operation must be carried out the by after-sale agent with dedicated tools to avoid any accidents.
- If the appliance is being connected directly to the mains an omnipolar circuit-breaker must be installed with a minimum opening of 3mm between
- contacts.
- The installer must ensure that the correct electrical connection has been made and that it is compliant with safety regulations.
- The cable must not be bent or compressed.
- The cable must be checked regularly and replaced by authorised technicians only.
DISPOSAL: Do not dispose this product as unsorted municipal waste. Collection of such waste separately for special treatment is necessary.
This appliance is labeled in compliance with European directive 2011/65/EU for Waste Electrical and Electronic Equipment (WEEE). By ensuring that this appliance is disposed of correctly, you will help prevent any possible damage to the environment and to human health, which might otherwise be caused if it were disposed of in the wrong way.
The symbol on the product indicates that it may not be treated as normal household waste. It should be taken to a collection point for the recycling of electrical and electronic goods.
This appliance requires specialist waste disposal. For further information regarding the treatment, recover and recycling of this product please contact your local council, your household waste disposal service, or the shop where you purchased it.
For more detailed information about treatment, recovery and recycling of this product, please contact your local city office, your household waste disposal service or the shop where you purchased the product.



























