BRITA 4006387117252 Starter Pack Style Plus SodaONE – Noir
ATTACHING THE CO2 CYLINDER
- Unscrew the plastic cover and remove from the cylinder head.

- Lay the sodaONE on its side. Insert the cylinder into the soda ONE through the hole in the bottom and turn the cylinder in a clockwise direction until it fits securely.
IT’S SPARKLING WATER TIME!
- Before using the bottle for the first time, rinse it with dishwashing liquid and lukewarm water. Not dishwasher safe!

- Screw the water nozzle into the thread provided.

- Fill the bottle with water up to the line at the top.

- Screw the bottle into the thread provided.

- Press the button and hold it down until you hear a hissing sound from the valve.

- Unscrew the bottle after the remaining pressure has escaped.
CONTENTS

- sodaONE soda maker
- Water nozzle
- Usage instructions
- sodaONE PET bottle
- Drip tray cover
- CO2 cylinder
OVERVIEW
- Carbonator button
- Cylinder housing
- Water nozzle
- sodaONE PET bottle
- Drip tray with cover
- Base
Introduction
Thank you for choosing a soda maker from BRITA. With this product, you can turn fresh tap water into sparkling water in an instant. Making your own sparkling water is simple, cost-effective and kinder to the environment. What’s more, you can adjust how fizzy you want your water to be. With one BRITA CO2 cylinder you can make up to 60 litres of sparkling water. The exact quantity may vary, depending on how much fizz you prefer. The sodaONE soda maker is made from high-quality materials and undergoes regular product safety and quality testing. Soda makers operate with high gas pressure levels so it is important that the included safety instructions are observed.
Correct use
The soda maker is intended for personal use and by adults only. It is intended for use only to infuse drinking water with carbon dioxide, without any further additives. It should not be used for carbonating pre-flavoured soft drinks, juices, alcoholic drinks, or any drinks which have had additives such as syrups or effervescent tablets added. Any use beyond the intended purpose are considered misuse. BRITA shall not be liable for any damage or injury caused by misuse.
SAFETY INSTRUCTIONS
What liquids can I carbonate?
The soda maker must only be used with drinking water provided by water utilities and which complies accordingly with the legal requirements for drinking water quality. For an even better taste experience, use BRITA filtered water for carbonation. „Water is a perishable food and as such, you should always consume within two days.“ In the event that public authorities require that the mains water be boiled, you must also boil the water before carbonation! After boiling, the water must be allowed to cool before pouring it into the bottle. You must only carbonate still tap water! Other drinks, such as juices, soft drinks or tap water containing syrups may cause damage to the appliance or lead to adverse health effects.
Bottle
Please only use original BRITA sodaONE PET bottles with the sodaONE soda maker. Bottles of other manufacturers are not compatible and therefore pose a safety risk. This applies in particular to the use of glass bottles, regardless of the manufacturer. The BRITA sodaONE bottle is made of high-quality PET plastic with stainless steel elements. It is BPA free and specially designed for the BRITA soda maker.
- Before using it for the first time and after every other use, it must be cleaned by hand using only mild dishwashing liquid.
- When using a brush, make sure it is suitable for cleaning plastic bottles and will not leave scratch the surface.
- Not dishwasher safe!
- The bottle is only suitable for use in temperatures between +5° and +40° Celsius.
- Do not put the bottle in the freezer.
- Before every use, check the sodaONE bottle for cracks or distortions. Damaged bottles must not be used!
- High pressure is created inside the bottle during carbonation, and for safety reasons, each bottle must be replaced no later than 24 months after the first use.
- To avoid odours, store the empty bottle with the lid removed.
Using CO2 safely
WARNING!
CO2 is a colourless, odourless gas. There is a danger of suffocation in situations with high concentrations and poor ventilation.
- If you suspect increased CO2 concentration in a room, ventilate and leave the area.
- Do not make any alterations to the CO2 cylinder, such as piercing it, etc.
- Damaged CO2 cylinders should not be used and must be exchanged without delay!
- In cases of improper use, the pressure inside a CO2 cylinder can cause serious and even fatal injuries.
- When storing, CO2 cylinders can be placed vertically or horizontally, but be sure that they are prevented from rolling or falling.
- For safety reasons, the cylinder must never hit the floor with the valve upfront in order to avoid its damage which could cause a potential gas leak.
- When operating, always place CO2 cylinders in an upright position.
- Full CO2 cylinders must never be exposed to direct sunlight or temperatures above +50° Celsius.
- Store CO2 cylinders, whether full or empty, out of the reach of children.
- The BRITA sodaONE soda maker can be operated with standard commercial 425 g CO2 cylinders, but it is recommended using original BRITA CO2 cylinders.
- Do not use larger or smaller CO2 cylinders under any circumstances.
- CO2 cylinders may be very cold after use. Please wait for 10 minutes after your last use before changing the cylinder.
- Always use the soda maker with full water bottles! Never fill an empty bottle with CO2.
- Never attempt to fill the CO2 cylinder yourself.
Use
- Select a suitable location for the BRITA soda maker on a flat, stable surface away from heat sources or open flames, such as stoves or ovens.
- Always use the soda maker in an upright position.
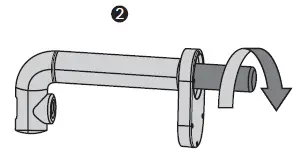
Installing the CO2 cylinder
- Screw the water nozzle into the thread provided on the soda maker.
- Remove the drip tray cover and place the soda maker on its side.
- Remove the seal on the cylinder head and unscrew the valve cover.
- Slide the cylinder carefully into the body from the bottom.
- As soon as the cylinder makes contact with the end, turn it in a clockwise direction.
- Do not screw too tightly, as this may cause damage to the system or the cylinder itself.
- Place the soda maker in an upright position and replace the drip tray cover.
To remove an empty cylinder, reverse the procedure used to install the cylinder, ensuring that you unscrew it in an anti-clockwise direction.
It’s sparkling water time!
- Before using the bottle for the first time, rinse it by hand using a mild dishwashing liquid and lukewarm water. The bottle is not dishwasher safe!
- Do not fill above the ‚Max‘ marking. If the bottle is filled above this level, the water will overflow when it is carbonated.
- TIP: To enjoy an even better sparkling water experience, fill the bottle with fridge-chilled, filtered water from a BRITA water filter jug.
- Screw the full bottle securely into the soda maker.
- Press the carbonator button all the way down. After 2-3 seconds you will hear a clear buzzing sound.
- Release the carbonator button to allow the excess pressure to escape.
- Carefully unscrew the bottle from the soda maker and enjoy your freshly carbonated water.
Individually-adjusted fizziness
With the BRITA sodaONE soda maker, you can individually adjust the fizziness of your water:
- A short press of the carbonator button (approx. 1 second) will give you slightly fizzy water.
- For medium fizziness, hold the button down for approx. 2 seconds.
- For extra-fizzy water, keep the carbonator button pressed down until you can hear a clear buzzing sound (approx. 3 seconds).
- By repeating this procedure you can add even more fizziness to your water.
Cleaning the sodaONE soda maker and the bottle
To ensure your soda maker gives you years of satisfaction, regular cleaning of the carbonator and the bottle is recommended. Clean using only mild dishwashing liquid, lukewarm water and, if necessary, a bottle brush. Before using the brush, make sure it is suitable for cleaning plastic bottles and will not leave any scratches. The bottle is not designed to withstand high temperatures (over +40° Celsius), which means it is not dishwasher safe. As a result of the carbonation process, excess water may accumulate in the drip tray. Please ensure the drip tray is regularly emptied and cleaned.
Troubleshooting

Important information
Disposal
The packaging is made from recyclable material and can be disposed of with household waste-paper recycling. Kindly dispose of the bottles in the general waste collection. The soda maker can be disposed of as bulky waste, or at communal recycling centers. BRITA CO2 cylinders can be disposed at communal recycling centers. Please comply with the respective local requirements.
100% satisfaction: the BRITA guarantee
At BRITA, we are convinced that you will be satisfied by the performance and quality of this product. But if you are not satisfied with this product, BRITA will take it back within 30 days of the date of purchase and refund the purchase price. To do this, send the product with the sales receipt, the reason for the return, your full name, telephone number and bank account details to the customer service address in your home country, which is stated on the back.
Exclusion of liability
Please understand that BRITA assumes no liability for a failure to comply with the usage instructions.
BRITA Water Filter Systems Ltd.
- BRITA House, 9 Granville Way, Bicester, Oxfordshire, OX26 4JT, UK
- BRITACare: 0344 7424800
1049219-03-ELA 04/22
Manual_QSG_SodaOne_CELA




























