
SKU # 1007 659 877
Model # 22RT1772214

Thank you!
We appreciate the trust and confidence you have placed in Home Accents through the purchase of this 3ft Yuletide Lane LED Teddy Bear Nutcracker. We strive to continually create quality products designed to enhance your home. Visit us online to see our full line of products available for your home improvement needs. Thank you for choosing Home Accents!
1-855-HDHoliday (1-855-434-6543)
HOMEACCENTSHOLIDAY.COM
Parts List
Locater | Name | Qty. |
| A | Hat & Head | 1 |
B | Ears | 2 |
| C | Half of Body | 2 |
D | Arm | 2 |
| E | Leg & Foot | 2 |
Hardware List
Locater | Name | Qty. |
| F | Spare Bulb | 2 |
G | Spare Fuse | 2 |
| H | Plastic Tie | 15 |
I | Ground Stake | 4 |
ASSEMBLY INSTRUCTIONS
3ft Yuletide Lane LED Teddy Bear Nutcracker
USE AND CARE GUIDE
PLANNING ASSEMBLY
Carefully remove all the parts from the box and place them on the ground. Many parts are connected by the lighting string that runs throughout the item. Take special care not to pull, cut or damage the lighting string. Read the entire manual prior to assembly and identify all the parts included in the package against the parts list. It is recommended to assemble parts of the product while laying flat on the ground or on a table, versus standing the item up to assemble the parts. If any parts are missing or damaged do not attempt assembly but contact our customer service center or return to place of purchase with purchase receipt.
Assembly of this product may require more than one person.
1-855-HDHoliday (1-855-434-6543)
Pre-Operation
CAUTION: Grasp the plug to insert or remove from the power source.
Do not unplug by pulling on cord.
CAUTION: The lighting string on this product is rated at 4.8 Watts (0.04 Amps). Do not overload. Do not connect to another lighting string, decorative outfit or other electrical products. Before you use or re-use this product inspect it carefully. Discard or return to place of purchase with purchase receipt if the product has cuts, damage, frayed wire insulation on cords, cracks in the socket enclosures, loose connections, exposed copper wire or other obvious damage.
Care and Cleaning
a. Carefully remove the product from wherever it is placed. This helps to avoid any undue strain or stress on the product connections, and wires. If the product is placed somewhere other than the ground it should be well secured, flat and stable.
b. Carefully disassemble the unit taking caution not to cut any electrical wires.
c. Wipe the unit with a damp cloth and allow the unit to dry before storing.
d. Store the product neatly in a cool, dry location protected from sunlight.
Troubleshooting
a. Ensure that the floor or surface that the item sits on is flat and level
b. Be sure to plug the item correctly to a wall outlet or a UL Listed Power Cord
c. Ensure all parts are assembled properly per the Instruction Manual
d. If the item does not light check for loose or broken bulbs and connections
e. Do not plug into other electrical items
f. If the item has multiple Light String Cords be sure to plug in all cords
g. Check for Broken or Burned Out Fuse In Plug
Guarantee
What is Covered
The product is intended for residential seasonal use for 90 days maximum per year. This product is covered by a 90 days limited guarantee due to defects in material and workmanship. Return the product with purchase receipts to the location of purchase for refund within 90 days of purchase.
What is Not Covered
This warranty does not cover commercial use, normal wear and tear, products not used in accordance with directions provided on or with the product, burn out of bulbs or LEDS, batteries, products that have been subjected to unauthorized repair and/or modification and damage caused by shipping and improper handling, alterations, misuse, in store display models or accidents. Questions, problems, missing parts? Before returning to the store, call Home Accents Holiday Customer Service 8 a.m.-6 p.m., EST, Monday-Friday 1-855-HDHoliday (1-855-434-6543)
Diagram of Parts

ASSEMBLY
1 Assembling the Body
Align the two Halves of Body (C) with each other then insert the connecting rods on one half into the connecting holes on the other half and fasten at the connecting loops with Plastic Ties (H).

2 Assembling the Legs to the Body
Insert the connecting rods at the top of the Legs (E) into the connecting holes at the bottom of the Body (C) and fasten at the connecting loops with Plastic Ties (H).

3 Assembling the Arms to the Body
Insert the connecting rods on the Arms (D) into the connecting holes on the upper sides of the Body (C) and fasten at the connecting loops with Plastic Ties (H).

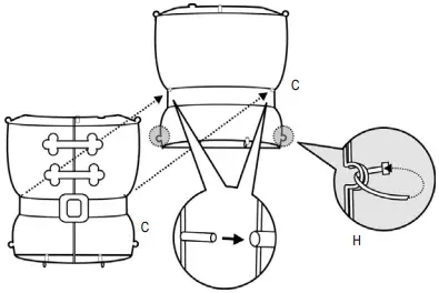
4 Assembling the Head to the Body and Ears to the Head
Insert the connecting rods at the bottom of Head (A) into the connecting holes at the top of Body (C) and fasten at the connecting loops with Plastic Ties (H). Insert the connecting rods at the bottom of Ears (B) into the connecting holes on the sides of the Head (A).
5 Assembling the Ground Stakes
Insert the Ground Stakes (I) over the metal frame at the front and back of each foot then into the ground firmly.







