
RYOBI AG454 4-1/2 in. ANGLE GRINDER 
Product Overview
WARNING: To reduce the risk of injury, the user must read and understand the operator’s manual before using this product.
- A – Guard
- B – Spindle lock button
- C – 90˚ rotating handle
- D – Lock-on button
- E – Switch trigger
- F – Side handle
- G- Wrench storage
- H – Wrench
GENERAL POWER TOOL SAFETY WARNINGS
WARNING: Read all safety warnings and all instructions. Failure to follow the warnings and instructions may result in electric shock, fire and/or serious injury.
Save all warnings and instructions for future reference. The term “power tool” in the warnings refers to your mains-operated (corded) power tool or battery-operated (cordless) power tool.
WORK AREA SAFETY
- Keep work area clean and well lit. Cluttered or dark areas invite accidents.
- Do not operate power tools in explosive atmospheres, such as in the presence of flammable liquids, gases or dust. Power tools create sparks which may ignite the dust or fumes.
- Keep children and bystanders away while operating a power tool. Distractions can cause you to lose control.
ELECTRICAL SAFETY
- Power tool plugs must match the outlet. Never modify the plug in any way. Do not use any adapter plugs with earthed (grounded) power tools. Unmodified plugs and matching outlets will reduce risk of electric shock.
- Avoid body contact with earthed or grounded surfaces such as pipes, radiators, ranges and refrigerators. There is an increased risk of electric shock if your body is earthed or grounded.
- Do not expose power tools to rain or wet conditions. Water entering a power tool will increase the risk of electric shock.
- Do not abuse the cord. Never use the cord for carrying, pulling or unplugging the power tool. Keep cord away from heat, oil, sharp edges or moving parts. Damaged or entangled cords increase the risk of electric shock.
- When operating a power tool outdoors, use an extension cord suitable for outdoor use. Use of a cord suitable for outdoor use reduces the risk of electric shock.
- If operating a power tool in a damp location is unavoidable, use a ground fault circuit interrupter (GFCI) protected supply. Use of a GFCI reduces the risk of electric shock.
PERSONAL SAFETY
- Stay alert, watch what you are doing and use com-mon sense when operating a power tool. Do not use a power tool while you are tired or under the influence of drugs, alcohol or medication. A moment of inattention while operating power tools may result in serious personal injury.
- Use personal protective equipment. Always wear eye protection. Protective equipment such as dust mask, non-skid safety shoes, hard hat, or hearing protection used for appropriate conditions will reduce personal injuries.
- Prevent unintentional starting. Ensure the switch is in the off-position before connecting to power source and/or battery pack, picking up or carrying the tool. Carrying power tools with your finger on the switch or energising power tools that have the switch on invites accidents.
- Remove any adjusting key or wrench before turning the power tool on. A wrench or a key left attached to a rotating part of the power tool may result in personal injury. Do not overreach. Keep proper footing and balance at all times. This enables better control of the power tool in unexpected situations.
- Dress properly. Do not wear loose clothing or jewellery. Keep your hair, clothing and gloves away from moving parts. Loose clothes, jewellery or long hair can be caught in moving parts.
- If devices are provided for the connection of dust extraction and collection facilities, ensure these are connected and properly used. Use of dust collection can reduce dust-related hazards.
- Do not wear loose clothing or jewelry. Contain long hair. Loose clothes, jewelry, or long hair can be drawn into air vents.
- Do not use on a ladder or unstable support. Stable footing on a solid surface enables better control of the power tool in unexpected situations.
POWER TOOL USE AND CARE
- Do not force the power tool. Use the correct power tool for your application. The correct power tool will do the job better and safer at the rate for which it was designed.
- Do not use the power tool if the switch does not turn it on and off. Any power tool that cannot be controlled with the switch is dangerous and must be repaired.
- Disconnect the plug from the power source and/or the battery pack from the power tool before making any adjustments, changing accessories, or storing power tools. Such preventive safety measures reduce the risk of starting the power tool accidentally.
- Store idle power tools out of the reach of children and do not allow persons unfamiliar with the power tool or these instructions to operate the power tool. Power tools are dangerous in the hands of untrained users.
- Maintain power tools. Check for misalignment or bind-ing of moving parts, breakage of parts and any other condition that may affect the power tool’s operation. If damaged, have the power tool repaired before use. Many accidents are caused by poorly maintained power tools.
- Keep cutting tools sharp and clean. Properly maintained cutting tools with sharp cutting edges are less likely to bind and are easier to control.
GENERAL POWER TOOL SAFETY WARNINGS
- Use the power tool, accessories and tool bits etc. in accordance with these instructions, taking into account the working conditions and the work to be performed. Use of the power tool for operations different from those intended could result in a hazardous situation.
- When servicing a power tool, use only identical re-placement parts. Follow instructions in the Mainte-nance section of this manual. Use of unauthorized parts or failure to follow Maintenance instructions may create a risk of shock or injury.
SERVICE
Have your power tool serviced by a qualified repair person using only identical replacement parts. This will ensure that the safety of the power tool is maintained.
ANGLE GRINDER SAFETY WARNINGS
SAFETY WARNINGS COMMON FOR GRIND-ING, SANDING, WIRE BRUSHING AND POLISH-ING OPERATIONS
- This power tool is intended to function as a grinder, sander, wire brush, or polisher. Read all safety warn-ings, instructions, illustrations and specifications provided with this power tool. Failure to follow all in-structions listed below may result in electric shock, fire and/or serious injury.
- Operations such as cutting-off are not recommended to be performed with this power tool. Operations for which the power tool was not designed may create a hazard and cause personal injury.
- Do not use accessories which are not specifically designed and recommended by the tool manufacturer. Just because the accessory can be attached to your power tool, it does not assure safe operation.
- The rated speed of the accessory must be at least equal to the maximum speed marked on the power tool. Accessories running faster than their rated speed can break and fly apart.
- The outside diameter and the thickness of your acces-sory must be within the capacity rating of your power tool. Incorrectly sized accessories cannot be adequately guarded or controlled.
- Threaded mounting of accessories must match the grinder spindle thread. For accessories mounted by flanges, the arbour hole of the accessory must fit the locating diameter of the flange. Accessories that do not match the mounting hardware of the power tool will run out of balance, vibrate excessively and may cause loss of control.
- Do not use a damaged accessory. Before each use in-spect the accessory such as abrasive wheels for chips and cracks, backing pad for cracks, tear or excess wear, wire brush for loose or cracked wires. If power tool or accessory is dropped, inspect for damage or install an undamaged accessory. After inspecting and installing an accessory, position yourself and bystand-ers away from the plane of the rotating accessory and run the power tool at maximum no-load speed for one minute. Damaged accessories will normally break apart during this test time.
- Wear personal protective equipment. Depending on application, use face shield, safety goggles or safety glasses. As appropriate, wear dust mask, hearing protectors, gloves and workshop apron capable of stopping small abrasive or workpiece fragments. The eye protection must be capable of stopping flying debris generated by various operations. The eye protection must be capable of stopping flying debris generated by various operations. The dust mask or respirator must be capable of filtrating particles generated by your operation. Prolonged exposure to high intensity noise may cause hearing loss.
- Keep bystanders a safe distance away from work area. Anyone entering the work area must wear personal protective equipment. Fragments of workpiece or of a broken accessory may fly away and cause injury beyond immediate area of operation.
- Hold the power tool by insulated gripping surfaces only, when performing an operation where the cutting accessory may contact hidden wiring or its own cord. Cutting accessory contacting a “live” wire may make exposed metal parts of the power tool “live” and shock the operator.
- Position the cord clear of the spinning accessory. If you lose control, the cord may be cut or snagged and your hand or arm may be pulled into the spinning accessory.
- Never lay the power tool down until the accessory has come to a complete stop. The spinning accessory may grab the surface and pull the power tool out of your control.
- Do not run the power tool while carrying it at your side. Accidental contact with the spinning accessory could snag your clothing, pulling the accessory into your body.
- Regularly clean the power tool’s air vents. The motor’s fan will draw the dust inside the housing and excessive accumulation of powdered metal may cause electrical hazards.
- Do not operate the power tool near flammable materials. Sparks could ignite these materials.
- Do not use accessories that require liquid coolants. Using water or other liquid coolants may result in electrocution or shock.
Kickback is a sudden reaction to a pinched or snagged rotating wheel, backing pad, brush or any other accessory. Pinching or snagging causes rapid stalling of the rotating accessory which in turn causes the uncontrolled power tool to be forced in the direction opposite of the accessory’s rotation at the point of the binding.
For example, if an abrasive wheel is snagged or pinched by the workpiece, the edge of the wheel that is entering into the pinch point can dig into the surface of the material causing the wheel to climb out or kick out. The wheel may either jump toward or away from the operator, depending on direction of the wheel’s movement at the point of pinching. Abrasive wheels may also break under these conditions.
Kickback is the result of power tool misuse and/or incorrect operating procedures or conditions and can be avoided by taking proper precautions as given below.
- Maintain a firm grip on the power tool and position your body and arm to allow you to resist kickback forces. Always use auxiliary handle, if provided, for maximum control over kickback or torque reaction during start-up. The operator can control torque reactions or kickback forces, if proper precautions are taken.
- Never place your hand near the rotating accessory. Accessory may kickback over your hand.
- Do not position your body in the area where power tool will move if kickback occurs. Kickback will propel the tool in direction opposite to the wheel’s movement at the point of snagging.
- Use special care when working corners, sharp edges etc. Avoid bouncing and snagging the accessory. Corners, sharp edges or bouncing have a tendency to snag the rotating accessory and cause loss of control or kickback.
- Do not attach a saw chain woodcarving blade or toothed saw blade. Such blades create frequent kickback and loss of control.
SAFETY WARNINGS SPECIFIC FOR GRINDING OPERATIONS
- Use only wheel types that are recommended for your power tool and the specific guard designed for the selected wheel. Wheels for which the power tool was not designed cannot be adequately guarded and are unsafe.
- The grinding surface of centre depressed wheels must be mounted below the plane of the guard lip. An improperly mounted wheel that projects through the plane of the guard lip cannot be adequately protected.
- The guard must be securely attached to the power tool and positioned for maximum safety, so the least amount of wheel is exposed towards the operator. The guard helps to protect operator from broken wheel fragments and accidental contact with wheel.
- Wheels must be used only for recommended applications. For example: do not grind with the side of cut-off wheel. Abrasive cut-off wheels are intended for peripheral grinding, side forces applied to these wheels may cause them to shatter.
- Always use undamaged wheel flanges that are of correct size and shape for your selected wheel. Proper wheel flanges support the wheel thus reducing the possibility of wheel breakage. Flanges for cut-off wheels may be different from grinding wheel flanges.
- Do not use worn down wheels from larger power tools. Wheel intended for larger power tool is not suitable for the higher speed of a smaller tool and may burst.
SAFETY WARNINGS SPECIFIC FOR SANDING OPERATIONS
- Do not use excessively oversized sanding disc paper. Follow manufacturers recommendations, when selecting sanding paper. Larger sanding paper extending beyond the sanding pad presents a laceration hazard and may cause snagging, tearing of the disc or kickback.
SAFETY WARNINGS SPECIFIC FOR POLISHING OPERATIONS
- Do not allow any loose portion of the polishing bonnet or its attachment strings to spin freely. Tuck away or trim any loose attachment strings. Loose and spinning attachment strings can entangle your fingers or snag on the workpiece.
SAFETY WARNINGS SPECIFIC FOR WIRE BRUSHING OPERATIONS
- Be aware that wire bristles are thrown by the brush even during ordinary operation. Do not overstress the wires by applying excessive load to the brush. The wire bristles can easily penetrate light clothing and/or skin.
- If the use of a guard is recommended for wire brushing, do not allow any interference of the wire wheel or brush with the guard. Wire wheel or brush may expand in diameter due to work load and centrifugal forces.
ADDITIONAL SAFETY RULES
- Always use proper guard with grinding wheel. A guard protects operator from broken wheel fragments.
- Know your power tool. Read operator’s manual care-fully. Learn its applications and limitations, as well as the specific potential hazards related to this tool. Following this rule will reduce the risk of electric shock, fire, or serious injury.
- Always wear eye protection with side shields marked to comply with ANSI Z87.1. Failure to do so could result in objects being thrown into your eyes, resulting in pos-sible serious injury.
- Protect your lungs. Wear a face or dust mask if the operation is dusty. Following this rule will reduce the risk of serious personal injury.
- Protect your hearing. Wear hearing protectors during extended periods of operation. Following this rule will reduce the risk of serious personal injury.
- Inspect tool cords periodically and, if damaged, have repaired at your nearest authorized service center. Constantly stay aware of cord location. Following this rule will reduce the risk of electric shock or fire.
- Check damaged parts. Before further use of the tool, a guard or other part that is damaged should be carefully checked to determine that it will operate properly and perform its intended function. Check for alignment of moving parts, binding of moving parts, breakage of parts, mounting, and any other conditions that may affect its operation. A guard or other part that is damaged should be properly repaired or replaced by an authorized service center. Following this rule will reduce the risk of shock, fire, or serious injury.
- Make sure your extension cord is in good condi-tion. When using an extension cord, be sure to use one heavy enough to carry the current your product will draw. A wire gauge size (A.W.G.) of at least 14 is recommended for an extension cord 50 feet or less in length. A cord exceeding 100 feet is not recom-mended. If in doubt, use the next heavier gauge. The smaller the gauge number, the heavier the cord. An undersized cord will cause a drop in line voltage resulting in loss of power and overheating.
- Inspect for and remove all nails from lumber before using this tool. Following this rule will reduce the risk of serious personal injury.
- If the power supply cord is damaged, it must be re-placed only by the manufacturer or by an authorized service center to avoid risk.
- Save these instructions. Refer to them frequently and use them to instruct others who may use this tool. If you loan someone this tool, loan them these instructions also.
SYMBOLS
The following signal words and meanings are intended to explain the levels of risk associated with this product. SYMBOL SIGNAL MEANING
- DANGER: Indicates a hazardous situation, which, if not avoided, will result in death or serious injury.
- WARNING: Indicates a hazardous situation, which, if not avoided, could result in death or serious injury.
- CAUTION: Indicates a hazardous situation, that, if not avoided, may result in minor or moderate injury.
- NOTICE: (Without Safety Alert Symbol) Indicates information considered important, but not related to a potential injury (e.g. messages relating to property damage).
Some of the following symbols may be used on this product. Please study them and learn their meaning. Proper interpretation of these symbols will allow you to operate the product better and safer.
ELECTRICAL
DOUBLE INSULATION
Double insulation is a concept in safety in electric power tools, which eliminates the need for the usual three-wire grounded power cord. All exposed metal parts are isolated from the internal metal motor components with protecting insulation. Double insulated tools do not need to be grounded.
WARNING: The double insulated system is intended to protect the user from shock resulting from a break in the tool’s internal insulation. Observe all normal safety precautions to avoid electrical shock.
NOTE: Servicing of a tool with double insulation requires extreme care and knowledge of the system and should be performed only by a qualified service technician. For service, we suggest you return the tool to your nearest authorized service center for repair. Always use original factory replace-ment parts when servicing.
ELECTRICAL CONNECTION
This tool has a precision-built electric motor. It should be connected to a power supply that is 120 volts, AC only (normal household current), 60 Hz. Do not operate this tool on direct current (DC). A substantial voltage drop will cause a loss of power and the motor will overheat. If the tool does not operate when plugged into an outlet, double-check the power supply.
EXTENSION CORDS
When using a power tool at a considerable distance from a power source, be sure to use an extension cord that has the capacity to handle the current the tool will draw. An undersized cord will cause a drop in line voltage, resulting in overheating and loss of power. Use the chart to determine the minimum wire size required in an extension cord. Only round jacketed cords listed by Underwriter’s Laboratories (UL) should be used.
When working outdoors with a tool, use an extension cord that is designed for outside use. This type of cord is desig-nated with “W-A” or “W” on the cord’s jacket.
Before using any extension cord, inspect it for loose or exposed wires and cut or worn insulation.
| 25′ | 16 | 16 | 16 | 16 | 14 | 14 |
| 50′ | 16 | 16 | 16 | 14 | 14 | 12 |
| 100′ | 16 | 16 | 14 | 12 | 10 | — |
WARNING: Keep the extension cord clear of the working area. Position the cord so that it will not get caught on lumber, tools or other obstructions while you are working with a power tool. Failure to do so can result in serious personal injury.
WARNING: Check extension cords before each use. If damaged replace immediately. Never use tool with a damaged cord since touching the damaged area could cause electrical shock resulting in serious injury.
FEATURES
PRODUCT SPECIFICATIONS
- Wheel Size …………………………………………………….4-1/2 in.
- Wheel Thickness ……………………………….. 0.236 in. (6 mm)
- Arbor Size ………………………………………… 5/8 in. x 11 UNC
- No Load Speed ……………………………. 11,000 r/min. (RPM)
- Input …………………………. 120 V, AC only, 60 Hz, 7.5 Amps
ASSEMBLY
UNPACKING
This product requires assembly.
Carefully remove the tool and any accessories from the box. All items listed in the Includes section must be included at the time of purchase.
WARNING: Items in this Assembly section are not assembled to the product by the manufacturer and require customer installation. Use of a product that may have been improperly assembled could result in serious personal injury.
- Inspect the tool carefully to make sure no breakage or damage occurred during shipping.
- Do not discard the packing material until you have care-fully inspected and satisfactorily operated the tool.
- If any parts are damaged or missing, please call 1- 800-525-2579 for assistance.
WARNING: If any parts are damaged or missing do not operate this tool until the parts are replaced. Use of this product with damaged or missing parts could result in serious personal injury.
WARNING: Do not attempt to modify this tool or create accessories not recommended for use with this tool. Any such alteration or modification is misuse and could result in a hazardous condition leading to possible serious personal injury.
WARNING: Do not connect to power supply until assembly is complete. Failure to comply could result in accidental starting and possible serious personal injury.
INSTALLING/REPLACING GRINDING WHEEL
See Figure 1
- A – To tighten
- B – To loosen
- C – Grinding wheel
- D – Disc flange
- E – Spindle
- F – Flat(s)
- G – Spindle lock button
- H – Flange nut
- I – Wrench
DANGER: Use ONLY Type 27 depressed center grinding wheels (such as the one provided with this product). NEVER attach a Type 1 straight or cut-off wheel to this angle grinder. This product is only designed for grinding and sanding. Use for any other purpose is not recommended and creates a hazard, which will result in serious injury.
DANGER: Never attach a wood cutting or carving blade of any type to this angle grinder. It is only designed for grinding and sanding. Use for any other purpose is not recommended and creates a hazard, which will result in serious injury.
WARNING: Thoroughly inspect a new grinding wheel before you install it on the grinder.
- Tap lightly around the wheel using a wooden hammer.
- Listen carefully to the resulting sounds. Places with fissures or cracks will result in a different sound.
Do not use a wheel containing fissures or cracks. When you install a new grinding wheel, carry out a no load revolution test of approximately one minute with the grinding wheel facing a safe direction, i.e., away from people or objects. - Unplug the angle grinder.
- Depress and hold the spindle lock button and rotate nut with provided wrench until spindle locks.
NOTE: To prevent damage to the spindle or spindle lock, always allow motor to come to a complete stop before engaging spindle lock. - Loosen and remove flange nut from spindle. Do not remove disc flange.
- Make sure flats on the bottom of disc flange are engaged with flats on spindle.
- Place the grinding wheel over the spindle.
WARNING: Always install a grinding wheel with the depressed center against the disc flange. Failure to do so will cause the grinding wheel to crack when tightening the flange nut. This could result in serious personal injury because of loose particles breaking off and being thrown from the grinder. Do not overtighten. - Thread the flange nut on the spindle with the flat side of nut facing up. Fit raised, small diameter portion of the clamp nut into the hole in the wheel and finger tighten.
- Depress and hold the spindle lock button and rotate the wheel clockwise until the spindle locks in position.
- Securely tighten the nut with the wrench provided. Do not overtighten.
DANGER: Never attach a TYPE 1 straight or cut-off wheel to this angle grinder. It is only designed for grinding and sand-ing. Use for any other purpose is not recommended and creates a hazard, which will result in serious injury.
INSTALLING THE SIDE HANDLE
See Figure 20
- A – Side handle
- B – To loosen
- C – To tighten
WARNING: The side handle must always be used to help prevent loss of control and possible serious injury.
- Unplug the angle grinder.
- Insert the side handle into the desired operating position.
- Securely tighten by turning the side handle clockwise.
NOTE: You can install the handle on the top, left, or right side of the grinder depending on operator preference.
OPERATION
WARNING:
- Do not allow familiarity with tools to make you care-less. Remember that a careless fraction of a second is sufficient to inflict serious injury.
- Always wear eye protection with side shields marked to comply with ANSI Z87.1. Failure to do so could result in objects being thrown into your eyes resulting in possible serious injury.
- Do not use any attachments or accessories not recommended by the manufacturer of this tool. The use of attachments or accessories not recommended can result in serious personal injury.
APPLICATIONS
You may use this tool for the purposes listed below:
- Grinding metals
- Sanding wood or metal surfaces
SWITCH TRIGGER
See Figure 3
- A. Lock-on button
- B. Switch trigger
- To turn the angle grinder ON, depress the switch trigger. To turn it OFF, release the switch trigger.
See Figure 3
The angle grinder is equipped with a lock-on feature, which is convenient for continuous grinding/sanding for extended periods of time.
To lock-on:
- Depress the switch trigger.
- Push in and hold the lock-on button, located on the side of the handle.
- Release the switch trigger.
- Release the lock-on button and the angle grinder will continue running.
- To release the lock, depress and release the switch trigger.
- If the lock-on feature is engaged during use and the angle grinder becomes disconnected from the power supply, disengage the lock-on feature immediately.
NOTICE: Never cover air vents. They must always be open for proper motor cooling.
90˚ ROTATING HANDLE
See Figure 4
A – Push handle lock button to rotate handle (pousser le bouton pour tourner la poignée, empuje el botón para girar el mango)
The handle on the angle grinder can rotate 90˚ to the left or the right for ease of operation.
To adjust the 90˚ rotating handle:
- Press and hold handle lock button.
- Rotate the handle to the desired position and release the handle lock button.
NOTE: Make sure the handle lock button on the 90˚ rotating handle clicks and locks into place when changing handle positions.
POSITIONING THE GUARD
See Figures 5
CORRECT LOCATION OF GUARD IS BETWEEN POINTS A AND B
Never use the angle grinder without the guard in place and properly adjusted.
- Unplug the angle grinder.
- Using the wrench provided, loosen and remove flange nut, grinding wheel, and disc flange from spindle if nec-essary.
- Unlock the guard clamp lever.
- Rotate the guard to its correct position as shown in figure 5.
- If removed, reassemble disc flange, grinding wheel and flange nut and tighten securely.
- Lock the guard clamp lever.
- Tighten clamp screw securely if needed.
WARNING: Never place the guard so that it is on front of the angle grinder as shown in figure 6. This could result in serious injury because sparks and loose particles thrown from the grinding wheel would be directed toward the operator. Always place the guard in the correct location as shown in figure 5.
DANGER: Never use your grinder with the guard removed. It has been designed for use only with the guard installed. Attempting to use grinder with guard removed will result in loose particles being thrown against the operator resulting in serious personal injury.
GRINDING AND SANDING
See Figures 7 – 8
Always carefully select and use grinding wheels that are recommended for the material to be ground. Make sure that the minimum operating speed of any accessory wheel selected is not less than 11,000 RPM. The grinding wheel provided with the angle grinder is suitable for grinding welds, preparing surfaces to be welded, grinding structural steel, and grinding stainless steel.
To operate the grinder:
- Secure all work before beginning any operation. Secure small workpieces in a vise or clamp to a workbench.
- Hold the angle grinder in front and away from you with both hands, keeping the grinding wheel clear of the workpiece.
- Start the angle grinder and let the motor and grinding wheel build up to full speed.
- Gradually lower angle grinder until the grinding wheel contacts the workpiece.
- Keep the angle grinder tilted at an angle from 5° and 15°.
WARNING: To prevent loss of control and possible serious personal injury, always operate the grinder with both hands, keep-ing one hand on the side handle. - Move the angle grinder continuously at a steady, consistent pace.
NOTICE: If the grinder is held in one spot too long, it will gouge and cut grooves in the workpiece. If the grinder is held at too sharp an angle, it will also gouge the workpiece because of concentration of pressure on a small area. - Use just enough pressure to keep the angle grinder from chattering or bouncing. Heavy pressure will decrease its speed and put a strain on the motor.
NOTE: Heavy pressure will decrease the grinder’s speed and put a strain on the motor. Normally the weight of the tool alone is adequate for most grinding jobs. Use light pressure when grinding jagged edges or loose bolts where there is the potential for the grinder to snag on the metal edge. - Lift the angle grinder away from the workpiece before turning the angle grinder off.
MAINTENANCE
WARNING: When servicing, use only identical replacement parts. Use of any other parts could create a hazard or cause product damage.
WARNING: Always wear eye protection with side shields marked to comply with ANSI Z87.1. Failure to do so could result in objects being thrown into your eyes resulting in possible serious injury.
GENERAL MAINTENANCE
Avoid using solvents when cleaning plastic parts. Most plastics are susceptible to damage from various types of commercial solvents and may be damaged by their use. Use clean cloths to remove dirt, dust, oil, grease, etc.
WARNING: Do not at any time let brake fluids, gasoline, petroleum-based products, penetrating oils, etc., come in contact with plastic parts. Chemicals can damage, weaken or destroy plastic which may result in serious personal injury.
Electric tools used on fiberglass material, wallboard, spackling compounds, or plaster are subject to accelerated wear and possible premature failure because the fiberglass chips and grindings are highly abrasive to bearings, brushes, commu-tators, etc. Consequently, we do not recommend using this tool for extended work on these types of materials. However, if you do work with any of these materials, it is extremely important to clean the tool using compressed air.
LUBRICATION
All of the bearings in this tool are lubricated with a sufficient amount of high grade lubricant for the life of the unit under normal operating conditions. Therefore, no further lubrica-tion is required.
POWER SUPPLY CORD REPLACEMENT
If replacement of the power supply cord is necessary, this must be done by an authorized service center in order to avoid a safety hazard.
REPLACING BRUSH ASSEMBLIES
See Figure 9
- A. Brush cap
- B – Brush assembly
- The angle grinder has externally accessible brush assemblies that should periodically be checked for wear.
To replace brushes:
- Unplug the angle grinder.
- Remove brush cap with a screwdriver. Brush assembly is spring loaded and will pop out when you remove brush cap.
- Remove brush assembly (brush and spring).
- Check for wear. If worn, always replace in pairs. Do not replace one side without replacing the other.
- Reassemble using new brush assemblies. Make sure curvature of brush matches curvature of motor and that brush moves freely in brush tube.
- Make sure brush cap is oriented correctly (straight) and replace.
- Tighten brush cap securely. Do not overtighten.
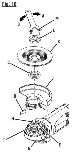
GUARD REPLACEMENT
See Figure 10
- A – To tighten
- B – To loosen
- C – Disc flange
- D – Guard clamp lever
- E – Arrow
- F Bearing cap
- G – Spindle lock button
- H – Spindle
- I – Clamp screw
- J – Guard
- K – Grinding wheel
- L – Flange nut
- M – Wrench
After extended use, the guard may become worn and need adjustment or replacing. Or, if you drop the angle grinder and damage the guard, it may be necessary to replace it.
To replace the guard:
- Unplug the angle grinder.
- Depress spindle lock button and rotate nut with provided wrench until spindle locks.
NOTE: To prevent damage to the spindle or spindle lock, always allow motor to come to a complete stop before engaging spindle lock. - Using the wrench provided, loosen and remove nut, grinding wheel, and disc flange from spindle if necessary.
- Unlock the guard clamp lever.
- Remove the guard.
- Place the new guard on the shoulder of the bearing cap, aligning the arrow with the slot on the bottom of the angle grinder.
NOTE: If the new guard will not fit, loosen the clamp screw until it will slide over the bearing cap. Be sure the tabs on the guard are seated in the groove in the bearing cap. - Rotate guard to the correct position. Refer to Positioning the Guard earlier in this manual.
- Lock the guard clamp lever.
- Tighten clamp screw securely if needed.
- Reinstall grinding wheel. Refer to Installing/Replacing Grinding Wheel earlier in this manual.
To request service, purchase replacement parts, locate an Authorized Service Center or obtain Customer or Technical Support:
Visit www.ryobitools.com or call 1-800-525-2579
If any parts or accessories are damaged or missing, do not return this product to the store. Call 1-800-525-2579 for immediate service.
Please obtain your model and serial number from the product data plate.
This product is covered under a 3-year limited Warranty. Proof of purchase is required.
MODEL NUMBER* _______________ SERIAL NUMBER ____________________________
*Model number on product may have additional letters at the end. These letters designate manufacturing information and should be provided when calling for service.
RYOBI is a trademark of Ryobi Limited and is used pursuant to a license granted by Ryobi Limited.
- ONE WORLD TECHNOLOGIES, INC.
- P.O. Box 1288, Anderson, SC 29622 • Phone 1-800-525-2579
- www.ryobitools.com



















