PCL445 ONE 18V Cordless 4-1-2 Inch Angle Grinder
User Manual![]()

INCLUDES: Angle Grinder, Side Handle/Wrench, Grinding Wheel, Operator’s Manual
WARNING: To reduce the risk of injury, the user must read and understand the operator’s manual before using this product.
SAVE THIS MANUAL FOR FUTURE REFERENCE
GENERAL SAFETY RULES
WARNING!
Read all instructions. Failure to follow all instructions listed below may result in electric shock, fire, and/or serious injury. The term “power tool” in all of the warnings listed below refers to your mains-operated (corded) power tool or battery-operated (cordless) power tool.
SAVE THESE INSTRUCTIONS FOR WORK AREA SAFETY
- Keep the work area clean and well-lit. Cluttered or dark areas invite accidents.
- Do not operate power tools in explosive atmospheres, such as in the presence of flammable liquids, gases, or dust. Power tools create sparks that may ignite dust or fumes.
- Keep children and bystanders away while operating a power tool. Distractions can cause you to lose control.
ELECTRICAL SAFETY
- Power tool plugs must match the outlet. Never modify the plug in any way. Do not use any adapter plugs with earthed (grounded) power tools.
Unmodified plugs and matching outlets will reduce the risk of electric shock. - Avoid body contact with earthed or grounded surfaces such as pipes, radiators, ranges, and refrigerators.
There is an increased risk of electric shock if your body is earthed or grounded. - Do not expose power tools to rain or wet conditions.
Water entering a power tool will increase the risk of electric shock. - Do not abuse the cord. Never use the cord for carrying, pulling, or unplugging the power tool. Keep cord away from heat, oil, sharp edges or moving parts. Damaged or entangled cords increase the risk of electric shock.
- When operating a power tool outdoors, use an extension cord suitable for outdoor use. The use of a cord suitable for outdoor use reduces the risk of electric shock.
- Use this product only with batteries and chargers listed in tool/appliance/battery pack/charger correlation supplement 987000-432.
PERSONAL SAFETY
- Stay alert, watch what you are doing, and use common sense when operating a power tool. Do not use a power tool while you are tired or under the influence of drugs, alcohol or medication. A moment of inattention while operating power tools may result in serious personal injury.
- Use safety equipment. Always wear eye protection. Safety equipment such as dust masks, non-skid safety shoes, hard hats, or hearing protection used for appropriate conditions will reduce personal injuries.
- Avoid accidental starting. Ensure the switch is in the off-position before plugging it in. Carrying power tools with your finger on the switch or plugging in power tools that have the switch on invites accidents.
- Remove any adjusting key or wrench before turning the power tool on. A wrench or a key left attached to a rotating part of the power tool may result in personal injury.
- Do not overreach. Keep proper footing and balance at all times. This enables better control of the power tool in unexpected situations.
- Dress properly. Do not wear loose clothing or jewelry. Keep your hair, clothing, and gloves away from moving parts. Loose clothes, jewelry, or long hair can be caught in moving parts.
- If devices are provided for the connection of dust extraction and collection facilities, ensure these are connected and properly used. The use of these devices can
reduce dust-related hazards. - Do not wear loose clothing or jewelry. Contain long hair. Loose clothes, jewelry, or long hair can be drawn into air vents.
- Do not use on a ladder or on unstable support. Stable footing on a solid surface enables better control of the power tool in unexpected situations.
POWER TOOL USE AND CARE
- Do not force the power tool. Use the correct power tool for your application. The correct power tool will do the job better and safer at the rate for which it was designed.
- Do not use the power tool if the switch does not turn it on and off. Any power tool that cannot be controlled with the switch is dangerous and must be repaired.
- Disconnect the plug from the power source and/or the battery pack from the power tool before making any adjustments, changing accessories, or storing power tools. Such preventive safety measures reduce the risk of starting the power tool accidentally.
- Store idle power tools out of the reach of children and do not allow persons unfamiliar with the power tool or these instructions to operate the power tool. Power tools are dangerous in the hands of untrained users.
- Maintain power tools. Check for misalignment or binding of moving parts, breakage of parts, and any other condition that may affect the power tool’s operation. If damaged, have the power tool repaired before use. Many accidents are caused by poorly maintained power tools.
- Keep cutting tools sharp and clean. Properly maintained cutting tools with sharp cutting edges are less likely to bind and are easier to control.
- Use the power tool, accessories and tool bits, etc., in accordance with these instructions and in the manner intended for the particular type of power tool, taking into account the working conditions and the work to be performed. Use of the power tool for operations different from those intended could result in a hazardous situation.
BATTERY TOOL USE AND CARE
- Ensure the switch is in the off position before inserting the battery pack. Inserting the battery pack into power tools that have the switch on invites accidents.
- Recharge only with the charger specified by the manufacturer. A charger that is suitable for one type of battery pack may create a risk of fire when used with another battery pack.
- Use power tools only with specifically designated battery packs.
The use of any other battery packs may create a risk of injury and fire. - When the battery pack is not in use, keep it away from other metal objects like paper clips, coins, keys, nails, screws, or other small metal objects that can make a connection from one terminal to another. Shorting the battery terminals together may cause burns or a fire.
*Under abusive conditions, liquid may be ejected from the battery, avoid contact. If contact accidentally occurs, flush with water. If liquid contacts the eyes, additionally seek medical help. Liquid ejected from the battery may cause irritation or burns. - Do not expose a battery pack or appliance to fire or excessive temperature. Exposure to fire or temperature above 265°F may cause an explosion.
SERVICE
- Have your power tool serviced by a qualified repair person using only identical replacement parts. This will ensure that the safety of the power tool is maintained.
WARNING!
To reduce the risk of injury, users must read the instruction manual.
- When servicing a power tool, use only identical replacement parts. Follow the instructions in the Maintenance section of this manual. Use of unauthorized parts or failure to follow Maintenance instructions may create a risk of shock or injury.
SPECIFIC SAFETY RULES
SAFETY WARNINGS ARE COMMON FOR GRINDING SANDING AND POLISHING OPERATIONS
- This power tool is intended to function as a grinder, sander, or polisher. Read all safety warnings, instructions, illustrations, and specifications provided with this power tool. Failure to follow all instructions listed below may result in electric shock, fire, and/or serious injury.
- Wire brushing is not recommended to be performed with this power tool. Operations for which the power tool was not designed may create a hazard and cause personal injury.
- Cutting-off is not recommended to be performed with this power tool without the proper guard. Operations for which the power tool was not designed may create a hazard and cause personal injury.
- Do not use accessories that are not specifically designed and recommended by the tool manufacturer.
Just because the accessory can be attached to your power tool, it does not assure safe operation. - The rated speed of the accessory must be at least equal to the maximum speed marked on the power tool. Accessories running faster than their RATED SPEED can break and fly apart.
- The outside diameter and the thickness of your accessory must be within the capacity rating of your power tool. Incorrectly sized accessories cannot be adequately guarded or controlled.
- The arbor size of wheels, flanges, backing pads, or any other accessory must properly fit the spindle of the power tool. Accessories with arbor holes that do not match the mounting hardware of the power tool will run out of balance, vibrate excessively, and may cause a loss of control.
- Do not use a damaged accessory. Before each use inspects the accessory such as abrasive wheels for chips and cracks, a backing pad for cracks, tears, or excess wear, and a wire brush for loose or cracked wires.
If a power tool or accessory is dropped, inspect for damage or install an undamaged accessory. After inspecting and installing an accessory, position yourself and bystanders away from the plane of the rotating accessory and run the power tool at maximum no-load speed for one minute. Damaged accessories will normally break apart during this test time. - Wear personal protective equipment. Depending on the application, use a face shield, safety goggles, or safety glasses. As appropriate, wear a dust mask, hearing protectors, gloves, and workshop apron capable of stopping small abrasive or workpiece fragments.
The eye protection must be capable of stopping flying debris generated by various operations. The dust mask or respirator must be capable of filtrating particles generated
by your operation. Prolonged exposure to high-intensity noise may cause hearing loss. - Keep bystanders a safe distance away from the work area. Anyone entering the work area must wear personal protective equipment. Fragments of workpieces or of a
the broken accessory may fly away and cause injury beyond the immediate area of operation. - Hold power tool by insulated gripping surfaces only, when performing an operation where the cutting accessory may contact hidden wiring. Cutting accessory contacting a “live” wire may make exposed metal parts of the power tool “live” and shock the operator.
- Never lay the power tool down until the accessory has come to a complete stop. The spinning accessory may grab the surface and pull the power tool out of your control.
- Do not run the power tool while carrying it at your side. Accidental contact with the spinning accessory could snag your clothing, pulling the accessory into your
body. - Regularly clean the power tool’s air vents. The motor’s fan will draw dust inside the housing and excessive accumulation of powdered metal may cause electrical
hazards. - Do not operate the power tool near flammable materials. Sparks could ignite these materials.
- Do not use accessories that require liquid coolants. Using water or other liquid coolants may result in electrocution or shock. wheels may also break under these conditions.
Kickback is the result of power tool misuse and/or incorrect operating procedures or conditions and can be avoided by taking proper precautions as given below. - Maintain a firm grip on the power tool and position your body and arm to allow you to resist kickback forces. Always use an auxiliary handle, if provided, for maximum control over kickback or torque reaction during start-up. The operator can control torque reactions or kickback forces if proper precautions are taken.
- Never place your hand near the rotating accessory. The accessory may kick back over your hand.
- Do not position your body in the area where the power tool will move if kickback occurs. Kickback will propel the tool in a direction opposite to the wheel’s movement at the point of snagging.
- Use special care when working corners, sharp edges, etc. Avoid bouncing and snagging the accessory. Corners, sharp edges, or bouncing have a tendency to snag the rotating accessory and cause loss of control or kickback.
- Do not attach a saw chain woodcarving blade or toothed saw blade. Such blades create frequent kickbacks and loss of control.
SAFETY WARNINGS SPECIFIC FOR GRINDING OPERATIONS
- Use only wheel types that are recommended for your power tool and the specific guard designed for the selected wheel. Wheels for which the power tool was not designed cannot be adequately guarded and are unsafe.
- The guard must be securely attached to the power tool and positioned for maximum safety, so the least amount of wheel is exposed to the operator. The guard helps to protect the operator from broken wheel fragments and accidental contact with the wheel.
- Wheels must be used only for recommended applications. For example: do not grind with the side of an abrasive cut-off wheel. Abrasive cut-off wheels are intended for peripheral grinding, side forces applied to these wheels may cause them to shatter.
- Always use undamaged wheel flanges that are of the correct size and shape for your selected wheel. Proper wheel flanges support the wheel thus reducing the possibility of wheel breakage. Flanges for cut-off wheels may be different from grinding wheel flanges.
- Do not use worn-down wheels from larger power tools. Wheel intended for larger power tools is not suitable for the higher speed of a smaller tool and may burst.
- Accessories must be rated for at least the speed recommended on the tool warning label. Wheels and other accessories running over rated speed can fly apart and cause injury.
SAFETY WARNINGS SPECIFIC FOR SANDING OPERATIONS
- Do not use excessively oversized sanding disc paper. Follow the manufacturer’s recommendations, when selecting sanding paper. Larger sanding paper extending beyond the sanding pad presents a laceration hazard and may cause snagging, tearing of the disc or kickback.
SAFETY WARNINGS SPECIFIC FOR POLISHING OPERATIONS
- Do not allow any loose portion of the polishing bonnet or its attachment strings to spin freely. Tuck away or trim any loose attachment strings. Loose and spinning attachment strings can entangle your fingers or snag on the workpiece.
ADDITIONAL SAFETY RULES
- Always use proper guard with grinding wheel. A guard protects the operator from broken wheel fragments.
- Know your power tool. Read the operator’s manual carefully. Learn its applications and limitations, as well as the specific potential hazards related to this powerful tool. Following this rule will reduce the risk of electric shock, fire, or serious injury.
- Always wear eye protection with side shields marked to comply with ANSI Z87.1. Following this rule will reduce the risk of serious personal injury.
- Protect your lungs. Wear a face or dust mask if the operation is dusty. Following this rule will reduce the risk of serious personal injury.
- Protect your hearing. Wear hearing protection during extended periods of operation. Following this rule will reduce the risk of serious personal injury.
- Check damaged parts. Before further use of the power tool, a guard or other part that is damaged should be carefully checked to determine that it will operate properly and perform its intended function. Check for alignment of moving parts, binding of moving parts, breakage of parts, mounting, and any other conditions that may affect its operation. A guard or other part that is damaged should be properly repaired or replaced by an authorized service center. Following this rule will reduce the risk of shock, fire, or serious injury.
- Inspect for and remove all nails from the lumber before using this power tool. Following this rule will reduce the risk of serious personal injury.
- Save these instructions. Refer to them frequently and use them to instruct others who may use this power tool. If you loan someone this power tool, loan them these instructions also.
SYMBOLS
The following signal words and meanings are intended to explain the levels of risk associated with this product.
| SYMBOL | SIGNAL | MEANING |
| DANGER: | Indicates a hazardous situation, which, if not avoided, will result in death or serious injury. | |
| WARNING: | Indicates a hazardous situation, which, if not avoided, could result in death or serious injury. | |
| CAUTION: | Indicates a hazardous situation, that, if not avoided, may result in minor or moderate injury. | |
| NOTICE: | (Without Safety Alert Symbol) Indicates information considered important, but not related to a potential injury (e.g. messages relating to property damage). |
Some of the following symbols may be used on this product. Please study them and learn their meaning. Proper interpretation of these symbols will allow you to operate the
product better and safer.
| SYMBOL | NAME | DESIGNATION/EXPLANATION |
![]() | Safety Alert | |
| Read Operator’s Manual | ||
| Eye Protection | ||
| Eye and hearing protection | ||
| Wet Conditions Alert | ||
| Recycle Symbol | ||
| V | Volts | |
| min | Minutes | |
| Direct Current | ||
| n | Rated Speed | |
| …/min | Per Minute |
FEATURES
PRODUCT SPECIFICATIONS
Grinding Wheel Capacity …………………………………4-1/2 in.
Motor ………………………………………………………..18 Volt DC
Rated Speed …………………………………… 9,000 /min. (RPM)
Spindle Thread ……………………………………… 5/8 x 11 UNC
ASSEMBLY
UNPACKING
This product requires assembly.
- Carefully remove the tool and any accessories from the box. Make sure that all items listed in the packing list are included.
WARNING:
Do not use this product if any parts on the includes section are already assembled to your product when you unpack it. Parts on this list are not assembled to the product by
the manufacturer and require custom installation. Use of a product that may have been improperly assembled could result in serious personal injury.
- Inspect the tool carefully to make sure no breakage or damage occurred during shipping.
- Do not discard the packing material until you have carefully inspected and satisfactorily operated the tool.
- If any parts are damaged or missing, please call 1-800-525-25 79 fora ssistance.
WARNING:
If any parts are damaged or missing do not operate this product until the parts are replaced. Use of this product with damaged or missing parts could result in serious personal injury.
WARNING:
Do not attempt to modify this product or create accessories not recommended for use with this product. Any such alteration or modification is misused and could result in a hazardous condition leading to possible serious personal injury.
WARNING:
To prevent accidental starting that could cause serious personal injury, always remove the battery pack from the product when assembling parts.
INSTALLING/REMOVING WHEEL GUARD
See Figure 1, page 13.
To install:
- Unlock the guard clasp by pulling the clasp out, away from the grinder.
- Place the guard on the shoulder of the bearing cap by aligning index dots on guard and bearing cap. Press down on guard until it is fully seated.
- Rotate the guard to its correct position. Refer to Positioning the Wheel Guard in Operations.
NOTE: Be sure the raised ridge on the guard is seated in the groove on the bearing cap. - Lock the guard clasp by pushing the clasp in.
To remove:
- Remove the disc flange, grinding or cutting wheel, and flange nut.
- Unlock the guard clasp by pulling the clasp out.
- Rotate the guard until the dots align.
- Remove the guard.
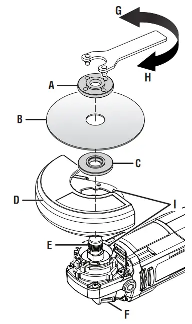
INSTALLING GRINDING WHEEL
See Figure 1, page 13.
DANGER:
Use ONLY Type 27 depressed center grinding wheels (such as the one provided with this product). Type 1 straight or cut-off wheels should not be used without the proper guard. Use for any other purpose is not recommended and creates a hazard, which will result in serious injury.
NOTE: This tool can be used with a Type 1 straight or cutoff wheel if the accessory wheel uard insert is purchased separately as described in the Operation section later in the manual.
Look for the accessory wheel guard (p/n 204772004) online or call 1-800-525-2579
DANGER: Never attach a wood cutting or carving blade of any type to this grinder. It is only designed for grinding and sanding. Use for any other purpose is not recommended and creates a hazard, which will result in serious injury.
WARNING:
Thoroughly inspect a new grinding wheel before you install it on the grinder.
- Tap lightly around the wheel using a wooden hammer.
- Listen carefully to the resulting sounds. Places with fissures or cracks will result in a different sound. Do not use a wheel containing fissures or cracks. When you install a new grinding wheel, carry out a no-loadrevolution test of approximately one minute with the grinding wheel facing a safe direction, i.e., away from people or objects.
- Install the wheel guard.
- Depress the spindle lock button and rotate the flange nut until the spindle locks.
NOTE: To prevent damage to the spindle or spindle lock, always allow the motor to come to a complete stop before engaging the spindle lock. - Loosen and remove the flange nut from the spindle. Do not remove the disc flange.
- Make sure the flats on the bottom of the disc flange are engaged with the flats on the spindle.
- Place the grinding wheel over the spindle.
WARNING: Always install a grinding wheel with the depressed center against the disc flange. Failure to do so will cause the rinding wheel to crack when tightening the flange nut. This could result in serious personal injury because of loose particles breaking off and being thrown from the grinder. Do not overtighten.
- Thread the flange nut on the spindle with the flat side of the nut facing up.
- Fit the raised, small diameter portion of the flange nut into the hole in the wheel and finger tighten.
- Depress the spindle lock button and rotate the wheel clockwise until the spindle locks in position.
- Tighten the flange nut securely with the wrench provided. Do not over tighten.
INSTALLING THE SIDE HANDLE
See Figure 2, page 13.
WARNING:
The side handle must always be used to help prevent loss of control and possible serious injury.
The side handle can be installed on the top, left, or right side of the grinder, depending on operator preference.
- Insert the side handle into the desired operating position.
- Turn the side handle clockwise to securely tighten.
OPERATION
WARNING: Always wear eye protection with side shields marked to comply with ANSI Z87.1, along with hearing protection. Failure to do so could result in objects being thrown into your eyes and other possible serious injuries.
WARNING: Do not use any attachments or accessories not recommended by the manufacturer of this product. The use of attachments or accessories not recommended can result in serious personal injury.
APPLICATIONS
You may use this product for the purpose listed below:
- Grinding metals
- Sanding wood or metal surfaces
WARNING: Battery products are always in operating condition. Therefore, the switch should always be locked when not in use or carried at your side.
INSTALLING/REMOVING BATTERY PACK
See Figure 3, page 13.
To install:
- Insert the battery pack.
- Make sure the latches on each side of the battery pack snap in place and that the battery pack is secured in the product before beginning operation.
To remove: - Depress the latches on each side of the battery pack.
For complete charging instructions, see the operator’s manuals for your battery pack and charger.
STARTING/STOPPING THE ANGLE GRINDER
See Figure 4, page 13.
The lock-off button, located on the handle above the switch trigger, reduces the possibility of accidental starting.
To turn the tool ON:
- Install the battery pack.
- Hold the tool in front and away from you, keeping the wheel clear of the workpiece.
- To start the tool, grasp the handle and side handle firmly. Slide the lock-off button to the unlocked position and squeeze the switch trigger.
To turn the tool OFF: - To stop the tool, release the switch trigger. Make sure the tool comes to a complete stop before laying down the tool.
- When task is completed, engage the lock-off button. The switch trigger should not be able to depress.
CAUTION: The lock-off button should be in the locked position when the tool is not in use or is being transported.
POSITIONING THE GUARD
See Figures 5 – 6, pages 13 and 14.
The guard on the grinder should be correctly positioned depending on which side the handle is mounted. Never use the grinder without the guard correctly in place.
WARNING: Never place the guard so that it is in front of the grinder. This could result in serious injury because sparks and loose particles thrown from the grinding wheel would be directed toward the operator. Always place the guard in the correct location as shown.
To reposition the guard:
- Remove the battery pack.
- Unlock the guard by holding the latch and pulling away from the grinder.
- Rotate the guard to its correct position as shown.
- Lock the guard by pushing in until latch clicks into place.
NOTE: Be sure the raised ridge on the guard is seated in the groove on the bearing cap. Never use the grinder without the guard in place and properly adjusted.
OPERATING THE GRINDER
See Figure 7, page 14.
Always carefully select and use grinding wheels that are recommended for the material to be ground. Make sure that the minimum operating speed of any accessory wheel
selected is 9,000/min. or more. The grinding wheel provided with the grinder is suitable for grinding welds, preparing surfaces to be welded, grinding structural steel, and grinding stainless steel.
To operate the grinder:
- Secure all work in a vise or clamp to a workbench.
DANGER:
Never use the grinder with the guard removed. It has been designed for use only with the guard installed. Attempting to use grinder with guard removed will result in loose particles being thrown against the operator resulting in serious personal injury.
- Hold the grinder in front and away from you with both hands, keeping the grinding wheel clear of the workpiece.
- Turn on the grinder and let the motor and grinding wheel build up to full speed.
- Lower the grinder gradually until the grinding wheel contacts the workpiece.
WARNING:
To prevent loss of control and possible serious personal injury, always operate the grinder with both hands, keeping one hand on the side handle.
- Keep the grinder tilted at an angle from 5° to 15° and continuously moving at a steady, consistent pace.
NOTICE: If the grinder is held in one spot too long, it will gouge and cut grooves in the workpiece. If the grinder is held at too sharp an angle, it will also gouge the workpiece
because of the concentration of pressure on a small area. - Use just enough pressure to keep the grinder from chattering or bouncing.
NOTE: Heavy pressure will decrease the grinder’s speed and put a strain on the motor. Normally the weight of the tool alone is adequate for most grinding jobs. Use light pressure when grinding jagged edges or loose bolts where there is the potential for the grinder to snag on the metal edge. - Lift the grinder away from the workpiece before turning off the grinder.
CUTTING WITH THE TOOL USING THE REQUIRED ACCESSORY CUTTING WHEEL GUARD (NOT INCLUDED)
See Figure 8, page 15.
Look for the accessory cutting wheel guard (p/n 204772004) online or call 1-800-525-2579.
It is important to understand the correct method for cutting with this tool. Refer to the figure in this section to learn the correct way to handle the tool during a cutting operation.
WARNING:
Always attach the accessory cutting wheel guard to the wheel guard when using a Type 1 straight or cut-off wheel. Failure to use the guard insert could result in serious personal injury. Always install the accessory cutting wheel guard before performing cutting operations. When attached correctly, the wheel guard insert and wheel guard provide protection on both sides of the cutting wheel.
- Install wheel guard and cutting wheel.
- Place the edge of the guard insert closest to the label over the edge of the wheel guard.
NOTE: The label on the guard insert should be pointing away from the cutting wheel. - Slide the guard insert over the grinding wheel and rotate it until the tab snaps into place.
- To remove, pull the tab away from the wheel guard and rotate the guard insert off of the wheel guard.
WARNING: To maintain proper control, always operate the tool with both hands, keeping one hand on the side handle. Loss of control could cause an accident resulting in possible serious injury.
WARNING: Since the wheel is exposed on the underside of the work, keep hands and fingers away from the cutting area. Any part of your body coming in contact with the moving wheel may result in serious injury.
WARNING: Do not grind with the side of the cutting wheel. Abrasive cutting wheels are intended for peripheral grinding, side forces applied to these wheels may cause them to shatter.
INSTALLING/REMOVING THE CUTTING WHEEL
See Figure 8, page 15.
- Place the guard on the shoulder of the bearing cap by aligning index arrows on the guard and bearing cap. Press down on guard until it is fully seated.
- Depress the lever and rotate the guard to the correct position. Refer to Positioning the Wheel Guard. NOTE: Be sure the raised ridge on the guard is seated in the groove on the bearing cap.
- Place the disc flange onto the spindle. Make sure the flats on the bottom of the disc flange are engaged with the flats on the spindle.
- Place the cutting wheel over the spindle.
WARNING:
Always install a cutting wheel with the flat side of the flange nut against the wheel. Failure to do so may cause the cutting wheel to crack when tightening the flange nut. This could result in serious personal injury because of loose particles breaking off and being thrown from the tool. Do not over tighten.
- Thread the flange nut on the spindle with the raised, small diameter portion of the flange nut facing up.
- Fit the flat side of the flange nut against the outside of the wheel and finger tighten.
- Depress the spindle lock button and rotate the wheel clockwise until the spindle locks in position.
- Tighten the flange nut securely with the wrench provided. Do not over-tighten.
- To remove:
- Depress the spindle lock button and rotate the flange nut until the spindle locks.
NOTE: To prevent damage to the spindle or spindle lock, always allow the motor to come to a complete stop before engaging the spindle lock. - Loosen and remove the flange nut from the spindle using the wrench provided.
- Remove the guard, cutting wheel, and disc flange.
To make the best possible cut: - Clamp the workpiece firmly and cut it close to the clamping point to eliminate any vibration of the work. Cut the workpiece using the peripheral edge of the cutting wheel. When cutting conduit pipe or angle iron, clamp the workpiece in a vise if possible and cut close to the vise. To cut thin sheet material, “sandwich” the material between hardboard or plywood and clamp the layers to eliminate vibration and material tearing.
DANGER:
Never use the tool with the guard removed. It has been designed for use only with the guard and guard insert installed. Attempting to use the tool with the guard removed will result in loose particles being thrown against the operator resulting in serious personal injury.
- Remove the battery pack.
- Install cutting wheel and wheel guard with guard insert.
- Install the battery pack.
- Hold the tool in front and away from you with both hands, keeping the cutting wheel clear of the workpiece.
- Turn the tool ON and let the motor and cutting wheel build up to full speed.
- Move the cutting wheel into the workpiece.
NOTE: Do not force. Use only enough pressure to keep the tool cutting. Let the wheel and tool do the work.
MAINTENANCE
WARNING:
When servicing, use only identical replacement parts. Use of any other part could create a hazard or cause product damage.
WARNING:
Always wear eye protection with side shields marked to comply with ANSI Z87.1, along with hearing protection. Failure to do so could result in objects being thrown into your eyes and other possible serious injuries.
WARNING:
To avoid serious personal injury, always remove the battery pack from the tool when cleaning, performing any maintenance, or when storing the tool.
GENERAL MAINTENANCE
Avoid using solvents when cleaning plastic parts. Most plastics are susceptible to damage from various types of commercial solvents and can be damaged by their use. Use clean clothes to remove dirt, dust, oil, grease, etc.
WARNING:
Do not at any time let brake fluids, gasoline, petroleum-based products, penetrating oils, etc., come in contact with plastic parts. Chemicals can damage, weaken or destroy plastic which could result in serious personal injury.
REPLACING THE GUARD
See Figure 1, page 13.
WARNING:
Do not change or loosen the guard screw. Failure to heed this warning may cause the guard to become loose during operation resulting in serious personal injury.
After extended use, the guard may wear and need replacing. If you drop the grinder and damage the guard it may also be necessary for you to replace it.
To replace the guard:
- Remove the battery pack from the grinder.
- Depress the spindle lock and rotate the flange nut until the spindle locks.
- Loosen and remove the flange nut from the spindle using the wrench provided.
- Remove the grinding wheel and disc flange.
- Unlock the guard by holding the latch and pulling away from the grinder.
- Open the latch fully and twist the guard to release it from the locking groove in the tool housing.
- Remove guard.
- Place the new guard on the shoulder of the bearing cap.
- Rotate the guard to the correct position. Refer to Positioning the Guard earlier in this manual.
NOTE: Be sure the raised ridge on the guard is seated in the groove on the bearing cap. - Reassemble disc flange, grinding wheel, and flange nut. Refer to Installing Grinding Wheel earlier in this manual.
- Tighten the flange nut securely with the wrench provided.
NOTE: ILLUSTRATIONS START ON PAGE 13 AFTER THE FRENCH AND SPANISH LANGUAGE SECTIONS.

A – Switch Trigger
B – Lock-off button
C – Spindle lock button
D – Toolless guard
E – Grinding wheel
F – Side handle
G – Wrench storage
H – Wrench

A – Wrench
B – Flange nut
C – Grinding wheel
D – Disc flange
E – Clasp
F – Spindle
G – Spindle lock
H – To loosen
I – To tighten
J – Dots 
A – Side handle
A – Battery port
B – Battery pack 
A – Lock
B – Switch trigger
C – Unlock 
A – Toolless guard
B – Clasp
Fig. 6
SIDE HANDLE ON LEFT SIDE OF GRINDER
SIDE HANDLE ON RIGHT SIDE OF GRINDER
INCORRECT 

ACCESSORY CUTTING WHEEL GUARD (NOT INCLUDED)
Look for the accessory wheel guard (p/n 204772004) online or call 1-800-525-2579.
A – Flange nut
B – Cutting wheel
C – Disc flange
D – Wheel guard with accessory wheel insert attached
E – Spindle
F – Spindle lock
G – To loosen
H – To tighten
I – Index arrows 
A – Wheel guard
B – Guard insert
C – Label
D – Edge
E – Tab
A – Wheel guard with guard insert
B – Cutting wheel
OPERATOR’S MANUAL
18 V ANGLE GRINDER
• PARTS AND SERVICE: Prior to requesting service or purchasing replacement parts, please obtain your item, manufacturing, and serial numbers from the product data plate.
ITEM NO.* ______________
MANUFACTURING NO. _____________
SERIAL NO. ___________________
* Model/item number on a product may have additional letters at the end. These letters designate manufacturing information and should be provided when calling for service.
HOW TO OBTAIN REPLACEMENT PARTS:
Replacement parts can be purchased online at www.ryobitools.com or by calling 1-800-525-2579. Replacement parts can also be obtained at one of our service centers.
HOW TO LOCATE A SERVICE CENTER:
Service centers can be located online at www.ryobitools.com or by calling 1-800-525-2579.
HOW TO OBTAIN CUSTOMER OR TECHNICAL SUPPORT:
To obtain customer or technical support please contact us at 1-800-525-2579.
RYOBI is a registered trademark of Ryobi Limited and is used pursuant to a license granted by Ryobi Limited.
TECHTRONIC INDUSTRIES POWER EQUIPMENT
P.O. Box 1288, Anderson, SC 29622, USA
1-800-525-2579
998000812
9-23-21 (REV:02)
www.ryobitools.com



















