THIRD REALITY Smart Plug QSG0924

What’s in the box?
At the beginning
- The factory default mode of Third Reality Smart Plug is BLE (Bluetooth Low Energy). When pairing with Echo Devices (except Echo Gen1) under BLE mode, please directly go to page 4.
- If you want to pair with compatible Echo or Devices with ZigBee hub, please change the pairing mode from BLE to ZigBee first. Please go to page 10 to get more information about Change mode.
- When the pairing mode has been changed to ZigBee mode, please go to page 11 to configure your Smart Plug.
Using under BLE (Bluetooth) mode
Note: The factory default mode of Third Reality Smart Plug is BLE (Bluetooth Low Energy). You can directly pair Third Reality Smart Plug with the compatible Echo Devices (except Echo Gen1).
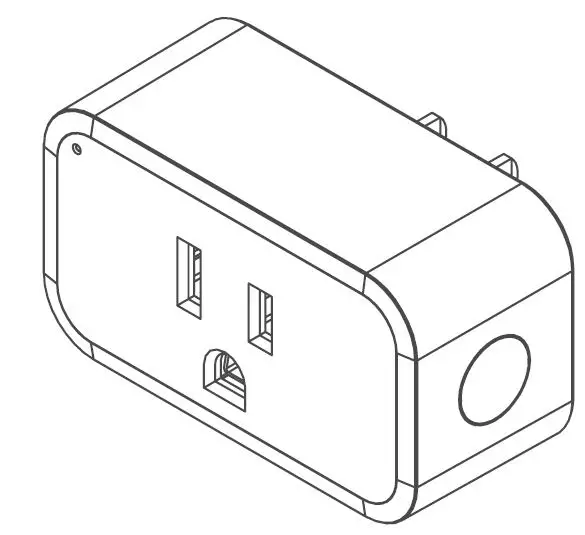
Product configuration
LED Light
LED Status
- Pairing: LED light alternately flashes in green and red.
- Pairing Completed: LED light is out.
- Power ON: LED light is ON in green.
- Power OFF: LED light is OFF.
Note: Pairing mode will last for 3 minutes. If you haven’t pair it with other devices during this time, it will automatically exist the pairing. If you want the plug back to pairing mode, just simply unplug it from the outlet and then plug it in or factory reset it by pressing and holding the button for more than 10 seconds until the LED light flashes.
Factory Reset
After your Smart Plug is powered on, press and hold the ON/OFF button for more than 10 seconds until the LED light flashes indicating that your Smart Plug is in pairing mode. (The mode won’t be changed while factory reset your Smart Plug.)
Setting up your Smart Plug
Compatible Devices List
- All Amazon Echo Series (except Echo Gen1)
- All Amazon Echo Dot Series (except Echo Dot Gen1) All Amazon Echo Show Series
- Echo Spot
- Echo Input
- Echo Flex
- Echo Studio
Note: Please ensure your Echo Devices are setup before adding the Smart Plugs. They need to have the latest software upgrade. You can try “ Alexa, is my software up to date?” to trigger software update, then add the Smart Plugs.
Pair with compatible Echo Devices
- Select an outlet near your Echo Device.
- Insert Smart Plug into an outlet and then the LED light will alternately flash in green and red indicating that it is in BLE pairing mode now.
- Say “ Alexa, discover my devices ” to add the plug.
Mesh Network Setup
If you want to have multiple plugs setup for different rooms, especially rooms out of the range of the Echo De-vices Bluetooth signal range, you can utilize Mesh Network setup to extend the range.
- First, Setup the smart plugs close to the Echo Device.
- Unplug the plug and move it further away from the Echo Device. And make sure it’s within Bluetooth range of another active plug, which is connected on the network as a node. This will form a Blue-tooth Mesh network. Each connected plug will connect with other plugs (nodes) within the range.
Using your Smart Plug
- Control the Smart Plug via voice command, says “ Alexa, turn on/off First Plug ”.
- Schedules or timers to turn the Smart Plug ON/OFF automatically.
- Create routines to enjoy your smart life, say “ Alexa, good morning ” to turn on the coffee maker, etc.
- Remote control the Smart Plug from your phone even if you are not at home.
Use the Plugs as extenders, they can help Echo Devices to connect with the plugs that are further away from your Echo.
Trouble Shooting
Factory reset the Smart Plug
Power on the Smart Plug, and then press and hold the button for more than 10 seconds until the LED light flashes in green and red.
Check the Smart Plug’s mode
- Insert the plug into an outlet and turn it on.
- Check the status of the LED light. Green means in BLE mode; Red means in ZigBee mode.
Fail to pair with Echo
Make sure your Echo Speaker is compatible with Smart Plug (See the Compatible Devices List) and the Smart Plug is in the right mode.
- Please ensure your Echo Devices are setup before adding the Smart Plugs.
- Reboot the Echo speaker by unplugging the power and plugging it back in, then try to pair the Smart Plug with it again.
- Factory reset the Echo speaker (Press and hold the Action button for 25 seconds. The light ring will pulse orange, then turn off. Wait for the light ring to turn back on and turn blue. The light ring then turns orange again and the device enters the setup mode), then try to pair the Smart Plug with it again.
Smart Plug is not responding
- Turn on/off the Smart plug in the Alexa app to sync the plug.
- If not connects, please reboot the Echo speaker and factory reset the Smart plug, then pair the Smart plug with the Echo speaker.
- If still not work, please try to deregister the Echo speaker and register back in, then try to pair the Smart plug with it.
Move Smart Plugs
If you want to move the paired Plug from one echo to another, make sure you remove the Plug from the Alexa app and wait 30 minutes to allow cloud synchronization before repairing with different Echo device.
Alexa’s response
If the Alexa devices finds the plug, setup is complete. But if the Alexa devices says she did not find any devices, say “ Alexa, turn all plugs off ”. If the “ plug ” in question turns off, then the plug did setup and the Echo device had the common false fail issue—where an Echo device will say it did not find the plug when it in fact did. Please, if it is not too much trouble, report this false fail to Amazon as the plug did add but the Echo device wrongly said it did not add. Hopefully, if enough people report the issue, it can be found and solved. Note: If the Alexa device says she failed to find the plug and the plug does not respond to “Alexa, turn all plugs off ”, please contact us at [email protected] to let us know so we may assist.
Switch Pairing Mode
Note: The factory default mode of Third Reality Smart Plug is BLE (Bluetooth Low Energy).
BLE → ZigBee
- Press the button and hold, then insert the Smart Plug into an outlet for more than 10 seconds until the green light is ON.
- Release the button and then press the button twice immediately. LED light will flash in red, indicating that your Smart Plug is in ZigBee mode now.

You can also learn more about Change mode through the videos. Scan the QR code to get the video or go to link: https://youtu.be/tXRzxWxJQUM
ZigBee → BLE
- Press the button and hold, then insert the Smart Plug into an outlet for more than 10 seconds until the red light is ON.
- Release the button, then press the button twice immediately. LED light will alternately flash in green and red, indicating that your Smart Plug is in BLE mode now.
You can also learn more about Change mode through the videos. Scan the QR code to get the video or go to link: https://youtu.be/tXRzxWxJQUM
Using Zigbee mode
Note: The factory default mode of Third Reality Smart Plug is BLE (Bluetooth Low Energy). If you want to pair with compatible Echo or Devices with ZigBee hub, please go to Page 9 and change the pairing mode from BLE to ZigBee first.
Product configuration
LED Light
Setting up your Smart Plug
Compatible Devices List
- Echo 4th Gen, Echo Plus 1st Gen, Echo Plus 2nd Gen, Echo Show 10 2nd Gen, Echo Show 10 3rd Gen, Echo Studio,
- Eero 6, Eero 6 Pro, SmartThings 2015, SmartThings 2018
- Third Reality Hub, Third Reality Smart Speaker
Note: Please ensure your Echo Devices are setup before adding the Smart Plugs. They need to have the latest software upgrade. You can try “ Alexa, is my software up to date? ” to trigger software update, then add the Smart Plugs.
Note: The factory default mode of Third Reality Smart Plug is BLE (Bluetooth Low Energy). If you want to pair with compatible Echo or Devices with ZigBee hub, please change the pairing mode to ZigBee first.
LED Status
- Pairing: LED light flashes in red.
- Pairing Completed: LED light is out.
- Power ON: LED light is ON in red.
- Power OFF: LED light is OFF.
Note: Pairing mode will last for 3 minutes. If you haven’t pair it with other devices during this time, it will automatically exist the pairing. If you want the plug back to pairing mode, just simply unplug it from the outlet and then plug it in or factory reset it by pressing and holding the button for more than 10 seconds until the LED light flashes.
Factory Reset
After your Smart Plug is powered on, press and hold the ON/OFF button for more than 10 seconds until the LED light flashes indicating that your Smart Plug is in pairing mode. (The mode won’t be changed while factory reset your Smart Plug.)
Pair with compatible Echo or Devices with ZigBee hub
- Setup your ZigBee hub by following its user manual.
- Press and hold the button on the Smart Plug, then insert it into an outlet for more than 10 seconds until the red light is ON.
- Release the button and then press the button twice immediately. LED light will flash in red, indicating that your Smart Plug is in ZigBee mode now.
- Follow the instructions in the corresponding App to complete the setup.
Mesh Network Setup
If you want to have multiple plugs setup for diff erent rooms, especially rooms out of the range of the Echo De-vices ZigBee signal range, you can utilize Mesh Network setup to extend the range.
- First, Setup the smart plugs close to the Echo Device.
- Unplug the plug and move it further away from the Echo Device And make sure it’s within ZigBee range of another active plug, which is connected on the network as a node. This will form a ZigBee Mesh network. Each connected plug will connect with other plugs (nodes) within the range.
Using your Smart Plug
- Control the Smart Plug via voice command, says “ Alexa, turn on/off First Plug ”.
- Schedules or timers to turn the Smart Plug ON/OFF automatically.
- Create routines to enjoy your smart life, say “ Alexa, good morning ” to turn on the coffee maker, etc.
- Remote control the Smart Plug from your phone even if you are not at home.
- Use the Plugs as extenders, they can help Echo Devices or the ZigBee hubs to connect with the plugs that are further away from your Echo.
FCC regulatory conformance
This device complies with Part 15 of the FCC Rules. Operation is subject to the following two conditions:
- This device may not cause harmful interference.
- This device must accept any interference received, including interference that may cause undesired operation.
NOTE: This equipment has been tested and found to comply with the limits for a Class B digital device, pursuant to part 15 of the FCC Rules. These limits are designed to provide reasonable protection against harmful interference in a residential installation. This equipment generates uses and can radiate radio frequency energy and, if not installed and used in accordance with the instructions, may cause harmful interference to radio communications. However, there is no guarantee that interference will not occur in a particular installation. If this equipment does cause harmful interference to radio or television reception, which can be determined by turning the equipment off and on, the user is encouraged to try to correct the interference by one or more of the following measures:
- Reorient or relocate the receiving antenna.
- Increase the separation between the equipment and receiver.
- Connect the equipment into an outlet on a circuit different from that to which the receiver is connected.
- Consult the dealer or an experienced radio/TV technician for help.
NOTE: The manufacturer is not responsible for any radio or TV interference caused by unauthorized modifi-cations to this equipment. Such modifications could void the user’s authority to operate the equipment. For troubleshooting, warranty and safety information, visit www.3reality.com/devicesupport
RF Exposure
This equipment complies with FCC radiation exposure limits set forth for an uncontrolled environment. This equipment should be installed and operated with minimum distance of 20 cm between the radiator and your body. This transmitter must not be co-located or operating in conjunction with any other antenna or transmitter.
Limited Warranty
For limited warranty, please visit www.3reality.com/devicesupport For customer support, please contact us at info@3reality or visit www.3reality.com For help and troubleshooting related to Amazon Alexa, visit the Alexa app.





















