SEAVIEW PMADM1M2 Dual Mount AFT Rake Requires Plate Instruction Manual
PARTS INCLUDED
x1 (PMADM1MODP)

x1 (SVGMT4)
x10 (38SB)
x1 (MODTOPORING)
x1 (DMMTLBP)
x1 (LTBPINM2)
x1 (CGDTKIT)
x1 (M4716BHCS)
x1 (MODG)
x1 Foam Gasket (PM10G)
x1 (CG1020)
TOOLS NEEDED
Sudbury Elastomeric Marine Sealant is recommended. To purchase call 800-655-7922 or visit www.seaviewglobal.com

Installation instructions
If you are using a Seaview Light Bar with your Dual Mount you do not use the pin.
If you are not using a Seaview Light Bar then insert the pin as shown below. Insert the white Light Bar Plug and o-ring into the Light Bar hole in the back of the mount. Make sure it clips onto the pin.
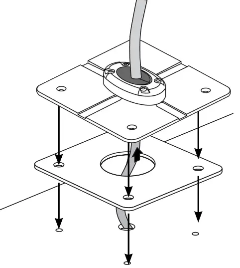
Place the rubber gasket onto the top of the Dual Mount as shown.
Mount the Seaview Modular Top Plate to the Dual Mount with the eight bolts that come with the Modular Top Plate Then insert the rubber cable grommet into the Modular Top Plate.
Refer to the provided Seaview Top Plate installation instructions for more information.
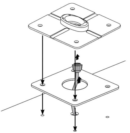
Place the Dual Mount onto the mounting surface and mark the six bolt holes.
Drill the six bolt holes.
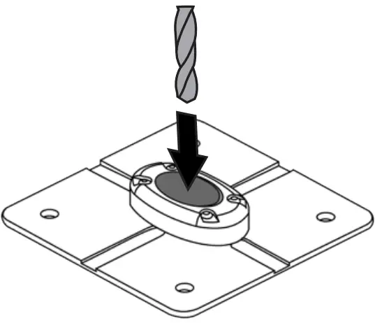
Using a hole saw, drill a hole to run the cabling through.
Route the cable(s) through the hole.
A Place the foamgasket and cable seal base plate over the bolt holes.
B If you prefer not to use the foam gasket apply marine sealant to the
cable seal base plate.
INSTRUCTIONS
PARTS INCLUDED

TOOLS NEEDED



NOTE: BEFORE YOU BEGIN
- It is not necessary to dry fit if using drill tubes. Dry fit is recommended if using a drill bit to securely hold the rubber in place.
- Make sure that you do not drill within 1/8” (3.2mm) from the edge of the tapered plug.
- Drill tube is recommended. However, if using a drill bit, a slightly larger drill bit is needed for drilling the rubber.
- This cable seal base will work with multiple cables. Make sure each cable has its own hole and there is at least .125” of rubber between each hole.

- Measure your cable diameter and select the appropriate drill tube provided. Cable diameter +.01/-.03

- A
- Take one of the four drill tubes (included with the Cable Seal). Double check to make sure the tube is the right diameter for your installation.

- Insert drill tube into drill motor, and leave enough length to get through the tapered plug

- Apply small amount of soapy water to the tube and slowly drill the rubber plug.

B If using a drill bit, the cover should be securely tightened to help hold the rubber while drilling. The drill bit should be run repeatedly through the rubber.
- Take one of the four drill tubes (included with the Cable Seal). Double check to make sure the tube is the right diameter for your installation.
- Remove the four screws using a 2.5 mm allen wrench.

- Remove the Cable Seal cover and tapered plug

- Using a sharp razor blade or knife, cut the tapered plug from the cable hole outward.

- Slide the Cable Seal cover over the electronic cable.

- Wrap the tapered plug around the electronic cable.

- Insert the electronic cable and tapered plug into the plastic base.

- Slide the Cable Seal cover onto the plastic base making sure that all four bolt holes line up.

- Apply marine sealant to the four allen head screws and tighten.

- Place the foam gasket and cable seal base plate over the bolt holes.

- If you prefer not to use the foam gasket apply marine sealant to the cable seal base plate.

PMADM1M2 & PMADM2M2 Continued…
Route all cables through the Dual Mount

Apply marine adhesive sealant to the six nylon shoulder washers. Then insert them into the base of the mount.
A Apply marine adhesive sealant to all bolt holes. Bolt down the Dual Mount with your own hardware.
B For the Seaview Dual Mount #PMA-DM2-M2, use the provided backing plate. Apply marine adhesive sealant to all bolt holes.
Apply marine adhesive sealant to four nylon shoulder washers. Then insert them into the lower platform. Be sure to insert them into the correct holes for your radar.
Use the hardware provided with your electronics to secure.
Tel: 800-655-7922
www.seaviewglobal.com
EUROPEAN OFFICE
Tel: +33 4 94 53 27 70
www.seaviewprogress.com



































