
APPLIANCES
FOR LIVING
CAO900
OPERATION MANUAL
Congratulations, you are now the proud owner of an ARTUS cooking appliance. Thank you for purchasing ARTUS and welcome to the ARTUS Family.
This instruction manual has been specially created to inform you of the full range of features your ARTUS appliance has to offer and serves as an introduction to getting the very best out of your ARTUS appliance.
We present detailed information on each of the features your ARTUS appliance consists of. Once you have read this section you will be able to choose the most appropriate settings for your appliance when cooking different types of food.
We ask you to read the instructions in this booklet very carefully as this will allow you to get the best results from using your appliance. KEEP THE DOCUMENTATION OF THIS PRODUCT FOR FUTURE REFERENCE. TO REGISTER YOUR PRODUCT WITH ARTUS, PLEASE FILL OUT THE WARRANTY CARD AT THE END F
THIS BOOKLET AND POST IT TO: REPLY PAID 83617 LEICHHARDT NSW 2040
This appliance is not intended for use by persons (including children) with reduced physical, sensory or mental capabilities, or lack of experience and knowledge unless they have been given supervision or instruction concerning use of the appliance by a person responsible for their safety.
Close-up View
Congratulations on choosing our appliance, which you will find is dependable and easy to use. We recommend that you read this manual for the best performance and to extend the life of your appliance. Thank you.
A. Control Panel.
B. Knob for selecting the cooking mode.
C. Knob for selecting the cooking temperature.
D. Knob for selecting the cooking time;
E. Oven Light – When the light is on, it indicates that the oven is heating. It will turn off when the temperature setting has been reached.
F. Glass oven door
How To Use Your Appliance
The"Maxi oven"oven combines in a single appliance the advantages of traditional convection ovens with those of modern forced air ventilation ovens. It is an extremely versatile appliance that allows you to easily and safely choose between 9 different cooking modes. The selection of the various functions can be obtained by putting the programmer to the manual position or setting a beginning/end of the cooking program (see specific chapter on page 5)and successively by turning the selector (B) and thermostat (C) knobs on the control panel.
You can select from 9 functions:
light 
When the selector knob is in any position other than the “0” position, the oven light comes on.
Attention: The first time you use the oven we recommend that you set the thermostat on the highest setting and leave the oven on for about half an hour with nothing in it. Then, open the oven door and let the room air. The odor that is often detected during this initial use is due to the evaporation of substances used to protect the oven during storage and until it’s installed.
Defrost 
Select this function to thaw more delicate foods. In this mode, you use only cold air circulation. The thermostat light (E). This indicates that the oven is heating up. When the light goes out, the required temperature has been reached. When the light alternately comes on and goes out, it means that the thermostat is working properly to maintain the oven temperature.
Upper heating element 
Set the thermostat knob (C) between 50 ℃ and 250 ℃. By turning the knob to this position. The oven light and upper heating element come on. This position is recommended for finishing off the cooking of food (in baking trays) which is already inside well-cooked but still soft superficially.
Fan Forced 
Set the thermostat knob (C) between 50℃ and 250 ℃. The circular heating element and the fan will come on. Since the heat remains constant and uniform throughout the oven, the air cooks and browns food uniformly over its entire surface. With this mode, you can also cook various dishes at the same time, as long as their respective cooking temperatures are the same. A maximum of 2 rack levels can be used at the same time. This cooking mode is ideal for au gratin dishes or those which require an extended cooking time. Moreover, the excellent heat distribution makes it possible to use lower temperatures when cooking roasts. This results in less loss of juices, meat that is more tender and a decrease in the loss of weight for the roast. The ventilated mode is especially suited for cooking fish, which can be prepared with the addition of a limited amount of condiments, thus maintaining their flavor and appearance. The ventilated mode can also be used to thaw white or red meat, fish, and bread by setting the temperature to 80℃-100 ℃
Lower heating element ![]()
Set the thermostat knob (C) between 50 ℃ and 250 ℃. By turning the knob to this position. The oven light and lower heating element come on. This position is recommended for finishing the cooking of food (in baking trays) which is already superficially well-cooked but still soft inside.
Convection Mode ![]()
Set the thermostat knob (c) between 50℃ and 250 ℃. The outer heating elements at both the top and the bottom of the oven will come on. The heat is distributed uniformly from top to the bottom. The convection mode is recommended for preparing meat-based dishes featuring of liquids. It still remains the best cooking mode for dry pastries and fruit in general. When cooking in convection mode, only use one dripping-pan or cooking rack at a time, otherwise the heat distribution with be uneven. Select from among the various rack heights based on whether the dish needs more or less heat from the top or bottom.
Fan Assisted 
Set the thermostat knob (c) between 50℃ and 250 ℃. The outer heating elements at both the top and the bottom of the oven are activated, as well as the fan. Based on the convection model, This combination of features increases the effectiveness of the thermal radiation of the heating elements through forced air circulation of the air throughout the oven. This helps prevents foods from burning on the surface, allowing the heat to penetrate into the food.
Half Fan Grill (center element) 
Important: do not set the thermostat knob (C) to over 175 ℃. During grilling, keep the oven door closed. the central heating elements of the top are activated as well as the fan. This combination of features increases the effectiveness of the thermal radiation of the heating elements through forced air circulation of the air throughout the oven. This helps prevents foods from burning on the surface, allowing the heat to penetrate into the food.
Fan Grill (both elements)
Important: do not set the thermostat knob (C) to over 175℃. During grilling, keep the oven door closed. Both of the heating elements of the grill are activated, as well as the fan. This combination of features increases the effectiveness of the thermal radiation of the heating elements through forced air circulation of the air throughout the oven. This helps prevents foods from burning on the surface, allowing the heat to penetrate into the food.
Fitting Oven Shelves
- Ensure shelf orientation is correct ( refer to picture below )

- Slide into the oven at an angle until raised back of the shelf is past the stop on side runners.
- Lower front of shelf and push in until stop is reached.
- To remove oven shelves, withdraw to the stop and raise the front of the shelf to clear the stop.
How to keep Your Oven in Good Condition
Important: Before cleaning your oven, or performing maintenance, disconnect it from the power supply.
To extend the life of your oven, it must be cleaned frequently, keeping in mind that:
◎ Do not use steam equipment to clean the appliance.
◎ The enameled or stainless steel parts should be washed with lukewarm water without using any abrasive
powders or corrosive substances which could ruin them; Stainless steel could get stained. If these Stains are difficult to remove, use special products available to rinse thoroughly and dry.
◎ The inside of the oven should preferably be cleaned shortly after use, when it is still warm, with hot water and soap; the soap should be rinsed away and the interior dried thoroughly. Avoid using abrasive detergents (for example cleaning powders, etc…) and abrasive sponges for dishes or acids (such as limescale-remover, etc…) as these could damage the enamel. If the grease spots and dirt are particularly tough to remove, use a special product for oven cleaning, following the instructions provided on the product.
◎ If you use your oven for an extended period of time, condensation may form. Wipe it using a soft cloth.
◎ There is a rubber seal surrounding the oven opening which guarantees its perfect functioning. Check the condition of this seal on a regular basis. When necessary, clean it and avoid using abrasive products or objects to do so. Should it become damaged, please contact your nearest After-sales Service Centre. We recommend you avoid using the oven until it has been repaired.
◎ Never line the oven bottom with aluminum foil, as the consequent accumulation of heat could compromise the cooking and even damage the enamel.
◎ Clean the glass door using non-abrasive products or sponges and dry it with a soft cloth.
Do not use harsh abrasive cleaners or sharp metal scrapers to clean the oven door glass since they can scratch the surface, which may result in the shattering of the glass.
Inside the oven door:
Clean the surface with a cloth moistened with hot water and nonabrasive liquid detergent, then rinse and dry thoroughly.
Replacing the Lamp in the Oven
◎ Turn off the supply of power to the oven by turning off the unipolar switch connecting it to the mains, or by removing the plug if it is accessible;
◎ Unscrew the glass cover attached to the lamp holder;
◎ Unscrew the lamp and replace it with another high-temperature lamp (300 ℃ ) with the following characteristics:
– Voltage: AC230V
– Wattage: 25W
– Socket: G29
◎ Remount the glass cover and reconnect the appliance to the power supply.
WARNING: Ensure that the appliance is switched off before replacing the lamp to avoid the possibility of electric shock.
Fitting on a power supply cable
Opening the terminal board:
- Using a screwdriver, prise on the side tabs of the terminal board cover;
- Pull open the cover of the terminal board To install the cable, proceed as follows:
- Remove the wire clamp screw and the three contact screws L-N
- Fasten the wires beneath the screwheads using the following color scheme; Blue( N) Brown( L), Yellow- Green
- Fasten the supply cable in place with the clamp and close the cover of the terminal board.

Connecting the supply cable to the mains
Install a standardized plug corresponding to the load indicated on the data plate. When connecting the cable directly to the mains, install an omnipolar circuit-breaker with a minimum contact opening of 3 mm between the appliance and the mains. The omipolar circuit breaker should be sized according to the load and should comply with current regulations (the earth wire should not be interrupted by a circuit breaker). The supply cable should be positioned so that it does not reach a temperature of more than 50 with respect to the room temperature, anywhere along its length.
Before making the connection, check that:
- the electrical safety of this appliance can only be guaranteed if the cooker is correctly and efficiently earthed, ways ensure that the earthing is efficient; if you have any doubts call in a qualified technician to check the system. The manufacturer declines all responsibility for damage resulting from a system that has not been earthed.
- Before plugging the appliance into the mains, check that the specifications indicated on the data plate (on the appliance and/or packaging) correspond to those of the electrical mains system of your home.
- Check that the electrical capacity of the system and sockets will support the maximum power of the appliance, as indicated on the data plate. If you have any doubts, call in a qualified technician.
- If the socket and appliance plug are not compatible, have the socket replaced with a suitable model by a qualified technician.
Who will also have to ensure that the cross-section of the socket cables are suitable for the power absorbed by the appliance?
The use of adapters, multiple sockets, and/or extensions, is not recommended. If their use cannot be avoided, remember to use only single or multiple adapters and extensions which comply with current safety regulations. In these cases, never exceed the maximum current capacity indicated on the single adapter or extension and the maximum power indicated on the multiple adapters. The plug and socket must be easily accessible.
WARNING: It is essential to use specific soft wire or specific groupware bought from the manufacturer or maintenance department to replace if the electrical soft wire has been broken.
USEFUL NOTES FOR COOKING
In the following table, some indicative hints for cooking:
| FAULTS | CAUSES | REMEDIES |
| The upper crust is dark and the lower part too pale | Not enough heat from the bottom | – Use the natural convection position – Use deeper cake tins – Lower the temperature -Put the cake on a lower shelf |
| The lower part is dark and the upper crust too pale | Excessive heat from the bottom | – Use the natural convection position -Use lower side tins -Lower the temperature – Put the cake on a higher shelf |
| The outside is too cooked and the inside not cooked enough | Too high temperature | – Lower the temperature and increase the cooking time |
| The outside is too dry even though of the right color | Too low temperature | -Increase the temperature and reduce the cooking time. |
This product must not be disposed of together with domestic waste. This product has to be disposed at an authorized place for recycling of electrical and electronic appliances.
By collecting and recycling waste, you help save natural resources, and make sure the product is disposed of in an environmentally friendly and healthy way.
Important: if you decide not to use the oven anymore, it should be made inoperable by cutting the power supply cable, after unplugging it from the power supply. Disused appliances can be a safety risk as children often play with them. For this reason, it is advisable to make the oven safe.
Protective kit
During operation, the oven glass door and adjacent parts of the appliance become hot. Make sure, therefore, that children do not touch the appliance.
Disassembling/assembling the oven door
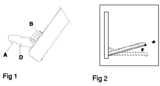
To make it easier to clean the inside of your oven, the oven door can be removed, by proceeding as follows (fig. 1-2):
- Open the door completely and lift the 2 levers “B” (fig.1);
- Now, shutting the door slightly, you can lift it out by pulling out the hooks “A” as shown in figure 2.
To reassemble the door: - With the door in a vertical position, insert the two hooks “A” into the slots;
- Ensure that seat “D” is hooked perfectly onto the edge of the slot (move the oven door backward and forward slightly);
- Keep the oven door open fully, unhook the 2 levers “B” downwards, and then shut the door again.

Practical Cooking Advice
Preheating
If the oven must be preheated (generally this is the case when cooking leavened foods) use the "Fan" in order to save energy.
Once the food has been placed in the oven. The most appropriate cooking mode can then be selected.
Using the grill
The Multifunction oven offers you three different grilling modes
Use the "Grill" setting for grilling small portions like toasted sandwiches, hotdogs, etc., to perfection.
The "Maxigrill" position is the best for grilling foods rapidly. For a better distribution of heat, not only to brown the surface but also to cook the bottom part, select the "Fan Maxi grill" function. This mode can also be used for browning foods at the end of the cooking process.
Important: always use the grill with the oven door closed. This will allow you both to attain excellent results and to save energy
When using any of the three grilling modes, it is recommended that the thermostat knob be turned to 175℃, as it is the most efficient way to use the grill (which utilizes infrared rays).
However, the thermostat can be set to lower temperatures by simply turning the knob to the desired setting.
When utilizing the grill, place the rack at the lower levels (see cooking table). To catch grease or fat and prevent smoke, place a dripping pan at the bottom rack level.
Baking pastries
When baking pastries, always place them in the oven after it has been preheated. Make sure you wait until the oven has been preheated thoroughly (the red "E" light will turn off). Do not open the door while the pastry is cooking in order to prevent it from dropping.
Batters must not be too runny, as this will result in prolonged cooking times. In general:
| The pastry is too dry |
| Increase the temperature by 10℃ and reduce the cooking time. |
| Pastry dropped |
| Use less liquid or lower the temperature by 10℃ |
| The pastry is too dark on top |
| Place it on a lower rack, lower the temperature, and increase the cooking time. |
| Cooked well on the inside but sticky on the outside |
| Use less liquid, lower the temperature, and increase the cooking time. |
| The pastry sticks to the pan |
| Grease the pan well and sprinkle it with a dusting of flour. |
| I used more than one level and they are not all at the same cooking point |
| Use a lower temperature setting. It is not necessary to remove the food from all the racks at the same time. |
Cooking Pizza
For best results when cooking pizza use the "Fan mode":
- Preheat the oven for at least 10 minutes;
- Use a light aluminum pizza pan, placing it on the broiler supplied with the oven. If the dripping pan is used, this will extend the cooking time, making it difficult to get a crispy crust;
- Do not open the oven door frequently while the pizza is cooking;
- If the pizza has a lot of toppings (three to four), it is recommended that the mozzarella cheese be placed
on top halfway through the cooking process;
Cooking Fish and Meat
Meat must weigh at least 1 Kg in order to prevent it from drying out. When cooking white meat, fowl and fish, use low-temperature settings (150℃-220℃). For red meat that should be well done on the outside while tender and juicy in the inside, it is a good idea to start with a high-temperature setting (200℃-220℃) for a short time, then turn the oven down afterward. In general, the larger the roast, the lower the temperature setting. Place the meat on the center of the rack and place the dripping pan beneath it to catch the fat. Make sure that the rack is inserted so that it is in the center of the oven. If you would like to increase the amount of heat from below, use the low rack heights. For savory roasts (especially duck and wild game), dress the meat with lard or bacon on the top.
STATIC OVEN COOKING
| Type of dish | Temperature re | Cooking time | Type of dish | Temperatur e | Cooking time |
| Pastries and cakes | (°C) | minutes | Meat | (°C) | hours |
| Fruit pie | 130 | 60-70 | Turkey (4-8 kg) | ||
| Meringues | 130 | 30-40 | Goose (4-5 kg) | ||
| Sponge cake | 150 | 20-30 | Duck (2-4 kg) | ||
| Angel cake | 160 | 40-50 | Capon (2 1/2-3 kg) | ||
| Madeira cake | 160 | 40-50 | Braised beef (1-1 1/2 | ||
| Chocolate cake | 170 | 30-40 | kg) | ||
| Flat sweet loaf | 170 | 40-50 | Leg of lamb | ||
| Puffs | 200 | 15-20 | Roast hare (2 kg) | ||
| Flaky pastry | 200 | 15-20 | Roast pheasant | ||
| biscuits | 200 | 15-20 | Chicken(1-1 1/2 kg) | ||
| Mille Feuilles | 200 | 15-20 | Minutes | ||
| Short pastry | Fish | 200 | 15-25 |
Grilling
| Type of dish | Cooking time (minutes) | Position of shell |
| Chops (0.5 kg) Sausages Grilled chicken (1 kg) Veal on the spit (0.6 kg) Chicken on the spit (1 kg) | min. 25 min. 15 min. 60 min. 60 min. 60 | 3rd guide rail 2nd guide rail 1st guide rail – – |
Cooking times may vary according to the nature of the foods, their homogeneity and their volume. When cooking a certain food for the first time, it is advisable to choose the lowest values in the cooking time range is given in the table and then increase them if necessary. The 1st guide rail is understood as being the lowest position.
Safety Is A Good Habit To Get Into
◎ This appliance is designed for non-professional, household use, and its functions must not be changed.
◎ The electrical system of this appliance may be used safely only when it is correctly connected to an efficient earthing system in compliance with the safety standards currently in effect.
◎ The manufacturer will not be held liable for any damages that might arise out of the incorrect installation or improper, incorrect or unreasonable use of the appliance.
The following items are potentially dangerous, and, therefore, appropriate measures must be taken to prevent children and the disabled from coming into contact with them:
- Controls and the appliance in general;
- Packaging (bags, polystyrene, nails, etc.);
- The appliance immediately after use of the oven or grill due to the heat generated;
- The appliance when no longer in use (potentially dangerous parts must be made safe).
Avoid the following:
- Touching the appliance with wet parts of the body;
- Using the appliance when barefoot;
- Pulling on the appliance or the supply cord to unplug it from the electrical outlet;
- Obstructing the ventilation or heat dissipation slots;
- Allowing power supply cords for small appliances to come into contact with the hot parts of the appliance;
- Exposing the appliance to atmospheric agents (rain, sun);
- Using the oven for storage purposes;
- Using flammable liquids near the appliance;
- Using adaptors, multiple sockets and/or extension cords;
- Attempting to install or repair the appliance without the assistance of qualified personnel.
WARNING- Accessible parts will become hot when in use. To avoid burns and scalds children should be kept away
During use the appliance becomes hot, Care should be taken to avoid touching heating elements inside the oven.
Qualified personnel must be contacted in the following cases:
- Installation (following the manufacturer’s instructions);
- When in doubt about operating the appliance;
- Replacing the electrical outlet when it is not compatible with the plug for the appliance.
- Service Centres authorized by the manufacturer must be contacted in the following cases:
- If in doubt about the soundness of the appliance after removing it from the packaging;
- If the power supply cord has been damaged or needs to be replaced;
- If the appliance breaks down or functions poorly; ask for original spare parts.
It is a good idea to do the following: - Only use the appliance to cook food, nothing else;
- Check the soundness of the appliance after it has been unpacked;
- Disconnect the appliance from the electrical mains if it is not functioning properly and before cleaning or performing maintenance;
- When the appliance is not used for an extended period of time, cut off the supply of power and close the gas cock (it is present);
- Use cooking gloves to place cookware in the oven or when removing it;
- Always grasp the oven door in the center because the ends may be hot due to the escape of hot air;
- Make sure that the control knobs are on the “o” set when the appliance is not in use;
- Cut the power supply chord after disconnecting it from the mains when you decide not to use the appliance any longer.
◎ The manufacturer may not be held responsible for any damage due to: incorrect installation, improper, incorrect and irrational use.
Installation
Important: the power supply to the appliance must be cut off before any adjustments or maintenance work is done on it.
Installation of Built-in Ovens
To ensure the proper working order of the built-in appliance, the kitchen unit must be of a suitable size.
The sizes of the unit for installing the cooker under a worktop or in a column unit are shown below.
The unit panels next to the cooker must be heat resistant. In the case of veneered wood units, glues must be resistant to a temperature of 120℃.
In accordance with safety standards, once the appliance has been mounted, there must be no possible contact with electrical parts. Any protective parts must be secured so that they can only be removed with the use of tools.
Sealing the oven
Insert the appliance into the compartment; open the oven door and fasten the oven to the cabinet using the four screws “A”, remembering to place the special spacers provided between the hole and the screw itself. 
Electric connection
Cookers with a three-pole power supply cable are designed to operate with alternated current at the supply frequency and voltage indicated on the data plate (at the bottom of the oven dashboard). The earthing conductor of the cable is the yellow-green conductor. Connecting the power supply cable to the mains
The appliance must be directly connected to the mains using an omnipolar circuit-breaker with a minimum contact opening of 3 mm installed between the appliance and the mains, suitable for th load indicated and complying with current directives (the earthing wire must not be interrupted by the circuit-breaker). The power supply cable must be positioned so that it does not exceed 50℃ more than room temperature at any point of its length.
Before making the connection check that:
- the limiter valve and the home system can support the appliance load(see data plate);
- the power supply system has an efficient earthing connection which complies with the provisions of current regulations;
- the socket or omnipolar circuit-breaker is easily accessible once the cooker has been installed.
NOTE: do not use reducers, adaptors or shunts as they could cause overheating and burns.
Technical Specifications
| Electric oven size: | litres 100 /900mm |
| Oven size | |
| Width | 895mm |
| Depth | 546mm |
| Height | 470mm |
Powers absorbed in accordance with models
| Accessories according to models | |||||
| Oven lower heating el. | 1300Watt | Total grill heating el. | 1050+2000 Watt | synchro motor | 4 Watt |
| Oven upper heating el. | 1050Watt | Circle heating el. | 2800Watt | Shaded motor (back) | 33 Watt |
| Oven light | 25 Watt | Shaded motor (top) | 25Watt | ||
| Voltage end frequency: | 220-240V/50Hz |
| Power supply Max: | 2800W(220V) – 3400W (240V) |
Warranty Card
Worldwide Appliances Pty Limited
A.B.N. 45868077422
Office:
48-50 Moore Street, Leichhardt N.S.W 2040
Post:
Locked Bag 3000, Annandale, N.S.W 2038
P: 1300 694 583
WARRANTY REGISTRATION
Your ongoing satisfaction with your artistic product is important to us. We ask that you complete the enclosed Warranty Registration Card and return it to us so that we have a record of the artistic product purchased by you.
PRIVACY
Worldwide Appliances respects your privacy and is committed to handling your personal information in accordance with the National Privacy Principles and the Privacy Act 1988 (Cth). A copy of the Worldwide Appliances Privacy Policy is available at www.artusi.com.au. Worldwide Appliances will not disclose any personal information set out
in the Warranty Registration Card (“Personal Information”) without your consent unless required by:
- law;
- any Worldwide Appliances related company;
- any service provider which provides services to artists or assists artists in providing services (including repair and warranty services) to customers. Our purpose in collecting the Personal Information is to keep a record of the artistic product purchased by you, in order to provide better warranty service to you in the unlikely event that there is a problem with your artistic product. Worldwide Appliances may contact you at any one or more of the addresses, email addresses, or telephone numbers set out in the Warranty Registration Card. Please contact the artist on 1300 694 583 should you not wish to be contacted by Worldwide Appliances.
WARRANTY
- Warranty
Worldwide Appliances warrants that each artist product will remain, for a period of either 12 months or 24 months of warranty. All Warranties are valid from the original date of purchase, And warranty claims must be accompanied by proof of purchase. 24 months warranty products: All Built-in Appliances – Limited to Ovens, Gas, Induction And Electric Cooktops, and All Rangehoods Freestanding Cookers – Gas and Electric Models (900mm Width)
Dishwashers – Freestanding, Fully Integrated,
Semi-Integrated and built-in 12 months warranty products: Freestanding Cookers – Gas and Electric Models in 50cm, 54cm and 60cm Widths
Portable Appliances* – Benchtop Models and Portable Gas Models - What is not covered by the Warranty.
The Warranty does not apply if an artistic product is defective by a factor other than a defect arising in the manufacture of the artistic product, including but not limited to:
(a) damage through misuse (including failure to maintain, service or use with proper care), neglect, accident or ordinary wear and tear (including deterioration of parts and accessories and glass breakage);
(b) use for the purpose for which the artistic product was not sold or designed;
(c) use or installation which is not in accordance with any specified instructions for use or installation;
(d) use or operation after a defect has occurred or been discovered;
(e) damage through freight, transportation, or handling in transit (other than when Worldwide Appliances is responsible);
(f) damage through exposure to chemicals, dust, residues, excessive voltage, heat, atmospheric conditions or other forces or environmental factors outside the control or Worldwide Appliances;
(g) repair, modification or tampering by the purchaser or any person other than Worldwide Appliances, an employee of Worldwide Appliances or an authorized artist service
contractor*;
(h) use of parts, components or accessories which have not been supplied or specifically approved by the artist.
(i) damage to surface coatings caused by cleaning or maintenance using products not recommended in the artistic product handbook provided to the purchaser upon purchase of the artistic product;
(j) damage to the base of an electric oven due to items having been placed on the base of the oven cavity or covering the base, such as aluminum foil (this impedes the transfer of heat from the element to the oven cavity and can result in irreparable damage); or
(k) damages, dents or other cosmetic imperfections not affecting the performance of the artist in respect of an artistic product purchased as a “factory second” or from display The Warranty does not extend to light globes used in artist products. - Domestic Use
Each artist’s product is made for domestic use. This Warranty may not extend to artistic products used for commercial purposes. - Time for Claim under the Warranty
You must make any claim under this Warranty within twenty-eight (28) days after the occurrence of an event that gives rise to a claim pursuant to the Warranty, by booking a service call on the telephone number below. - Proof of Purchase
Customers must retain proof of purchase in order to be eligible to make a warranty claim in respect of an artusi product. - Claiming under the Warranty
Customers will bear the cost of claiming under this Warranty unless Worldwide Appliances determines the expenses are reasonable, in which case the customer must claim those expenses by providing written evidence of each expense to Worldwide Appliances at the address on the Warranty Registration Card. - Statutory Rights
(a) These terms and conditions do not afect your statutory rights.
(b) The limitations on the Warranty set out in this document do not exclude or limit the application of the consumer guarantees set out in the Act or any other equivalent or corresponding legislation in the relevant jurisdiction where to do so would: (i) contravene the law of the relevant jurisdiction; or
(ii) cause any part of the Warranty to be void. (c) Worldwide Appliances excludes indirect or consequential loss of any kind (including, without limitation, loss of use of the artistic product) and (other than expressly provided for in these terms and conditions) subject to all terms, conditions and warranties implied by custom, the general law, the Act or other statute.
(d) The liability of Worldwide Appliances to you Warranty Card tear off for a breach of any express or non-excludable implied term, condition or warranty is limited at
the option of Worldwide Appliances to:
(i) replacing or repairing the defective part of the artistic product;
(ii) paying the cost of replacing or repairing the defective part of the artistic product;
(iii) replacing the artistic product; or
(iv) paying the cost of replacing the artistic product.
(e) Our goods come with guarantees that cannot be excluded under the Australian Consumer Law. You are entitled to a replacement or refund for a major failure and for compensation for any other reasonably foreseeable loss or damage. You are also entitled to have the goods repaired or replaced if the goods fail to be of acceptable quality and the failure does not amount to a major failure. - Defects
Any part of an artistic product deemed to be defective and replaced by Worldwide Appliances is the property of Worldwide Appliances.
Worldwide Appliances reserves the right to inspect and test artistic products in order to determine the extent of any defect and the validity of a claim under the Warranty.
*To locate your closest artusi authorized service agent please contact us on 1300 652 100 or visit www.artusi.com.au
ALL SERVICE CALLS MUST BE BOOKED THROUGH AN AUTHORISED DEALER OR WARRANTY DEPARTMENT ON 1300 652 100 OR stokesaps.com.au/artusi-service
WARRANTY REGISTRATION CARD 01052013
Please complete and send to ARTUSI at: REPLY PAID 83617 LEICHHARDT NSW 2040
| Last Name: | First Name: | |
| Address: | ||
| State: | Postcode: | Email: |
| Home Phone: | Mobile: | |
| Purchase Date: / / (Please attach proof of purchase to validate warranty) | ||
| MODEL NUMBER | SERIAL NUMBER (if you cannot locate the serial number please call ARTUSI on 1300 694 583) |
| 1 | |
| 2 | |
| 3 | |
| 4 |
01032014
DISCLAIMER
Worldwide Appliances PTY LTD, trading as ARTUS, is continually seeking ways to improve the design specifications, aesthetics, and production techniques of its products. As a result alterations to our products and designs take place continually. Whilst every effort is made to produce information and literature that is up to date, this brochure should not be regarded as an infallible guide to the current specifications, nor does it constitute an offer for the sale of any particular product. Product dimensions indicated in our literature is indicative only. Actual product only should be used to define dimension cutouts. Distributors and retailers are not agents of ARTUS and are not authorized to bind ARTUS by any express or implied undertaking or representation.
ARTUS OFFICES ARE OPEN DAILY FROM *AM/&PM AND SATURDAYS +’AM/#PM
| NSW & ACT !HEAD OFFICE” 48-50 MOORE STREET LEICHHARDT F ‘02585694699 P:1300649583 | VIC. TAS & SA +(++ TOORAK ROAD CAMBERWELL F0398092155 | QLD +/#( CAVENDISH ROAD COORPAROO F 0733970850 | WA & NT UNIT +’/&& HOWE STREET OSBORNE PARK F 0892019188 | NZ PO BOX ++.+)’ SOCKBURN CHRISTCHURCH F033445906 ARTUSI.COM.AU |



















