SP9 Desktop Speaker Stands
User Manual
SPEAKER STAND
Supporting your digital lifestyle™
Thank you for choosing Kanto
Read these instructions fully before assembly and installation. If you do not understand these directions, or have any doubts about the safety of the installation, please consult a qualified installation contractor. Make sure there are no defective or missing parts.
Do not use defective parts. Kanto cannot be liable for property damage or injury caused by incorrect mounting, incorrect assembly, lifting or incorrect use of this product. If there is hardware missing, or if you are uncertain whether a part is defective, please contact Kanto directly using one of the methods below.
CAUTION
The maximum loading weight is 30 lb (13.6 kg). This speaker stand is intended for use only with the maximum weights indicated. Use with products heavier than the maximum weights indicated may result in instability causing possible injury.
1-888-848-2643
[email protected]
Supplied Parts and Hardware
Project Overview
If you have any problems or difficulties while following these instructions, please contact Kanto directly: Email: [email protected]
Toll Free: US & Canada: 1-888-848-2643
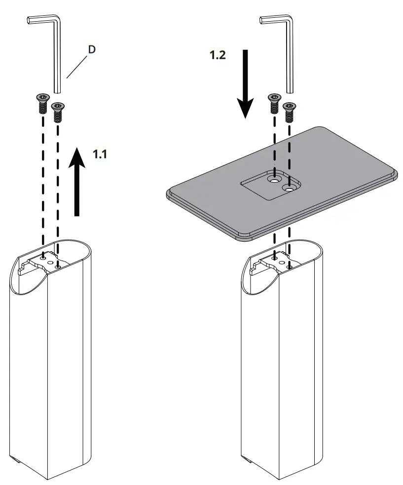
Assemble Base
Insert Cables
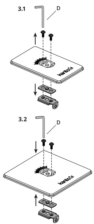
Change to Large Top Plate (Optional)
Adjust Top Plate Angle (Optional)
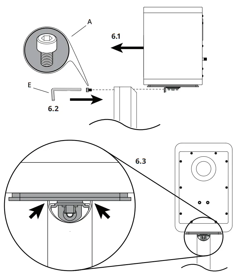
Mount Speaker (Optional)
Optional step. Only for speakers with standard threaded speaker mount. Speaker not included.
Attach Top Plate to Tube
NOTE
Procedure is the same if you did not mount a speaker in step 3.


Limited Warranty to Original Purchaser
Kanto Living Inc. (Kanto) warrants the equipment it manufactures to be free from defects in material for the limited warranty period of 2 years.
If equipment fails because of such defects and Kanto is notified within 2 years from the date of shipment with proof of original invoice from an authorized reseller, Kanto will, at its option, provide replacement parts or replace the equipment, provided that the equipment has not been subjected to mechanical, electrical, or other abuse or modifications. Any replacement parts or replacement units are warranted for 90 days from the day of reshipment to the original purchaser.
Customers will be responsible for obtaining a Return Authorization Number and paying shipping costs to return product to a Kanto location or authorized depot. If the equipment is covered under the warranty provisions above, Kanto will replace parts or provide a replacement unit, and be responsible for shipping costs to the customer. Please keep the original packaging to prevent damage to the product during shipping. Insuring your shipment is also recommended.
The information in the manual has been carefully checked and is believed to be accurate. However, Kanto assumes no responsibility for any inaccuracies that may be contained in the manual. In no event will Kanto be liable for direct, indirect, special, incidental, or consequential damages resulting from any defect in the equipment, even if advised of the possibility of such damages. This warranty is in lieu of all other warranties expressed or implied, including without limitation, any implied warranty, including any warranty of merchantability and fitness for any particular purpose, all of which are expressly disclaimed.
22-H
www.kantoaudio.com
[email protected]
Toll Free: US & Canada: 1-888-848-2643























