kanto SP26PL Speaker Stands

Thank you for choosing Kanto Read these instructions fully before assembly and installation. If you do not understand these directions, or have any doubts about the safety of the installation, please consult a qualified installation contractor. Make sure there are no defective or missing parts.Do not use defective parts. Kanto cannot be liable for property damage or injury caused by incorrect mounting, incorrect assembly, lifting or incorrect use of this product. If there is hardware missing, or if you are uncertain whether a part is defective, please contact Kanto directly using one of the methods below.
CAUTION
The maximum loading weight is 30 lb (13.6 kg). This speaker stand is intended for use only with the maximum weights indicated. Use with products heavier than the maximum weights indicated may result in instability causing possible injury.
- 1-888-848-2643
- [email protected]
Supplied Parts and Hardware

Project Overview
- Assemble Base & Choose Feet
- Insert Cables
- Change to Large Top Plate (Optional)
- Adjust Top Plate Angle (Optional)
- Mount Speaker (Optional)
- Mount Top Plat
IMPORTANT!: Please read this entire document before attempting assembly
If you have any problems or difficulties while following these instructions, please contact Kanto directly:
- Email: [email protected]
- Toll Free: US & Canada: 1-888-848-2643
Assemble Base & Choose Feet

Insert Cables

Change to Large Top Plate (Optional)
Optional step. You may wish to use the large top plate with large speakers.

Adjust Top Plate Angle (Optional)

Mount Speaker (Optional)
Optional step. Only for speakers with standard threaded speaker mount. Speaker not included.

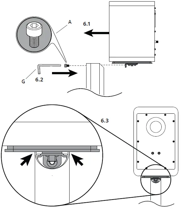
Mount Top Plat
NOTE
Procedure is the same if you did not mount a speaker in step 5.

MODELS

- kantoaudio.com
- Kanto Audio
- @kantoaudio
- Kanto Solutions
- kantoaudio
- Kanto Living



















