Inwa MZ-508 Riding Speed Display Speaker Instruction Manual
Thank you for buying this product. Please read all safety information and operation instruction before using the bluetooth speaker.
SAFETY INSTRUCTIONS
- Read all instructions and save them for personal reference in the future.
- Follow all directions for operating the product.
- Do not place it near a heat source. Avoid getting close to radiators, stoves and other heat-generating equipment. Avoid long-term exposure to sunlight and high temperature.
- This speaker has 4 modes: BT/TF/CLOCK/riding mode.
- Please note: When the music is paused for 10 minutes, the speaker will enter the clock mode. To restart the speaker, press the power on/off/mode button.
Scan the QR code to download the APP, the riding mode can display the speed per hour.
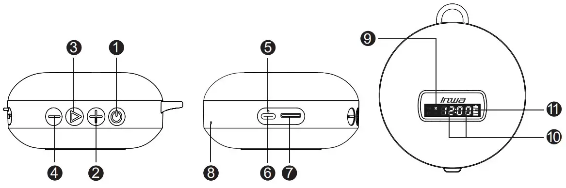
PRODUCT DESCRIPTION

CONTROL PANEL AND INTERFACE

: Power On/Off/Mode: long press for 2 seconds to turn on/off; short press to switch BT/TF mode in power-on state.
: Increase volume: long press to increase volume, short press to next song.
: Play/Pause/Pair: In the speaker Bluetooth connection state, or in the TF card mode, short press to play/pause; in the speaker Bluetooth connection state, short press to make and receive calls, long press for 2 seconds to forcefully disconnect the current connection and enter Bluetooth search for pairing status.
: Decrease the volume: long press to decrease the volume, short press to the previous song.- Power/Charge indicator (red light)
- Power Port: DC 5V 1A
- SD Card Slot
- Microphone
- BT/TF
- Speed/Clock
- Battery symbol
Display mode of the display

- In SD card mode, the TF icon is always on.
- In the BT Bluetooth mode, the BT icon pairing and back-connecting will flash quickly, and the connection will be solid.
- 88:8.8 is the status display:
The 24H clock is displayed by default, and the clock is automatically synchronized and calibrated when the Bluetooth connection is connected. long press “
” for 2 seconds to enter the manual clock settingmode, and single press for the minute/hour slow flashing switch. And set the minute/hour with “
” , “
” , and then press “
” to confirm.
PRODUCT PARAMETERS
- Working hours: 10h battery life at 60% volume
- Standby time: ≥300 hours
- Bluetooth range: ≤10m
- Frequency: 20HZ-20KHZ
- Bluetooth version: V5.0
- Charging time: 2-4 hours
- Working voltage: 5V/1A
- Rated power: 8W
- Waterproof level: IP67
- Battery capacity: 2200mAh
PACKAGE CONTENTS
- MZ-508 Host X1
- Speaker holder for bicycles X1
- 0.6m usb charging cable X1
- Speaker clips X1
- Manual X1
Charging tips
- When the battery is low, the speaker “low battery alarm” prompts, you need to charge the speaker.
- When charging, the red indicator light is always on, and the red indicator light is off when it is fully charged.
- It is recommended to charge the product with lithium battery every three months when not in use.
OPREATION INSTRUCTION
- Step 1
Press and hold the power button “
” for 2 seconds, there will be a power-on prompt sound. After power-on, the Bluetooth icon ”
“flashes quickly, the speaker enters the Bluetooth pairing state, and the default volume is 80%. Each time the speaker is turned on, the speaker will automatically restore the default volume of 80%.
Notice:
Inserting a TF card during Bluetooth playback will automatically switch to TF card playback mode. - Step 2
Turn on the Bluetooth function on your mobile phone or other Bluetooth device, and then search for the speaker named MZ-508.
Connect with speakers.
- Search MZ – 508 speaker on mobile phone;
- Connect MZ-508 speakers;
- Play music through MZ-508 speakers.
- Step 3
How to connect speakers with new equipment:
When connecting the speaker to the device, you can press and hold the Play/Pause/ Pairing button ”
” for 2 seconds to cut off the current connection and enter the pairing state. Then, the Bluetooth icon ”
” flashes quickly, and the speaker can be connected to the new device.
Note:
When Bluetooth is turned on, it will automatically reconnect, and it will enter the clock mode for 10 minutes without connection.
INSTALLATION GUIDE OF HOLDER
Step 1
As picture 1 shows, pressing the bulge of the holder, takeout the speaker before installing the holder.
Step 2
As picture 2 shows, screw out the screws from the holder.
Step 3
Put the non-slip mat 1 into the ring of the holder, fix the holder onto the bike through the ring, and tighten the holder with screw which has been taken out in step 2.
Note:
If the steering axle is too thin and can not be fixed with only 1 non-slip mat, you can put mat 1 & 2 into the ring, pass the steering axle through the ring, then tighten the holder with screw. If the holder is still loose, you can fold the non-slip mat 2, and put the mat 1 & folded mat 2 into the ring, pass the steering axlethrough the ring, then tighten the holder with screw
Step 4
After installing the holder, you can push the speaker into the holder. Upon hearing a click, the speaker is installed well.
TEL FUNCTION OF THE SPEAKER
- Answer a call: When the speaker is connected to the mobile phone, if there is an incoming call, you can short press the Play/Pause/Pairing button ”
” to answer it. - Hang up the call: When the speaker is connected to the mobile phone, you can short press the Play/Pause/Pairing button ”
” to hang up during the call.
- Reject call: When the speaker is connected to the mobile phone, you can reject the call by pressing and holding the Play/Pause/Pairing button ”
”.
CONNECTION MEMORY FUNCTION OF THE SPEAKER
The speaker will automatically connect to the last paired device, in case that BT function of the device is on, after turning the speaker on.
TF CARD MODE
After inserting the SD card, the speaker will enter the TF card mode, you can short press the power button ”
”to enter the mode switch.
Riding mode
Scan the QR code and download the mobile APP before use,open the mobile phone APPin the Bluetooth mode, add a Bluetooth speaker, and the APP pushes the display of the speed of 0 to 120 kilometers per hour and the voice report information to the Bluetooth speaker through the mobile phone.
S is speed
0~120 is the speed per hour
Refresh the speed display every 1 second
When the mobile phone APP is connected to the speaker, it will automatically switch to the speed display mode. 88:8.8 only displays the speed per hour, S flashes slowly, and the mobile phone displays 0~120KM per hour when it is stationary and in motion. When the current speed reaches S 120, the display screen and the APP interface speedometer flash simultaneously and prompt attention to reduce the speed.When the speaker displays the speed in the riding mode, press the power button “
” to switch the clock display.
Warranty card

Warranty records


























