BEGA 50901.1 Recessed Ceiling Downlight for Indoor

Product Information
Safety: The installation and operation of this luminaire are subject to national safety regulations. Installation and commissioning should only be carried out by a qualified electrician. The manufacturer is not liable for damage caused by improper use or installation.
Overvoltage Protection: The electronic components installed in the luminaire are protected against overvoltage according to DIN EN 61547. Additional protection against transients is recommended through separate overvoltage protection components available on the manufacturer’s website.
Lamp: The luminaire uses LED-0978/930 module with a connected wattage of 11.5W and a luminaire-connected wattage of 13.8W. The rated temperature is 25°C, and the ambient temperature range is 40°C.
Colour Temperature and Rendering: The module has a colour temperature of 3000K and a colour rendering index(CRI) greater than 90.
Luminous Flux: The module has a luminous flux of 1735 lm, while the luminaire has a luminous flux of 1467 lm. The luminaire’s luminous efficiency is 106.3 lm/W.
Installation: Avoid touching the light output opening of the LED directly during installation or relamping. For installation into concrete ceilings, it is recommended to use installation housing 13 027. Adjustments to the fastening claws andmounting screws may be required based on the thickness of the ceiling cladding.
Replacing the LED Module: The LED module can be replaced by qualified individuals using standard tools. Disconnect the electrical installation, open the luminaire, follow theinstallation instructions for the LED module, and then close the luminaire.
Product Usage Instructions
- Ensure that installation and commissioning of the luminaire are carried out by a qualified electrician.
- Consider additional overvoltage protection components for better protection against transients.
- Follow the recommended wattage, temperature, and safety guidelines for the lamp.
- Take note of the colour temperature, colour rendering index, and luminous flux specifications for the module and luminaire.
- Avoid direct contact with the LED light output during installation or relamping.
- If installing into concrete ceilings, use installation housing 13 027.
- Adjust the fastening claws and mounting screws based on the thickness of the ceiling cladding (minimum 13 mm, maximum 33 mm).
- Connect the plug part of the luminaire with the power supply unit.
- Push the external LED power supply unit and luminaire housing into the ceiling cut-out.
- Tighten the screws of claw fasteners evenly.
- Screw the enclosed trim ring with attached reflector into the luminaire housing by turning it clockwise.
- When replacing the LED module, disconnect the electrical installation and open the luminaire.
- Follow the installation instructions provided for the LED module.
- Close the luminaire after replacing the LED module.
Dimension

Instructions for use
Application
Recessed ceiling luminaire · indoor luminaire with symmetrical narrow beam light distribution connection to external LED power supply unit. For installation into suspended ceilings with a shallow depth in interior areas. BEGA Hybrid Optics®: Highly efficient and low loss light distribution, thanks to reflector and optical lens.
Product description
Recessed LED ceiling luminaire downlight »GENIUS« without power supply unit Cast aluminium luminaire housing, finish Colour velvet white, Reflector surface made of pure aluminium Optical silicone lens · BEGA Hybrid Optics® Trim ring · Chrome finish Safety glass Fixing is achieved by using two adjustable wedge-shaped claws 1 connecting cable with strain relief and plug connector system for BEGA power supply unit, on/off or DALI Safety class III 3 c – Conformity mark Weight: 1.2 kg This product contains light sources of energy efficiency class(es) D
Safety
The installation and operation of this luminaire are subject to national safety regulations. Installation and commissioning may only be carried out by a qualified electrician. The manufacturer accepts no liability for damage caused by improper use or installation. If subsequent modifications are made to the luminaire, the person responsible for these modifications shall be considered the manufacturer.
Overvoltage protection
The electronic components installed in the luminaire are protected against overvoltage in accordance with DIN EN 61547. To achieve additional protection againste. g. transients, etc. we recommend separate overvoltage protection components.You can find them on our website at www.bega.com.
- Lamp
- Module connected wattage 11.5 W
- Luminaire connected wattage 13.8 W
- Rated temperature ta = 25 °C
- Ambient temperature ta max = 40 °C
- 50 901.1 K3
- Module designation LED-0978/930
- Colour temperature 3000 K
- Colour rendering index CRI > 90
- Module luminous flux 1735 lm
- Luminaire luminous flux 1467 lm
- Luminaire luminous efficiency 106,3 lm / W
Lighting technology
Symmetrical narrow beam light distribution Half beam angle 14°
Installation
LED are high-quality electronic components! Please avoid touching the light output opening of the LED directly during installation or relamping.
A separate power supply unit is required to operate the luminaire.
For connection to external LED power supply unit – accessory 13 144 or 13 170 – the luminaire is equipped with a 2-pin connector. Note operating instructions of the LED power supply units. The recessed opening is covered by the frame of the luminaire housing. Fixing of the luminaire in the structure is achieved by using two adjustable wedge-shaped claws.
Installation into concrete ceilings:
For the installation of luminaire and external power supply unit, we recommend using installation housing 13 027.
Please note:
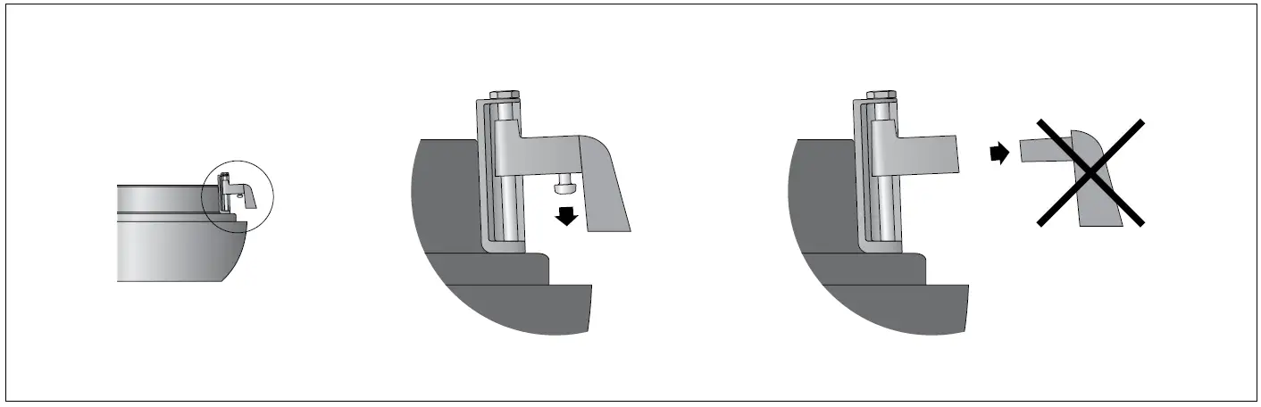
To ensure that the luminaire is securely held in the plastered installation housing, it is essential to unscrew the screws on the underside of the fastening claws and remove the adapter for the fastening claws (see drawing).
Installation into inserted ceilings:
A recessed opening of ø 170 mm is necessary to accept the luminaire housing. Recessed depth min. 55 mm. The claws catch the ceiling facing from the back side. The minimum thickness of the panel must be 3 mm and the maximum thickness 18 mm. If the ceiling facing has a thickness of less than 3 mm or in case of an installation into plasterboard ceilings, the facing thickness in the region of the claws must be increased from the back side. If the ceiling cladding is thicker, it is essential to unscrew the screws on the underside of the mounting claws and remove the adapter for the mounting claws (see drawing). The minimum thickness of the ceiling cladding must be 13 mm and the maximum 33 mm. Connect plug part of the luminaire with the power supply unit. Push the external LED power supply unit and luminaire housing into the ceiling cut-out. Tighten evenly screws of claw fasteners. Screw the enclosed trim ring with attached reflector into the luminaire housing by turning it clockwise.
Cleaning · Maintenance
Clean luminaire regularly with solvent-free cleansers from dirt.
Replacing the LED module
The designation of the LED module is noted on a label in the luminaire. The light colour and light output of BEGA replacement modules correspond to those of the modules originally fitted. The module can be replaced by qualified persons using standard tools. Disconnect the electrical installation.Open the luminaire. Please follow the installation instructions for the LED module. Close the luminaire.
Accessories
Power supply units for LED luminaires 220-240 V · 0/50-60 Hz with strain relief and plug connector system.
- 13 144 Power supply unit on/off
- 13 170 Power supply unit DALI
The power supply units are only suitable for the operation of one LED luminaire.
- 13 027 Installation housing
For the accessories, a separate instructions for use can be provided upon request.
- Spares
- Glass/Trim ring 20 000 042 B4
- LED module 3000 K LED-0978/930
- Reflector 76 001 610 .1M
BEGA Gantenbrink-Leuchten KG · Postfach 31 60 · 58689 Menden · [email protected] · www.bega.com









