BEGA 50900.1 Recessed Ceiling Downlight for Indoor Use

Product Information
This product is a luminaire that requires installation and commissioning by a qualified electrician. It is important to follow national safety regulations during installation and operation. The manufacturer does not accept liability for damage caused by improper use or installation. Modifications to the luminaire should only be made by authorized personnel.
The luminaire is equipped with electronic components that are protected against overvoltage in accordance with DIN EN 61547. Additional overvoltage protection components are recommended to provide protection against transients. These components can be found on the manufacturer’s website at www.bega.com.
Product Specifications
- Lamp Module connected wattage: 8.5 W
- Luminaire connected wattage: 10.2 W
- Rated temperature: ta = 25°C
- Ambient temperature: ta max = 40°C
- Module designation: LED-0986/930
- Colour temperature: 3000 K
- Colour rendering index: CRI > 90
- Module luminous flux: 1200 lm
- Luminaire luminous flux: 962 lm
- Luminaire luminous efficiency: 94.3 lm/W
Product Usage Instructions
Installation
- During installation, ensure that the luminaire housing and external LED power supply unit are not covered by any heat-insulating materials. Avoid touching the light output opening of the LED directly during installation or relamping.
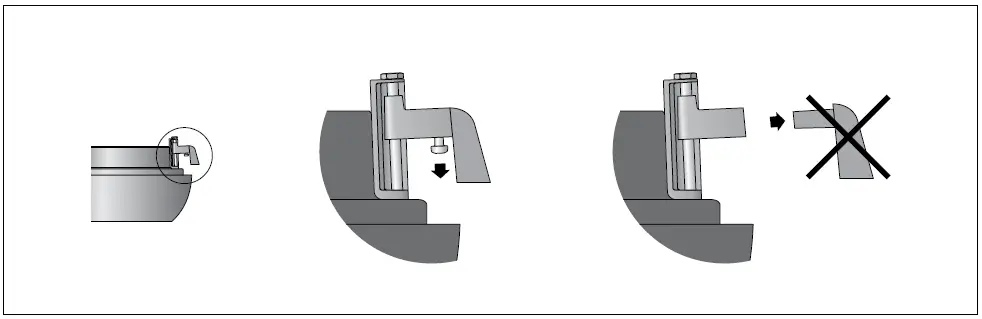
- If installing concrete ceilings, it is recommended to use installation housing 10 440. To securely hold the luminaire in the plastered installation housing, unscrew the screws on the underside of the fastening claws and remove the adapter for the fastening claws.
- If the ceiling cladding is thicker, unscrew the screws on the underside of the mounting claws and remove the adapter for the mounting claws. The minimum thickness of the ceiling cladding must be 13 mm and the maximum 33 mm.
- Connect the plug part of the luminaire with the power supply unit. Push the external LED power supply unit and luminaire housing into the ceiling cut-out. Tighten the screws of the claw fasteners evenly. Finally, screw the enclosed trim ring with the attached reflector into the luminaire housing by turning it clockwise.
Replacing the LED module
To replace the LED module, follow these steps:
- Disconnect the electrical installation.
- Open the luminaire.
- Refer to the installation instructions for the LED module.
- Close the luminaire.
Application
- Recessed ceiling luminaire · indoor luminaire with symmetrical narrow beam light distribution for connection to external LED power supply unit.
- For installation into suspended ceilings with a shallow depth in interior areas.
- BEGA Hybrid Optics®: Highly efficient and low-loss light distribution, thanks to reflector and optical lens.
Product Description
- Recessed LED ceiling luminaire downlight
- »GENIUS« without power supply unit
- Cast aluminium luminaire housing, finish Colour velvet white,
- Reflector surface made of pure aluminium
- Optical silicone lens · BEGA Hybrid Optics®
- Trim ring · Chrome finish
- Matt safety glass
- Fixing is achieved by using two adjustable wedge-shaped claws
- 1 connecting cable with strain relief and plug connector system for BEGA power supply unit, on/off or DALI
- Safety class III 3
- Conformity mark
- Weight: 0.65 kg
- This product contains light sources of energy efficiency class(es) E
Safety
- The installation and operation of this luminaire are subject to national safety regulations.
- Installation and commissioning may only be carried out by a qualified electrician.
- The manufacturer accepts no liability for damage caused by improper use or installation.
- If subsequent modifications are made to the luminaire, the person responsible for these modifications shall be considered the manufacturer.
Overvoltage protection
- The electronic components installed in the luminaire are protected against overvoltage in accordance with DIN EN 61547.
- To achieve additional protection against e. g. transients, etc. we recommend separate overvoltage protection components.
- You can find them on our website at www.bega.com.
Lamp Specification
- Module connected wattage 8.5 W
- Luminaire connected wattage 10.2 W
- Rated temperature ta = 25 °C
- Ambient temperature ta max = 40 °C
50 900.1 K3
- Module designation LED-0986/930
- Colour temperature 3000 K
- Colour rendering index CRI > 90
- Module luminous flux 1200 lm
- Luminaire luminous flux 962 lm
- Luminaire luminous efficiency 94,3 lm / W
Lighting technology
Symmetrical narrow beam light distribution Half beam angle 16°
Installation
- Luminaire housing and external LED power supply unit must not be covered by any heat-insulating materials.
- LED are high-quality electronic components!
- Please avoid touching the light output opening of the LED directly during installation or relamping.
A separate power supply unit is required to operate the luminaire.
- For connection to the external LED power supply unit – accessory 13 143 or 13 168 – the luminaire is equipped with a 2-pin connector.
- Note the operating instructions of the LED power supply units.
- The recessed opening is covered by the frame of the luminaire housing.
- Fixing of the luminaire in the structure is achieved by using two adjustable wedge-shaped claws.

Installation into concrete ceilings:
For the installation of the luminaire and external power supply unit, we recommend using installation housing 10 440.
Please note:
To ensure that the luminaire is securely held in the plastered installation housing, it is essential to unscrew the screws on the underside of the fastening claws and remove the adapter for the fastening claws (see drawing).
Installation into inserted ceilings:
- A recessed opening of ø 95 mm is necessary to accept the luminaire housing.
- Recessed depth min. 55 mm.
- The claws catch the ceiling facing from the back side. The minimum thickness of the panel must be 3 mm and the maximum thickness 18 mm. If the ceiling facing has a thickness of less than 3 mm or in case of an installation into plasterboard ceilings, the facing thickness in the region of the claws must be increased from the back side.
- If the ceiling cladding is thicker, it is essential to unscrew the screws on the underside of the mounting claws and remove the adapter for the mounting claws (see drawing).
- The minimum thickness of the ceiling cladding must be 13 mm and the maximum 33 mm.
- Connect the plug part of the luminaire with the power supply unit.
- Push the external LED power supply unit and luminaire housing into the ceiling cut-out.
- Tighten evenly screws of claw fasteners.
- Screw the enclosed trim ring with the attached reflector into the luminaire housing by turning it clockwise.
Dimension

Cleaning And Maintenance
Clean the luminaire regularly with solvent-free cleansers from dirt.
Replacing the LED module
- The designation of the LED module is noted on a label in the luminaire.
- The light colour and light output of BEGA replacement modules correspond to those of the modules originally fitted. The module can be replaced by qualified persons using standard tools.
- Disconnect the electrical installation.
- Open the luminaire.
- Please follow the installation instructions for the LED module.
- Close the luminaire.
Accessories
Power supply units for LED luminaires 220-240 V · 0/50-60 Hz with strain relief and plug connector system.
- 13 143 Power supply unit on/off
- 13 168 Power supply unit DALI
The power supply units are only suitable for the operation of one LED luminaire.
- 10 440 Installation housing
For the accessories, separate instructions for use can be provided upon request.
Spares
- LED module 3000 K LED-0986/930
- Reflector 75 003 702
- Glass/Trim ring 75 003 796
BEGA Gantenbrink-Leuchten KG · Postfach 31 60 · 58689 Menden · [email protected] · www.bega.com.












