Instruction Manual
INSTALLATION INSTRUCTIONS
WARNING
DISCONNECT POWER BEFORE RELAMPING OR WIRING THE FIXTURE.
READ ALL INSTRUCTIONS COMPLETELY BEFORE STARTING INSTALLATION.
CAUTION
- TO AVOID THE RISK OF FIRE OR SHOCK, FIXTURE MUST BE INSTALLED IN COMPLIANCE WITH ALL APPLICABLE NATIONAL AND LOCAL ELECTRICAL/BUILDING CODES.
- INSTALLATION AND MAINTENANCE OF THIS UNIT REQUIRES AN ELECTRICIAN OR CERTIFIED FACTORY TRAINED TECHNICIAN.
- If an existing fixture is being replaced, remove it and note to which of the wires in the outlet box the fixture was attached.
DO NOT SEPARATE ANY OTHER WIRES THAT MAY BE IN THE BOX. DO NOT DAMAGE THE INSULATION OF OLDER WIRING.
In regular circumstances the BLACK wire will be the “Hot” lead and the WHITE wire will be the “Neutral” or “Common” lead.
A GREEN or BARE COPPER wire is the “Ground”. In older buildings it is always good practice to reconfirm the polarity of the wiring.
NOTICE
- The important safeguards and instructions outlined on this sheet cannot cover all possible conditions and situations that may occur.
It must be understood that common sense, caution and care are factors that cannot be built into any product.
Caution and care must be supplied by the person(s) installing, operating and caring for this lighting fixture. - This fixture is designed to be mounted on a correctly installed standard round or octagon box or a through wiring box with a plaster frame. The box must be securely mounted to the structure of the building.
The crossbar and hardware supplied should be used. Directly mounting the fixture to the outlet box may make it impossible to correctly align the fixture.
FIXTURE PREPARATION
Remove the fixture, parts and parts bag(s) from the carton.
NOTICE:
Before discarding the carton, double check to make certain that all parts are found
FIXTURE INSTALLATION
New construction: Double check that APPROVED BOX and SUPPORT were correctly installed following the manufacturer’s instructions.
Remodeling (with enclosed ceiling) Install APPROVED BOX and SUPPORT following manufacturer’s instructions.
- Turn power off at the circuit breaker or the fuse box.
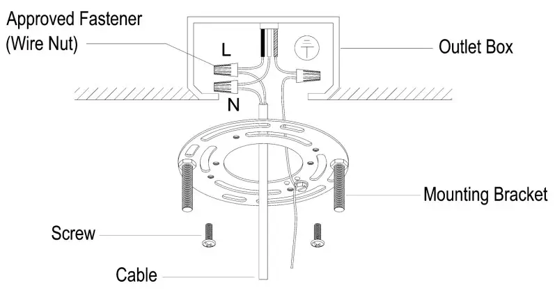
- Screw the mounting bracket to the outlet box.
- Fasten the ground wire to the green or bare copper wire in the outlet box.

WARNING
Never fasten the ground wire to the black or “hot” wire!
Failure to follow this instruction could result in serious injury or death! - Fasten the white fixture lead to the white wire in the outlet box with an approved fastener (wire nut). Tightly wrap the connection with electrical tape so that the connection seals the end of the fastener.
WARNING
Make sure that there is no exposed wire or strands that could cause a dangerous short circuit !
- Connect the black fixture lead to the black wire in the outlet box with an approved fastener (wire nut).
- Align the holes on the canopy with the holes on the mounting bracket, then fix the canopy with the decoration part.
- Put the plate(M) through the lamp holder and then use the lamp holder out ring to tighten the shade onto the lamp holder.
- Install the lamps (light bulbs).
NOTE: This fixture is rated for Max 60 watt type .
WARNING
DO NOT EXCEED RECOMMENDED WATTAGE! - Restore power at the circuit breaker or the fuse box.

Part included
| QTY | Part Description | Code |
| 0 | Junction box | A |
| 3 | Wires Nuts | B |
| 4 | Mounting screws | C |
| 1 | Mounting bracket | D |
| 2 | Studs | E |
| 0 | Leading wires | F |
| 2 | Wires | G |
| 1 | Canopy | H |
| 3 | Sockets | I |
| 3 | Glass shades | J |
| 3 | Socket rings | K |
| 0 | Lighting bulbs | L |
| 3 | Plates | M |
If you have any other needs or queries, please feel free to contact us by email [email protected].
Website : http://www.exbriteusa.com
Hotline: +1 302 336 8180



















