Valinta Scope Instruction Manual
INSTALLATION INSTRUCTIONS![]()
Mini Valinta Scope
| LED color | 722 | 730 | 740 | 827 | 830 | 840 |
| Light source energy efficiency class High Power | D | F | D | F | F | D |
| Light source energy efficiency class Mid Power | D | F | D | F | F | D |
![]()
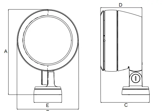
SCOPE VERSION

| MINI | MIDI | MAXI | |
| A | 308 mm 12.13 in | 382 mm 15.04 in | 445 mm 17.52 in |
| B | 219 mm 8.62 in | 297 mm 11.69 in | 354 mm 13.94 in |
| C | 231 mm 9.09 in | 227 mm 8.94 in | 216 mm 8.50 in |
| D | 199 mm 7.83 in | 195 mm 7.68 in | 184 mm 7.24 in |
| E (Ø) | 120 mm / 4,72 in | ||
| Kg/lb (RGBW) | 5,5 kg 12.12 lb | 7,6 kg 16.75 lb | 10,5 kg 23.14 lb |
| Kg/lb (Mono) | 5 kg 11.02 lb | 7,2 kg 15.87 lb | 10 kg 22.04 lb |
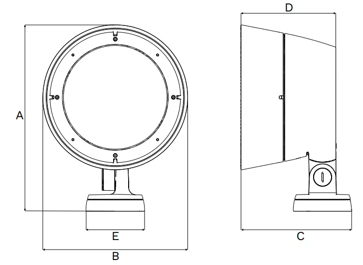
GROOVE VERSION

| MINI | 199 mm | MAXI | |
| A | 296 mm 11.65 in | 366 mm 14.41 in | 430 mm 16.93 in |
| B | 195 mm 7.68 in | 266 mm 10.47 in | 325 mm 12.80 in |
| C | 216 mm 8.50 in | 212 mm 8.35 in | 201 mm 7.91 in |
| D | 184 mm 7.24 in | 180 mm 7.09 in | 169 mm 6.65 in |
| E (Ø) | 120 mm / 4,72 in | ||
| Kg/lb (RGBW) | 5,5 kg 12.12 lb | 7,5 kg 16.53 lb | 10,5 kg 23.14 lb |
| Kg/lb (Mono) | 5 kg 11.02 lb | 7,1 kg 15.65 lb | 10 kg 22.04 lb |
CURVE VERSION

| MINI | 199 mm | MAXI | |
| A | 296 mm 11.65 in | 366 mm 14.41 in | 430 mm 16.93 in |
| B | 195 mm 7.68 in | 266 mm 10.47 in | 325 mm 12.80 in |
| C | 216 mm 8.50 in | 212 mm 8.35 in | 201 mm 7.91 in |
| D | 184 mm 7.24 in | 180 mm 7.09 in | 169 mm 6.65 in |
| E (Ø) | 120 mm / 4,72 in | ||
| Kg/lb (RGBW) | 5,5 kg 12.12 lb | 7,8 kg 17.19 lb | 10,8 kg 23.80 lb |
| Kg/lb (Mono) | 5 kg 11.02 lb | 7,4 kg 16.31 lb | 10,3 kg 22.70 lb |
FIXATION

POLE MOUNT FIXATION

FLAT MOUNT – SCOPE



SAFETY INSTRUCTIONS
The light source contained in this luminaire shall only be replaced by the manufacturer or his service agent or a similar qualified person. Always switch off the power prior to nstallation, maintenance or repair activities.
In case of PVC insulated mains cable, the installer MUST ensure that the WHOLE cable is protected against climatic conditions, especially UV rays and rain, by making sure
that the cable is contained inside the luminaire and pole Y-connection: In case of damage to the wire, it has to be replaced only by the manufacturer, distributor or by an expert, to avoid risks.



















