levenhuk 79670 LabZZ S5 12×30 Spotting Scope User Manual
Product Overview

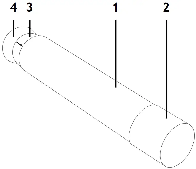
- Scope
- Objective lens
- Retractable part of the scope
- Eyepiece
Usage
Levenhuk LabZZ S5 12×30 spotting scope is designed to observe nature and weather, as well as moving and stable objects. Take the scope out of the box. Hold it with one hand on its lower part (1). Look into the eyepiece (4) at a far-away object (for example, a pole or a tree). If the object you see is not focused, slowly extend or retract the upper part of the scope (3) to change focus until the object becomes sharp in the field of view. Depending on the distance to an object, you will have to adjust the focus from time to time. Respect others‘ privacy — be considerate of your neighbors and do not use the scope to look into other people‘s homes, etc.
Care and maintenance
- Never, under any circumstance, look directly at the Sun, another bright source of light or at a laser through this device, as this may cause PERMANENT RETINAL DAMAGE and may lead to BLINDNESS.
- Take necessary precautions when using the device with children or others who have not read or who do not fully understood these instructions.
- Do not try to take the device apart on your own. For repairs of any kind, please contact your local specialized service center.
- Do not touch the optical surfaces with your fingers. You can use a soft napkin or a cleaning wipe, dipped in ether or absolute alcohol, to clean lenses. We recommend using special optics cleaning fluids from Levenhuk. Do not use any corrosive or acetone-based fluids to clean the optics.
- Abrasive particles, such as sand, should not be wiped off lenses, but instead blown off or brushed away with a soft brush.
- Do not apply excessive pressure when adjusting focus.
- Protect the device from sudden impacts and excessive mechanical force.
- Keep away from water and high humidity. Do not submerge.
- Store the device in a dry, cool place away from hazardous acids and other chemicals, away from heaters, open fire and other sources of high temperatures. Do not use the device for lengthy periods of time, or leave it unattended in direct sunlight.
- When bringing the device inside from the cold — or during any drastic change of temperature — put it in a case and allow it to adapt to the temperature of the environment.
- Always replace the dust cover after you are finished with observations to protect the device from dust and stains.
- Keep packaging materials away from children, to avoid risk of sufffocation.
The manufacturer reserves the right to make changes to the product range and specifications without prior notice.
International Lifetime Warranty
All Levenhuk telescopes, microscopes, binoculars, and other optical products, except for their accessories, carry a lifetime warranty against defects in materials and workmanship. A lifetime warranty is a guarantee on the lifetime of the product on the market. All Levenhuk accessories are warranted to be free of defects in materials and workmanship for six months from the purchase date. The warranty entitles you to the free repair or replacement of the Levenhuk product in any country where a Levenhuk office is located if all the warranty conditions are met.
For further details, please visit: www.levenhuk.com/warranty
If warranty problems arise, or if you need assistance in using your product, contact the local Levenhuk branch.
Support
levenhuk.com
Levenhuk Inc. (USA): 928 E 124th Ave. Ste D, Tampa, FL 33612,
USA, +1 813 468-3001, [email protected]
Levenhuk Optics s.r.o. (Europe): V Chotejně 700/7, 102 00 Prague 102,
Czech Republic, +420 737-004-919, [email protected]
Levenhuk®, LabZZ® are registered trademarks of Levenhuk, Inc.
© 2006—2022 Levenhuk, Inc.
All rights reserved.
20211006

References
Levenhuk optical instruments store | Levenhuk - best optical equipment
Доживотна гаранция на Levenhuk – Официален уебсайт на Levenhuk в България
Levenhuk lifetime warranty details | Levenhuk - best optical equipment
Doživotní záruka společnosti Levenhuk – Oficiální webové stránky Levenhuk pro Českou republiku
Levenhuk Lebenslange Garantie – Die offizielle Website von Levenhuk in Deutschland
| Levenhuk, los mejores equipos ópticos
Levenhuk Lifetime Warranty – Levenhuk’s official website in Europe
A Levenhuk élettartamra szóló szavatossága – A Levenhuk hivatalos magyarországi weboldala
Gwarancja bezterminowa Levenhuk – Oficjalna witryna internetowa Levenhuk w Polsce
Поддержка - Гарантийное обслуживание Левенгук - Levenhuk Russia


















