DIGITNOW BR636-A Bluetooth Transmitter and Stereo Cassette Player

PLEASE READ THIS OPERATING MANUAL COMPLETEY BEFORE OPERATION THIS UNIT AND RETAIN THIS BOOKET FOR FUTURE REFERENCE.
When you can’t pair a Bluetooth headset/speaker, please check the following:
- Pay attention to whether the volume is too low, whether the tape is just in the silent segment. You can try to adjust the volume knob to the maximum and press the DIR key to turn the tape.
- Check whether the battery power is sufficient, otherwise you can try to use a new battery.
- Make sure the Bluetooth device has sufficient power, you can try to charge the Bluetooth receiving device to pair again then.
- Whether there are multiple Bluetooth receiving devices nearby, move to somewhere else for pairing, or turn off other Bluetooth devices, leave only the Bluetooth devices that need to be paired.
- If the Bluetooth headset used is a split type of left and right ears (e.g. Airpods), or if the left and right ears can’t be connected at the same time, try to connect a single headset separately.
- If the Bluetooth playback device is not successfully connected for the first time, or you want to change another Bluetooth playback device, please press the stop button, wait for about 30 seconds (the blue indicator on the back of the product goes out), then turn on the Bluetooth Receiving device first to set it to the pairing state, then press the PLAY button of the product and wait for the Bluetooth automatic pairing success.

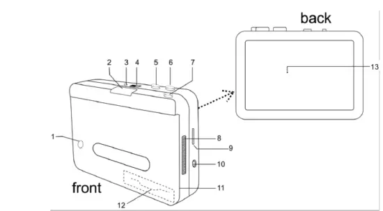
| 1. DC-In | 2. Play |
| 3. Auto reverse (DIR) | 4. Play Mode |
| 5. Fast Forward | 6. Rewind |
| 7. Stop | 8. Open door switch |
| 9. Volume control knob | 10. Earphone slot |
| 11. Cassette door | 12. Battery cover |
| 13. LED light |
Product features
- Used as a walkman, play cassette tape music everywhere.
- With Bluetooth out function, can transmit the music to other Bluetooth receivers.
- With Auto-reverse function
- 3.5mm earphone jack
Operation
- How to connect to Bluetooth receiver devices? Please make sure to turn on your Bluetooth receiver devices at first. Then Put 2*AA batteries(Not included) into the battery case or used by DC power(Not included) ,Put in the tape and press the “PLAY” button. The device will auto search and pair the Bluetooth receiver. The LED light will begin to fast flash in Blue. When the device successfully pair the Bluetooth receiver, the LED light will slowly flash in Blue ( Flash one time every one second ) .
If it does not have any Bluetooth device to connect, after the LED light fast flash for a while, it will change to slowly flash in Blue ( Flash one time every two seconds ) . - Earphone slot: enjoy music when earphones are in the slot.
- When playing music, you can use the volume control knob to adjust the volume.
- Press “DIR” button to auto-reverse the cassette.
- Press “PLAY” button to play the cassette.
- Play Mode: Selects what the cassette does when it reaches the end of a side. When set to the “loop” icon, the cassette will automatically switch direction and begin playing the opposite side when one side has finished. When set to the single arrow icon, the cassette will simply stop when a side has finished.
- Press “F.F” button to Fast Forward the cassette.
- Press “REW” button to Rewind the cassette.
- Press the “STOP” button to stop playing the tape and the Bluetooth connection will also be disconnected.
At the end of its life, the device has to be separated from the other waste. Consign the device and all its components together to a center of electronical and electrotechnical waste recycling center, designated by your local authorities
FCC Statement
This equipment has been tested and found to comply with the limits for a Class B digital device, pursuant to part 15 of the FCC Rules. These limits are designed to provide reasonable protection against harmful interference in a residential installation. This equipment generates, uses and can radiate radio frequency energy and, if not installed and used in accordance with the instructions, may cause harmful interference to radio communications. However, there is no guarantee that interference will not occur in a particular installation. If this equipment does cause harmful interference to radio or television reception, which can be determined by turning the equipment off and on, the user is encouraged to try to correct the interference by one or more of the following measures:
- Reorient or relocate the receiving antenna.
- Increase the separation between the equipment and receiver.
- Connect the equipment into an outlet on a circuit different from that to which the receiver is connected.
- onsult the dealer or an experienced radio/TV technician for help.
Caution: Any changes or modifications to this device not explicitly approved by manufacturer could void your authority to operate this equipment.
This device complies with part 15 of the FCC Rules. Operation is subject to the following two conditions: (1) This device may not cause harmful interference, and (2) this device must accept any interference received, including interference that may cause undesired operation.
RF Exposure Information
This equipment complies with FCC radiation exposure limits set forth for an uncontrolled environment. This equipment should be installed and operated with minimum distance 20cm between the radiator and your body.



















