

WEC-3001
denver-electronic.com
April 2021
Safety information
Please read the safety instructions carefully before using the product for the first time and keep the instructions for future reference.
- This product is not a toy. Keep it out of reach of children.
- Keep product out of the reach of children and pets to avoid chewing and swallowing.
- Product operating and storage temperature is from 0 degrees Celsius to 40 degrees Celsius. Under and over this temperature might affect the function.
- Never open the product. Touching the inside electrics can cause electric shock. Repairs or services should only be performed by qualified personnel.
- Do not expose to heat, water, moisture, or direct sunlight!
- The unit is not waterproof. If water or foreign objects enter the unit, it may result in fire or electric shock. If water or a foreign object enters the unit, stop use immediately.
- The direct USB power plug is used as a disconnect device, the disconnect device shall remain readily operable. So, make sure there is space around the USB cable connection on the PC for easy access.
- Do not use nonoriginal accessories together with the product as this can make the product functionality abnormal.
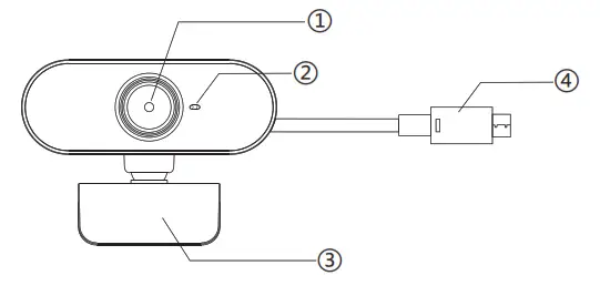
Product structure diagram
- HD Camera
- MAC hole
- Clip Mount
- USB 2.0

Installation steps

- Turn on the Camera Mount and point the camera toward the front of the display.
- Press down on the Camera Mount and snap the rear end of the screen mount to the back of the screen.
- Plug the USB data cable into the USB interface of the computer.
Please notice – All products are subject to change without any notice. We take reservations for errors and omissions in the manual.
ALL RIGHTS RESERVED, COPYRIGHT DENVER ELECTRONICS A/S
www.denver-electronics.com![]()
DENVER ELECTRONICS A/S
Omega 5A, Soften
DK-8382 Hinnerup
www.facebook.com/denverelectronics
Electric and electronic equipment contains materials, components, and substances that can be hazardous to your health and the environment if the waste material (discarded electric and electronic equipment) is not handled correctly.
Electric and electronic equipment is marked with the crossed-out trash can symbol, seen above. This symbol signifies that electric and electronic equipment should not be disposed of with other household waste, but should be disposed of separately.
All cities have established collection points, where electric and electronic equipment can either be submitted free of charge at recycling stations and other collection sites, or be
collected from the households.
Additional information is available at the technical department of your city.


WEC-3001
denver-electronic.com
April 2021



















