STRÅLA
STRÅLA LED 5-Arm Candelabra

IMPORTANT SAFETY INSTRUCTIONS
When using electrical products, basic precautions should always be followed the following:
READ AND FOLLOW ALL SAFETY INSTRUCTIONS
Do not use seasonal products outdoors unless marked as suitable for indoor and outdoor use. When products are used in outdoor applications, connect the product to a Ground Fault Circuit Interrupting (GFCI) outlet. If one is not provided, contact a qualified electrician for proper installation.
This seasonal use product is not intended for permanent installation or use.
Do not mount or place near gas or electric heaters, fireplaces, candles, or other similar sources of heat. Do not secure the wiring of the product with staples or nails, or place it on sharp hooks or nails.
Do not let lamps rest on the supply cord or on any wire.
Unplug the product when leaving the house, when retiring for the night, or if left unattended.
This is an electric product – not a toy! To avoid the risk of fire, burns, personal injury, and electric shock it should not be played with or placed where small children can reach it. Do not use this product for other than its intended use.
Do not hang ornaments or other objects from the cord, wire, or light string.
Do not close doors or windows on the product or extension cords as this may damage the wire insulation.
Do not cover the product with cloth, paper, or any material not part of the product when in use. Read and follow all instructions that are on the product or provided with the product.
USE AND CARE INSTRUCTIONS
Before using or reusing, inspect the product carefully.
Discard any products that have cut, damaged, or frayed wire insulation or cords, cracks in the lamp holders or enclosures, loose connections, or exposed copper wire. When storing the product, carefully remove the product from wherever it is placed, including trees, branches, or bushes, to avoid any undue strain or stress on the product conductors, connections, and wires.
When not in use, store neatly in a cool, dry location protected from sunlight.
This device complies with part 15 of the FCC Rules.
Operation is subjected to the following two conditions:
- This device may not cause harmful interference, and
- this device must accept any interference received, including interference that may cause undesired operation.
WARNING
Changes or modifications not expressly approved by the party responsible for compliance could void the user’s authority to operate the equipment.
NOTE:
This equipment has been tested and found to comply with the limits for a Class B digital device, pursuant to part 15 of the FCC Rules. These limits are designed to provide reasonable protection against harmful interference in a residential installation. This equipment generates, uses, and can radiate radio frequency energy and, if not installed and used in accordance with the instructions, may cause harmful interference to radio communications. However, there is no guarantee that interference will not occur in a particular installation.
If this equipment does cause harmful interference to radio or television reception, which can be determined by turning the equipment off and on, the user is encouraged to try to correct the interference by one or more of the following measures:
- Reorient or relocate the receiving antenna.
- Increase the separation between the equipment and receiver.
- Connect the equipment into an outlet on a circuit different from that to which the receiver is connected.
- Consult the dealer or an experienced radio/TV technician for help.
CAUTION
Risk of fire.
How to replace the lamp:
Grasp plug and remove from the receptacle or other outlet device. Do not unplug by pulling on the cord.
Unscrew the lamp counterclockwise.
CAUTION
Risk of fire.
This product does not contain lamp shunts in order to allow the product to operate if one lamp burns out. Do not replace lamps other than the spare lamps provided with this product.
WARNING
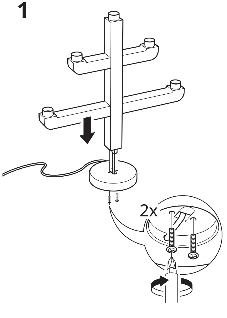
Deviation from the assembly instructions may result in a risk of fire or electric shock.
SAVE THESE INSTRUCTIONS



20 © Inter IKEA Systems B.V. 2021
2021-11-02
AA-2316399-1


















