User Manual

HD Voice Ready
Built-in Microphone

Tzumi Bluetooth Stereo Wireless Headphones
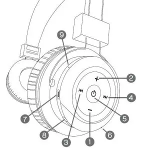
PRODUCT OVERVIEW

- Volume Down
Volume Up - Previous
- Next
- Power / Multi-functional
ON/OFF, Call Answer, Redial
Hang Up, Play/Pause - Built-in Microphone Charge
- Line-in
- Indicator Light
PACKAGE CONTENTS
- Bluetooth Headphones
- Micro USB cable
- AUX line-in cable
CHARGING THE HEADPHONES
These headphones have an internal rechargeable battery. The battery must be fully charged prior to use. Charging time is approximately 2 hrs. Your headphones cannot be used while charging.
Red light ON − Charging
Light OFF − Unit fully charged

Via AC Adapter Wall Charger
Using the provided Micro USB cable, connect the headphones (Micro USB port) to the AC Adapter (USB port).
Via Computer
Using the provided Micro USB cable, connect the headphones to the computer or laptop (USB port).
PAIRING THE HEADPHONES TO BLUETOOTH DEVICE
Make sure the Bluetooth function is available on your cell phone. Specific pairing procedures will be different depending on different cell phone. For detailed information, please refer to your cell phone’s User Guide.
- If no device connection is made within 10 minutes of the headphones being switched on, the headphones will automatically be switched off to save power.
- After a successful pairing devices will memorize each. Therefore, no pairing will be needed next time.
PAIRING TO BLUETOOTH DEVICE
- Keep the distance between the cell phone and the headphones within 3 feet (for pairing only).
- Turn on the Bluetooth headphones by pressing the multifunction button for 1 second, the announcement “Power ON” will sound and the blue light will begin to flash quickly.
- Activate the Bluetooth function of the cell phone, to search for the Bluetooth devices.
- Approximately after 2 seconds after “Power ON”, search for “Tzumi-Headphones”. The announcement “Pairing” will sound as blue and red lights will flash quickly. Next, select “Tzumi-Headphones” in the device list displayed.
- Only for some electronic devices: Press “yes” or “enter” key to confirm the successful pairing.
- After the successful connection, the blue light of the headphones will flash every 8 seconds.
CONNECTING TO OTHER BLUETOOTH DEVICES
Note: Your headphones can only be connected to one Bluetooth device at a time.
- In order to connect to the other Bluetooth device, you must first close the current Bluetooth connection.
- Follow the above steps (under PAIRING TO BLUETOOTH DEVICE) to pair your earbuds to another Bluetooth device.
FAQ’s
Q: Why can’t I turn the headset on?
A: Make sure your device is fully charged before using it for the first time. Your device can not be turned on if battery level is very low. Refer to Charging the headphones section of the manual.
Q: There is no sound during playback.
A: Check the connection between your device with phone or computer. If the connection is not established, please reconnect again. And adjust the volume level to a suitable level.
EARBUDS CONTROLS

LINE-IN USE
You have an option to use these headphones via line-in. Make sure your headphones are charged for line-in use.
- Turn ON the headphones by pressing the power/multifunction button
. - Use the standard 3.5mm auxiliary cord to connect the headphones to your device.
IMPORTANT SAFEGUARDS
- Do not use this unit for anything other than its intended use.
- Keep the unit away from heat source, direct sunlight, humidity, water or any other liquid.
- Do not expose the device to extremely high or low temperatures, as it may damage the battery.
- Do not operate the unit if it has been wet or moist to prevent against electric shock and/or injury to yourself and damage to the unit.
- Do not use the unit if it has been dropped or damaged in any way.
- Repairs to electrical equipment should only be performed by a qualified electrician. Improper repairs may place the user at serious risk.
- Keep the unit out of reach of children.
- This unit is not a toy.
BATTERY DISPOSAL:
This product contains a lithium polymer battery. Lithium Polymer batteries are environmentally safe when fully discharged. Please refer to your local and state laws for battery disposal procedures.
SPECIFICATIONS

tzumi® BT STEREO HEADPHONES Distributed by tzumi® INC. NY, NY 10016
©Copyright 2015 tzumi® All Rights Reserved. Made In China.
The Bluetooth trademarks are owned by Bluetooth SIG, Inc. Other trademarks and trade names
in this document are those of their respective owners. © 2015 Bluetooth SIG, Inc. Subject to
change without prior notice.
Read More About This Manual & Download PDF:
Tzumi Bluetooth Stereo Wireless Headphones User Manual – Download [optimized]
Tzumi Bluetooth Stereo Wireless Headphones User Manual – Download
Questions about your Manual? Post in the comments!


















