STORMRED Knight Treadmill User Manual
Dear Customer,
Congratulations on your purchase of this quality product, which has been developed according to the latest technical knowledge and manufactured using the latest technology.
In today’s lifestyle characterized by a lack of exercise, this machine is an essential accessory for maintaining physical fitness and health.
Before putting the product into operation, please take the time to read the following assembly and operating instructions carefully, even if you have purchased the machine assembled.
If you have purchased the product in its original carton packaging, i.e. in disassembled shipping condition, please pay particular attention to the assembly instructions. Before starting assembly, carefully remove the individual components from the box, check that they are complete and follow the instructions to think through the assembly procedure.
We believe that you will be satisfied with the purchased product and the machine will contribute to the consolidation of your health and well-being. We wish you much success, endurance and strength in achieving your sporting goals.
Safety instructions
- It is important to read these instructions carefully before assembling and using the machine. A safe and effective workout will be achieved by ensuring that all components are properly assembled and tightened. It is your responsibility to inform each user of the machine of how to properly secure and use the machine and of all potential hazards.
- If you have health problems, consult with your doctor about using of the machine. A doctor’s opinion is necessary if you are taking medication that affects your heart rhythm, blood pressure or cholesterol levels.
- Take note of your body’s reaction. Incorrect or excessive exercise can negatively affect your health! Stop exercising when you feel: pain, chest pressure, irregular heartbeat, breathing difficulties, dizziness, nausea. Inform your doctor if these problems occur.
- Keep the machine out of reach of children and animals (the machine is designed for adults only)!
- Protect the machine from the elements, especially water, dust, intense sunlight and low/high temperatures. Keep the machine dry and clean, clean it with a dry or slightly damp cloth.
- The maximum weight of the trainee is 150 kg!
- Always use the machine according to these instructions. If you find any defective parts while assembling or inspecting the machine, or if you hear an unusual sound during use, stop assembling or using the machine. Do not use the machine until the fault has been rectified or defective parts have been replaced! The warranty does not cover defects caused by unprofessional intervention (repair) of the user or third parties.
- Use the machine on a firm, level surface and on a mat that protects the floor or carpet. To ensure safety, it is necessary to have at least 0.5 m of clearance around the machine when exercising. When assembling the machine, a space of 1.5 m is required around the machine.
- A safe level of equipment can only be maintained by regular checks for damage and wear, for example connection points, etc. Before using the machine, check that all nuts and bolts are properly tightened!
- Wear appropriate clothing when exercising, avoid wearing clothing that may get caught in moving parts of the machine or restrict your movement.
- When moving the machine, watch out for back injury. Always use the lifting technique or move the machine with the assistance of another person.
- The machine has been tested and certified according to EN957 and corresponds to class H – (Home) for use in households. The machine is not intended for professionalor commercial use or for rehabilitation or therapeutic purposes!
- Electrical equipment (computers) must not be disposed of with mixed municipal waste but must be disposed of at designated or take-back sites, as must batteries used in computers.
- Keep this instruction manual with safety instructions, the warranty card and the proof of purchase on a safe place!
Assembly drawing

Parts list
| Number | Name | Specifications | Quantity |
| 1 | Main frame | 1SET | |
| 2 | Front stabiliser | 1PC | |
| 3 | Rear stabiliser | 1PC | |
| 4 | Handlebar tube | 1PC | |
| 5 | Handle (R+L) left + right | 1SET | |
| 6 | Connecting arm (R+L) | 1SET | |
| 7 | Handlebars | 1PC | |
| 8 | Pedal arm (R+L) | 1SET | |
| 9 | Handlebar holder | 1PC | |
| 10 | Shaft | 1PC | |
| 11 | Rear clutch | ½’ | 2PCS |
| 12 | Matrix | ½’ | 2PCS |
| 13 | Handle (R+L) – left + right | 1SET | |
| 14 | Computer | 1PC | |
| 15 | Pulse cable | 1SET | |
| 16 | – Sensor cable 1 | 1PC | |
| 17 | + Sensor cable 2 | 1PC | |
| 18 | Load control cable upper | 1PC | |
| 19 | Lower load control cable | 1PC | |
| 20 | Cover for pedal arm | 2SETS | |
| 21 | Pedal (R+L) | 1SET | |
| 22 | Plastic handlebar cover | 1PC | |
| 23 | Allen screw M8*30 mm | M8*30L | 2PCS |
| 24 | Allen screw M8*35 | M8*35L | 4PCS |
| 25 | Screw M8*70 mm | M8*70L | 4PCS |
| 26 | Front Clutch | 68L | 2PCS |
| 27 | Allen screw M10*25 mm | M10*25L | 2PCS |
| 28 | Large head bolt M6*15 | M6*15 | 8PCS |
| 29 | Self-tapping screw M4*20 mm | M4*20L | 4PCS |
| 30 | D-pad | φ28*φ16*4.5T | 2PCS |
| 31 | Bent pad | φ20*φ8*1.2T | 8PCS |
| 32 | Corrugated pad | φ16 | 4PCS |
| 33 | Flexible pad | φ8 | 8PCS |
| 34 | Pad | φ18*φ6*1.0T | 6PCS |
| 35 | Pad | 6PCS | |
| 36 | Flexible pad | 8PCS | |
| 37 | Arched nut M8 | M8 | 4PCS |
| 38 | Allen screw M8*25 mm | M8*25L | 2PCS |
| 39 | Pad | φ20*φ8*1.2T | 5PCS |
| 40 | M6 nuts | 6PCS |
Step 1:
Attach the rear stabiliser (3) to the main frame (1) using M8 bolts (25), bent pad (31) and M8 arch nuts (37).
Attach the front stabiliser (2) to the main frame (1) using M8 bolts (25), bent pads (31) and M8 arch nuts (37).
Step 2:
Hold the handlebar frame (4) preferably with the help of another person!
Connect sensor cable 1 (16) to sensor cable 2 (17). Connect load cable 1 (18) to load cable 2 (19). Attach the handlebar frame (4) to the main frame (1). Fasten the handlebar frame (4) using M8 Allen screws (23) and curved pads (31), flexible pads (36). Tighten the screws securely using a hexagon wrench.
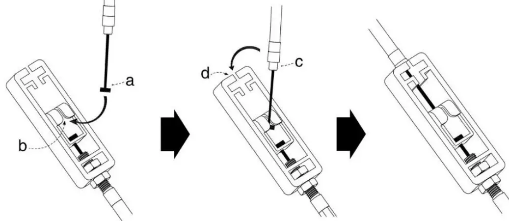
Connection of the two parts of the cable
Prepare both ends – the rope and the frame with the hook to connect them.
Thread the cable end with the roller (a) and insert it into the inner hook (b). Thread the end of the Bowden cable (c) into part (d) of the outer hook – in the frame.
Make sure that the parts (a) are well fixed in the inner hook (b) that the end of the Bowden cable (c) holds well in the outer frame (d) after connecting.
Step 3:
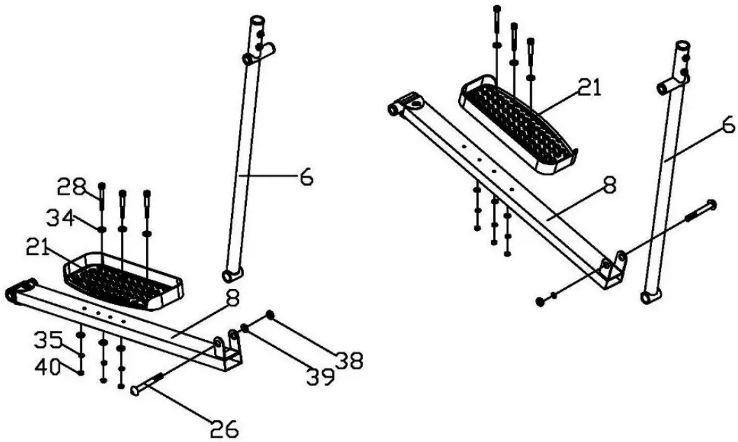
Attach the connecting arms (6L&R) – left, right to the pedal arms (8L&R) using pads (39), M10 Allen screws (38), and front couplers (26).
Attach the pedals (21L&R) – left, right to the pedal arms (8L&R) using the large head screw M6(28), pads (34)(35), nut M6(40).
Step 4:
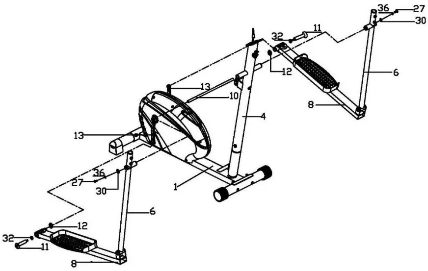
Attach the right pedal arm (8R) to the right crank (13R) using the rear coupling (11), corrugated pad (32) and nut (12). Attach the left pedal arm (8L) in the same way.
Attach the connecting arm (6R) with the upper end to the shaft (10), which you insert into the hole of the handlebar frame (4). Attach the connecting arm (6R) using the D pad (30), the flexible pad (36) and the M10 Allen screw (27).
Also attach the left connecting arm (6L).
Step 5:
Attach the two pedal arm cover parts (20L&R) to the pedal arms (8L&R) using selftapping screws M4 (29) – left, right.
Step 6:
Insert the handles (5L& R) into the holes in the connecting arms (6L& R). Fasten with M8 Allen screws (24).
Step 7:
Remove the 2 M5 screws from the back of the computer (14). Connect the + sensor cable 1 to the plug in the back of the computer, and then slide the computer (14) onto the computer base which is on top of the handlebar frame (4). Then attach the computer (14) to the base using the 2 M5 screws on the back of the computer (14).
Attach the handlebars with pulse sensors (7) to the back of the handlebar frame (4) to the pre-mounted bracket (9) using the flexible pads (33) and M8 Allen screws (23). Then fit the plastic handlebar cover (22).
Connect the pulse cable (15) to the plug on the back of the computer (14).
Instructions for using the computer

| Time (TMR) | 00:00-99:59 min |
| Speed (SPD) | 0.0-99.9 km/h |
| Distance (DST) | 0.00-999.9 km |
| Calories (CAL) | 0-9999 kcal |
| PULSE | 40-240 BPM |
Button functions
| MODE | Press to select the desired function. |
| PAUSE | Press to stop or start functions. |
| SET | Allows you to select a final value for time, distance, calories and heartrate. |
| RESET | Press the button to restore the functions. |
AUTO ON/OFF
The display will automatically switch off if no signal is received or no button is pressed for four minutes.
RESET
If the display shows incorrect readings, replace the batteries or press the reset button for three seconds.
How to set time, distance, heart rate and calories
Press the MODE button, the desired function flashes. Press MODE again to select the desired function. The selected function stops flashing.
Next, select the values you want to set using the SET button. If the speed sensor receives a signal, the function will start counting down. Press any button to interrupt the beeping.
| TIME | the exercise time is displayed by pressing the MODE button, the TMR mark will appear. |
| SPEED | is displayed by pressing the MODE button, the SPD mark willappear. |
| DISTANCE | is displayed by pressing the MODE button, the DST mark will appear. |
| PULSE | the current heart rate is displayed in beats per minute (BPM). Press the MODE button until the “PULSE” mark appears, place both palms on the heart rate sensors and wait 30 seconds for the most accurate reading. |
| CALORIES | Calories burned will be displayed by pressing the MODE button, the CAL mark will appear. |
| SCAN | automatic display – it will be shown in the order: TIME – SPEED – DISTANCE – PULSE – CALORIES |
Batteries
Batteries can be replaced on the back of the computer. Use two 1.5 V AA or AG13 batteries.
Exercise Instructions
Use of Alza, a.s. fitness machine Prague, will bring you several benefits: it will improve your physical condition, strengthen your muscles and help you lose weight while controlling your calorie intake. If you have health problems, consult your doctor about using the machine.
Warm-up phase
The warm-up phase gets your blood circulating, warms up and prepares your muscles to function properly. At the same time, it will also reduce the risk of cramps and muscle injuries. Do not skip this phase!
We recommend performing a few stretching exercises as shown below. In each stretch you should hold for about 30 seconds, do not stretch the muscles in a violent movement and do not overstretch them – if you feel pain, stop!
Stages of exercise
This is the stage where you put the most effort. With regular exercise, your leg muscles will become more flexible. Exercise at your own pace, which you maintain throughout the exercise. It is optimal to exercise for 15-20 minutes at the beginning, longer after a few sessions. We recommend training at least three times a week, preferably with an even time distribution. Exercise should be sufficient so that your heart rate reaches the “optimal heart rate” as shown in the chart.
Soothing phase
This phase is necessary for your cardiovascular system and your muscles to gradually relax. Repeat the stretching exercises, again remembering not to overstretch or abruptly tense your muscles.
Muscle shaping
At the same time, if you are trying to improve your physical condition, it is necessary to change your training program. Exercise as usual during the warm-up and calming phase but increase the resistance towards the end of the exercise phase.
Weight reduction
An important factor in weight loss is the number of calories you take in and put out. The longer and harder you exercise, the more you burn. However, you also need to monitor your intake, especially watch out for fatty, sugary foods and portion sizes.
Check your heart rate
To be able to check your heart rate, you first need to know how to measure it. The easiest way is to press your fingertips against the artery in your neck, between your muscles and your airway. Count the number of pulses per 10 seconds and multiply it by 6. This will give you your heart rate per minute.
Exercise within your limits
What level of heart rate do you need to maintain during your exercise? Ask your doctorto give you proper instructions appropriate to your medical condition.
Warranty conditions
A new product purchased from Alza.cz is covered by a 2-year warranty. In case of need for repair or other service within the warranty period, please contact the seller of the product directly, it is necessary to present the original proof of purchase with the date of purchase.
The following shall be deemed to be a breach of warranty for which the claim cannot be accepted:
- Using the product for a purpose other than that for which the product is intended or failing to follow the instructions for maintenance, operation and servicing of the product.
- Damage to the product due to natural disaster, unauthorized person or mechanical fault of the buyer (e.g. during transportation, cleaning by improper means, etc.).
- Natural wear and aging of consumables or components during use (e.g. batteries, etc.).
- The action of adverse external influences such as solar and other radiation or electromagnetic fields, liquid ingress, object ingress, mains surges, electrostatic discharge (including lightning), faulty supply or input voltage and the improper polarity of this voltage, chemical processes, e.g. used power supplies, etc.
- If anyone has made alterations, modifications, design changes or adaptations to change or extend the product’s functions from the design purchased or use nonoriginal parts.
Support
✉ www.alza.co.uk/kontakt
✆ +44 (0)203 514 4411
Importer Alza.cz a.s., Jankovcova 1522/53, Holešovice, 170 00 Prague 7,
www.alza.cz


















