MOEN ET900 2-Series eToilet with Built-In Bidet Seat
Thank you for purchasing our product. Please read this installation guide before installation and use to ensure that your product will function at peak performance.
PLEASE CONTACT MOEN FIRST
For Installation Help, Missing or Replacement Parts
(USA)
1-800-BUY-MOEN (1-800-289-6636)
WWW.MOEN.COM
(Canada)
1-800-465-6130
www.moen.ca
HELPFUL TOOLS
For safety and ease of unit replacement, Moen recommends the use of these helpful tools.
Item List (Confirm that all below items are inside the box)
Intelligent Toilet (1 set)
Two AAA Batteries
Two Nozzle Covers
Installation Guide
T-Valve (1 piece) includes reducing adapter
Toilet Flange & Fasteners with 1 wax ring and additional cleaner (wand) nozzle tops.
- Please confirm all the aforementioned items are inside the package. If there are any omissions, please contact customer service. T-valve has supply interface of 1/2″ compression or 3/8″ compression (if using supplied adapter). Select according to your plumbing requirements.
BEFORE YOU BEGIN
Water Pressure:
Lowest working water pressure : 0.08MPa (11psi) Highest working water pressure : 0.75MPa (109psi)
Dimensions 
Important Safeguards
- When using electrical products, especially when children are present, basic safety precautions should always be followed,including the following: READ ALL
INSTRUCTIONS BEFORE USING
WARNING : To reduce the risk of burns, electrocution, fire, or injur to persons follow the below recommendations.
- Close supervision is necessary when this product is used by, on, or near children or invalids.
- Use this product only for its intended use as described in this instruction guide. Do not use attachments not recommended by the manufacturer.
- Never operate this product if it has a damaged cord or plug, if it is not working properly, if it has been dropped or damaged, or dropped into water. Return the product to a service center for examination and repair.
- Keep the cord away from heated surfaces.
- Never block the air openings of the product. Keep the air openings free of lint, hair, and the like.
- Never use while sleeping or drowsy.
- Never drop or insert any object into any opening or hose.
- Do not use outdoors or operate when aerosol (spray) products are being used or where oxygen is being administered.
- For household use only, connect this product to a properly grounded outlet only. See Grounding Instructions on page 4.
SAVE THESE INSTRUCTIONS.
Grounding Instructions
This product should be grounded. In the event of an electrical short circuit, grounding reduces the risk of electric shock by providing an escape wire for the electric current. This product is equipped with a cord having a grounding wire with a grounding plug. The plug MUST BE plugged into an outlet that is properly installed and grounded.
NOTE: If you are not familiar with electrical power and procedures, call a qualified electrician.
WARNING: Improper connection of the equipment-grounding conductor can result in a risk of electric shock. Check with a qualified electrician or serviceman if you are in doubt as to whether the appliance is properly grounded. If it will not fit the outlet, have a proper outlet installed by a qualified electrician.
DANGER: Improper use of the grounding plug can result in a risk of electric shock. If repairing or replacing the cord or plug is necessary, DO NOT connect the grounding wire to either flat blade terminal. The wire with insulation having an outer surface that is green with or without yellow stripes is the grounding wire.
Check with a qualified electrician or serviceman if the grounding instructions are not completely understood, or if in doubt as to whether the product is properly grounded. This product is factory equipped with a specific electric cord and plug to permit connection to a proper electric circuit. Make sure that the product is connected to an outlet having the same configuration as the plug. No adapter should be used with this product. DO NOT modify the plug provided – if it will not fit the outlet, have the proper outlet installed by a qualified electrician. If the product must be reconnected for use on a different type of electric circuit, the reconnection should be made by a qualified service personnel. This product is for use on a normal 120V circuit, and has a grounding plug that looks like the plug as shown. If it is necessary to use an extension cord, use only a three wire extension cord that has a three-blade grounding plug, and a three-slot receptacle that will accept the plug on the product. Replace or repair a damaged cord.
Warnings and Safety
- PLEASE READ THOROUGHLY.
Thank you for your purchase. To ensure proper and safe use of this product, carefully read this section prior to any usage. Afterwards, store this manual for future reference.
The hazards and warnings listed herein are important to our user’s safety. Significant consequences may result from failure to heed warnings. The company will not be held liable for any injuries to the user and damages to the product due to improper usage and/or failure to heed safety warnings.
Explanation of Terms and Symbols
Warning
Indicates possible injury resulting from improper usage due to disregarding this message.
Attention
Indicates human injury or property loss that may result from improper usage due to disregarding this message.
When used with the above “Warning” and “Attention” signs, indicates a strict request to follow noted precautions.
Prohibits any individual from performing any action with this symbol.
Prohibits any individual from dismantling product.
Keep product away from any wet environments, including, but is not limited to, humid environments, close proximities to baths, showers or sinks.
Do not touch.
Do not touch with a wet hand.
Keep away from any extreme heat or fire.
Operate only as instructed.
Unplug the unit from power.
Protective grounding.
Warning
This product needs to be properly grounded.
- Risk of electric shock. If unsure, contact an electrician.
Do not touch, insert or pull out the power plug with a wet hand. - Risk of electric shock.

Do not use a power socket in poor condition or a damaged power plug. *Risk of fire and/or electric shock.
The power socket in use should be within the specified range (120 V~). *Risk of fire and/or electric shock.
Do not pull, damage, bend, twist, stretch, roll, bundle, clamp or squeeze the power cable. Do not place anything on power cable.
- Risk of fire and/or electric shock.
- This product is not a toy. Advise children not to play with product.
*Risk of injury. - If the power cord is damaged, to prevent any injuries or accidents, it should be replaced by a professional.
*Risk of fire and/or electric shock. - Do not place a lit cigarette along with other burning objects into the unit. *Risk of fire.

- Do not use during thunderstorms (pull out the power plug during storms). *Failure in doing so may lead to injury or fault in the product.
- When the seat or lid is damaged, to avoid any harm, be sure to unplug the unit from power, close the water source and contact your local distributor for replacement.
*Risk of fire or electric shock. - Regularly unplug the unit from power and wipe off any dust on the plug using a dry cloth.
*Risk of fire. - Any person with a disability, the elderly, and children, should be using this product with the supervision of another individual.
*Be advised that sitting on the heated seat for an extended amount of time may result in burns. - Do not dismantle, repair or alter this product on your own. Call in a professional or contact Moen for future advise.
*Risk of fire, electric shock, and/or other accident that may lead to injury. - For cleaning or maintenance of plastic parts, do not use any harsh cleaning agents. (These include, but are not limited to products such as: concentrated sulfuric acid, concentrated nitric acid, glacial acetic acid, carbon tetrachloride, chloroform, acetone, butanone, benzene, methylbenzene, phenol, methyl phenol, dimethylformamide, methyl ether, soybean oil, acetate, 40% nitric acid, thick salt acid, 95% alcohol, kerosene, gasoline, or brake oil, etc.)
*Risk of damage parts that can lead to accidents and injuries.
- Do not add water or detergent into the unit or onto the wireless remote. Do not soak the product with water or cleaner.
*Risk of fire and/or electric shock. - Do not install product in a humid environment or a soak room. Do not spray or soak this product with any form of liquid to prevent any damage to the product.
*Risk of fire and/or electric shock.
- Do not use with water that is microbiologically unsafe or of unknown quality without adequate disinfection.
*Risk of urocystitis or dermatitis. Untreated water may also cause corrode inner workings of unit and may cause electrical shock or a fire. - Do not place your hand or any other object into the dryer trap, and do not cover the dryer and dryer trap during product use.
*Risk of fire, electric shock, and/or other accident that may lead to injury.
- Do not spray urine at the dryer trap.
*Risk of electric shock. - Do not apply any force to the unit’s seat and lid. Do not stand on the lid or open or close the lid and the seat forcefully.
*This may result in product damage and/or user injury.
Read the following for proper battery usage:
- Properly install the battery according to its correct polarity.
- Remove the battery during long periods without use.
- Replace the battery before it reaches the end of its usage.
- Failure to do so may result in interrupted control signals.
- Cover the battery with tape before disposal.
Place the battery out of children and infant reach. - If battery is swallowed, contact a doctor immediately.
If battery fluid leaks onto user, quickly rinse off area using water OR if battery fluid gets into eyes, do not rub your eyes. Quickly rinse it with water and consult a doctor immediately. - May result in vision impairment or blindness
- Do not do the following with the batteries:
- Do not hold or store with metal objects (such as a necklace or a watch).
- Do not mix new and old batteries.
- Do not pull apart battery or throw it into water and/or fire. Battery fluids may cause a fire.
ATTENTION
- Do not use the heated seat or warm air dryer for an extended amount of time.
*Extended use may result in burns. - While using this product, make sure that the skin is in contact with the seat sensor area. Otherwise, product may not operate correctly.
*Children and smaller individuals may have trouble staying in contact with sensor area.
- Do not spray urine in the direction of the washing nozzle.
*Doing so may result in blockage to the washing nozzles and cleaning area. - Do not use old supply hose to connect to seat elbow. Use the one provided with your product. Anything else connected to the older hose may need replaced.
*Risk of water leakage and/or property loss/damage. - In case of sudden power failure, remove the power plug and close the angle valve to prevent water leakage.
*Risk of water leakage and/or property loss/damage. - Avoid direct sunlight or heat. *Risk of product discoloration.
- Do not supply electricity with an outlet on a switch. *Run the risk of issues caused by improperly resetting the thermal breaker.
- When the filter is being replaced, be sure to close the water supply angle valve. When the filter is being installed, be sure to fasten it with force.
*Risk of water leak. - Unplug the unit from power when the product is in disuse for an extended amount of time. Make sure to shut off the water and remove the water inside the product.
*Risk of fire, leaks, and product damage. - When storing or transporting in cold climate, make sure to remove all water from the unit. Product may crack and other damages may occur due to freezing water.
*Risk of fire, leaks, and product damage.
Parts List
- A. Caution Label
- B. Adjustable Dial
- C. Power Cord
- D. T-Valve
- E. Water Valve
- F. Flush Water Hose
- G. Clean Water Hose
- H. Toilet
- I. Nozzle (Front and Rear Wash)
- J. Dryer
- K. Heated Seat
- L. Seat Sensor
- M. Lid

Remote Control Functions
NOTE: Wash and dry functions will only work when user is seated on the e-toilet seat. When user sits on seat the unit will emit a two-tone beep to indicate the seat sensor has been activated and wash functions are available.
To turn seat sound off: Press the button on the remote for 3 seconds. A double beep will sound to confirm function has been turned off. Repeat steps to turn function back on. A single beep will confirm the function is back on.

| Light Temp Indicators | |||
| Color | Red | Hot | |
| Pink | Warm | ||
| Blue | Cold F | ||
| No Light | None | ||
Product Functions (Varies by Model)
| Function | Model: | |
| Cleanse | FRONT WASH REAR WASH OSCILLATING POSITION OSCILLATING TEMPERATURE CLEANSE, TEMPÉRATURES ALTERNATIVES WATER PRESSURE CONTROL WATER TEMP CONTROL NOZZLE POSITION ADJUSTMENT INSTANTANEOUS WATER HEATING, | ET1300 ET900 |
| Air | AIR DRYER, AIR TURBO DRYER, AIR TEMPERATURE CONTROL, | ET1300 ET900 |
| AIR PURIFIER (DEODORIZER), FLASH DRYING, WIND SPEED ADJUSTMENT, | ET1300 | |
| Seat | ANTIMICROBIAL SEAT, HEATED SEAT TEMP CONTROL, SOFT CLOSE SEAT AND LID, | ET1300 ET900 |
| Hygiene | ANTIBACTERIAL NOZZLE, REPLACEABLE NOZZLE, | ET1300 ET900 |
| NOZZLE UV STERILIZATION, | ET1300 | |
| Energy Saving | AUTO ENERGY SAVER, AUTOMATIQUE ON/OFF BUTTON, | ET1300 ET900 |
| Sensor | SEAT SENSOR,NIGHT LIGHT, SENSING NIGHT LIGHT, AUTOMATIC FLUSH, DESCARGA | ET1300 ET900 |
| Remote Control | REMOTE FLUSH, DISTANCE KNOB CONTROL, | ET1300 ET900 |
| REMOTE OPEN SEAT AND LID, | ET1300 | |
| Flush | MINIMUM WATER PRESSURE: 0.08MPA (11PSI); MAXIMUM WATER PRESSURE: 0.75MPA (109PSI) | ET1300 ET900 |
Function Explanations
POWER/STOP
Function: Turn product on/off or stop an operating function.
Activation: Press once to turn power on if power is off, or to stop an operating function. Press and hold for 3 seconds to turn off.
FRONT WASH
Must be seated on toilet for operation.
Rotate the adjustable dial counterclockwise or backward 45 degrees to commence the front wash mode, which actuates the cleaning mechanism. The front wash operation cycle begins for 1.5 minutes, followed by 4 minutes for drying, and flush. As front wash is activated, rotate the adjustable dial forward or backward to adjust the desired cleaning strength. During the drying time, continue to rotate the dial forward or backward to adjust the desired warm airflow speed.
Knob light color : pink
Briefly press the adjustable dial once to execute a flushing command.
REAR WASH
Must be seated on toilet for operation.
Rotate the adjustable dial clockwise or forward 45 degrees to commence the rear wash mode, which actuates the cleaning mechanism. The rear wash operation cycle begins for 1.5 minutes, followed by 4 minutes for drying, and flush. As rear wash is activated, rotate the adjustable dial forward or backward to adjust the desired cleaning strength. During the drying time, continue to rotate the dial forward or backward to adjust the desired warm airflow speed.
AUTO FLUSH
- Human body leaves the seat sensor area after seating. When the human body leaves the seat after seating, it will automatically flush once.
- If the seat time is longer than 5 seconds and there is no flushing after wash during seat, it will be judged to be flushed 6 seconds after leaving the seat.

UV STERILIZATION
- After leaving the seat, it will run automatically.
Operates automatically when leaving the seat. The cleaning nozzle will move back to home position, and the UV function will be activated after 10 seconds and remain working for 3 minutes. The light of the adjustable dial becomes purple. After seating, the UV function will stop and the indicator will go out. - When the nozzle UV sterilization function is running, press the “Stop” button on the remote controller or short press the knob of the product to immediately stop the function.
- Ultraviolet lamp device is installed on smart toilet.

DRYER
- Press the button to dry the cleaned area. Press the button again to adjust the speed of air.
- Press the button to start dryer.
- There are 3 settings: low, medium and high.
- Press stop button to stop drying function.
- The function of warm wind dryer automatically stops in 4 minutes.
- After cleaning, please use toilet paper to gently wipe off water droplets. Press the button of warm air dryer so the surface can quickly dry.

USER-FRIENDLY DESIGN
- Soft-Closing Seat/Cover
The product has a damping function to make the seat/cover rise and fall smoothly, thus playing a good silent effect. - Pre-filter
Equipped with dedicated PP cotton pre-filter and steel mesh filter to purify the water supply to ensure a hygienic cleaning for users. - safety Protection
This product has eight protection measures, such as leakage protection, to ensure the safety of users. - Memory Function
After power failure, water temperature, water pressure, seat temperature, and wand position are all restored to mid-point setting. Night light is turned on by default after power failure. On/Off, keeps the last memorized setting state.
RESTORE FACTORY SETTINGS
To restore the product to the original factory settings, pull the plug from the wall, wait 1 minute and then reconnect the plug. The Water Temp, Seat Temp, Dryer Temp, Spray Strength, and Nozzle Position will restore to the original Middle level settings.
LIGHT SENSOR
Operating based on the brightness of the environment.
The light will be activated based on the brightness of the environment to turn on and off. The light will be switched off automatically once the environment becomes bright. The light will be switched on automatically once the environment becomes dark.

Light of Adjustable Dial
| State | Color | |
| Adjustable Dial
| No functions operating, not seated. | White. |
| No functions operating, seated. | Green. | |
| Rear washing activates. | Blue. | |
| Front washing activates. | Pink. | |
| Flushing mode. | Aqua Blue. | |
| Dry mode. | Yellow. | |
| UV Sterilization. | Purple. |
Specifications
| Power Rating | 120V~ | |
| Frequency | 60Hz | |
| Rated Power Input | 1050W (When inlet water temperature is 15°C (59°F)) | |
| Seat and Dryer Temperature Range | Ambient to 104°F Ambient to 40°C | |
| Source Water Temperature Range | Ambient to 95°F Ambient to 35°C | |
| Water Supply Type | (T-valve) 1/2″ Compression / 3/8″ Compression with supplied adapter. | |
| Water Inlet | Minimum Water Pressure | 11PSI, and also make sure the water flow is above 0.6gal/10s |
| Maximum Water Pressure | 109PSI, in a static condition | |
| Toilet | Flush Type | Tornado Flush |
| Rough-In | Rough-In 12 in. | |
| Washing | Water Heating Method | Transient Heating |
| Temperature of warm water | Between 93.2°F – 102.2°F (4 levels) | |
| Safety Devices | Thermostat series, thermal fuse, flow detection device | |
| Power Cable Length | Approximately 47.2 inches | |
| Product Dimension | 27in (L) x 15.62in (W) x 18.42in (H) 68.6cm (L) x 39.7cm (W) x 46.8cm (W) | |
| Warm Air | Warm Air Temperature | Between 95°F – 131°F (4 levels) |
| Air Speed | About 13ft/s (3 levels regulations) | |
| Safety Devices | Bimetal thermostat series | |
| Toilet Seat | Toilet Seat Temperature | Between 93.2°F – 104°F (4 levels) |
| Safety Devices | Thermal Fuse Fusible | |
| Remote Control | Dimensions | 7.48in (L) x 2.01in (W) x 0.87in (H) |
| Battery Batería Pile | Two AAA Batteries | |
Installing Your Product
- Open the box right side up.
Remove the accessories first, then remove the unit from the top, as shown in the diagram above.
- Mark your drainage hole with a cross.
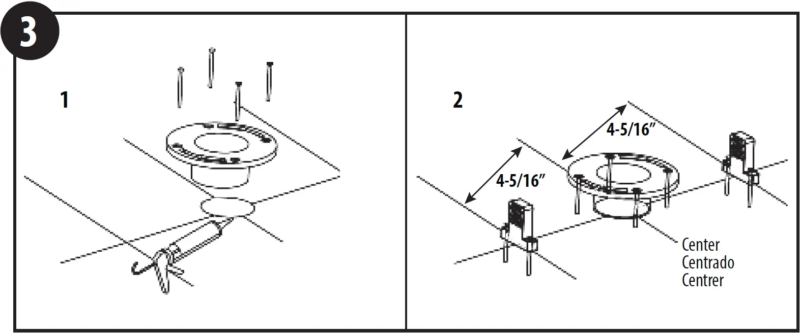
Align the flange with the drain hole and mark the positions of the four mounting holes of the flange on the ground with a marking pen.
- Put the flange on the drain hole and attach to the ground with four bolts. Then seal the flange with caulk. Connect the flange to the waste line.
- Place the mounting blocks in location as shown and fasten it with two bolts.

Install the ceramic body, water supply hose and water filter
- Place the wax ring on the drain hole at the bottom of the ceramic. Ensure your wax ring is centered over the hole.

- Align the ceramic drain with the drain hole on the flange and press down to make sure the wax ring is fully in contact with the ground.

- Attach both sides of the ceramic toilet with two supplied bolts.
- Cover bolts with caps.
*To prevent cracking the ceramic, do not over tighten.
- Attach the flush water hose to the T-valve and tighten.
T-valve has supply interface of 1/2″ compression or 3/8″ Compression (if using supplied adapter)
- Attach the clean water hose to the T-valve and tighten.

- Connect the T-valve to the water supply and tighten.

- Installation complete.

Installing the Remote
- Drill two 6mm (1/4in.) diameter holes on the wall (about 1-3/4in. deep).
- Knock the anchors into the hole with a hammer.
- Use the screws to secure the holder to the wall.
- Remove the battery cover from the backside of the remote to install batteries.
- Once finished, remote is ready to be placed in its holder.
- Please use proper mounting tools for special wall surfaces (such as wood, HDF, etc.)
- The remote control holder should be installed away from the bidet’s spray trajectory.
- The remote control holder should be installed within reach when seated on unit.
- Make sure there is nothing to block the transmission between the toilet and its remote.

- Open the water supply angle valve to maximum as shown in the figure.
- Ensure no leaks are present.
In case of leaking, unfasten the water connections and install them again.
- Plug in AC 120V power plug.
- Check to see if the power is on.

- Once the power light is on, the toilet will run its initial diagnostics: light will turn on, cleaning nozzle will extend, the motor will begin to run and water will run through the system. Once the light is off, the self-diagnostic is complete.
Testing the Product
(Checking the Side Panel Buttons and Remote Control)
Are all the functions working properly?
Rear wash, front wash (including water pressure and nozzle position adjustment), heated dryer, water and set temperature adjustment, nozzle cleaning, remote control. *All functions should be tested*
Checking Rear Wash
Place hand on sensor point (shown in illustration on right), rotate the adjustable dial clockwise or press the “Rear” button on the wireless remote. Use hand to block nozzle spray. 
Matching Your Remote Control Code
When the product leaves the factory, the remote control and the product are connected. If the remote control and product are not connected, please reconnect the code in the following method:
- Unplug the product’s plug.
- Press the “stop” key for a few seconds until the dryer temp / water temp / seat temp lights start to blink.

- Place the remote control near the toilet and plug the product back in.

- The lights of dryer temp / water temp / seat temp will stop blinking and stay solid to indicate successful pairing.

Note: This equipment has been tested and found to comply with the limits for a Class B digital device, pursuant to part 15 of the FCC Rules. These limits are designed to provide reasonable protection against harmful interference in a residential installation. This equipment generates, uses and can radiate radio frequency energy and, if not installed and used in accordance with the instructions, may cause harmful interference to radio communications. However, there is no guarantee that interference will not occur in a particular installation. If this equipment does cause harmful interference to radio or television reception, which can be determined by turning the equipment off and on, the user is encouraged to try to correct the interference by one or more of the following measures:
- Reorient or relocate the receiving antenna.
- Increase the separation between the equipment and receiver.
- Connect the equipment into an outlet on a circuit different from that to which the receiver is connected.
- Consult the dealer or an experienced radio/TV technician for help.
Changes or modifications not expressly approved by Moen Incorporated could void the user’s authority to operate the equipment.
Maintenance
* Regular maintenance is required to ensure proper performance.
NOTE:
- Turn off power and water before maintenance.
- Do not spray control panel on the toilet.
Warning
Do not spray water or detergents on the toilet, remote control, or on the power cord. Doing so may cause electric shock or fire.
MAINTENANCE DURING WINTER SEASON
During winter season, the water inside may freeze after long periods of storage and non-usage. Please take measures to prevent.
NOTE:
- Before connecting the product to the water supply and electrical outlet, allow it to defrost for 30 minutes in a warm indoor environment.
- In cases of extreme cold/freezing/nozzle stuck in place, wrap the water input line with a warm towel. Never pour hot water or use a hot dryer directly on the toilet.

Troubleshooting
Experiencing issues with your product?
If the user should run into any issues, please consult the troubleshooting guide below. If problem persists, please contact a professional.
| POWER BUTTON | ||
| Circumstance | Fault Diagnoses | Solutions |
| Toilet does not turn on. | Check whether the power cord is loose or not. | Please check the circuit. |
| Check whether the power is switched off (power light off). | Press rotated switch for 3 seconds, the power light is on. | |
| Check if Ground Fault Circuit Interrupter (GFCI) is tripped. | Unplug power cord from electric outlet. Press the reset button on the GFCI until click is heard. Plug power cord into electric outlet and verify operation. | |
| DRYER | ||
| Circumstance | Fault Diagnoses | Solutions |
| The dryer blows cold air. | Check whether or not the dryer is switched off | Adjust the temperature of dryer according to the instruction guide. |
| Check whether or not the heating element of dryer is damaged. | Please contact Moen for assistance. | |
| REMOTE CONTROL | ||
| Circumstance | Fault Diagnoses | Solutions |
| The blue light of water temperature is flickered. | Low battery. | Please replace with new batteries. |
| Remote control is not working. | Check whether or not there is water on the remote control. | Wipe off water with a dry towel. |
| WASH FUNCTIONS | ||
| Circumstance | Fault Diagnoses | Solutions |
| No water from the nozzle. | Check water supply to see if it’s off. | Turn water supply on. |
| Angle valve switch is on the “off” position. | Open the angle valve. | |
| Check whether or not the water filter is blocked. | Clean the filter mesh or change the water filter. | |
| Check whether or not the inlet pipe is kinked. | The inlet pipe must be straight. | |
| The intensity of cleaning is not strong.
| Check whether or not the water pressure of cleaning switch to low level or not. | Regulate the water pressure according to the instruction guide. |
| Check whether or not the inlet filter is blocked. | Clean the filter mesh or change the water filter. | |
| Unusual water flow from the nozzle. | Abnormal operation. | Unplug the attaching plug for 1 minute and then plug it in again. |
| The water temperature is not warm enough. | Check the temperature setting. | Regulate the water temperature according to the instruction guide. |
| The cleanser is always leaking. | Solenoid valve no longer has any effect. | Please contact Moen for assistance. |
| The cleaning function is not working normally. | Seat sensor does not work. | Please contact Moen for assistance. |
| HEATED SEAT | ||
| Circumstance | Fault Diagnoses | Solutions |
| The seat temperature is too low or is not hot. | Check whether or not the temperature of seat is on the “off” position. | Regulate the temperature of seat according to the instruction guide. |
| TOILET UNIT | ||
| Circumstance | Fault Diagnoses | Solutions |
| The product does not flush clean. | No power supply. | Power restoration. |
| No water fills the bowl and there is no sound of flushing. | Please contact Moen for assistance. | |
| No water flowing but have the sound of flushing. |
| |
| Continuous flow of water supply. | Please contact Moen for assistance. | |
| SOFT-CLOSING FEATURE | ||
| Circumstance | Fault Diagnoses | Solutions |
| Foot touch sensor does not work. | Slow-closed feature damaged. |
|
| TROUBLESHOOTING TIPS | |
| Circumstance | Status Indicator |
| Water Temperature Alarm | White light blinks twice. |
| Seat Temperature Alarm | White light blinks three times. |
| Wind Temperature Alarm | White light blinks four times. |
3 Year Limited Warranty
Moen® products have been manufactured under the highest standards of quality and workmanship. Moen warrants to the original consumer purchaser, for residential use, that these products (abide or eToilet) will be leak-free and drip-free during normal use and all parts and finishes of these products will be free from defects in material and manufacturing workmanship during normal use, for three (3) years from the date of original consumer purchase for residential use (the “Warranty Period” for homeowners). All other purchasers (including purchasers for industrial, commercial and business use) are warranted for a period of one (1) year from the original date of purchase (the “Warranty Period” for non-homeowners).
If this abide or eToilet should ever develop a leak or drip during the Warranty Period, Moen will FREE OF CHARGE provide the parts necessary to put the product back in good working condition and will replace FREE OF CHARGE any part or finish that proves defective in material and manufacturing workmanship, under normal installation, use and service. Replacement parts may be obtained by calling 1-800-289-6636 (in Canada, 1-800-465-6130), or by writing to Moen Incorporated, 25300 Al Moen Drive, North Olmsted, OH 44070-8022 (in Canada, Moen, 2816 Bristol Circle, Oakville, Ontario L6H5S7, Canada). Proof of purchase (original sales receipt) from the original consumer purchaser must accompany all warranty claims. Defects or damage caused by the use of other than genuine Moen parts is not covered by this warranty. This warranty is applicable only to products purchased after December, 1995 and shall be effective from the date of purchase as shown on purchaser’s receipt.
This warranty is extensive in that it covers replacement of all defective parts and finishes. However, damage due to installation error, product abuse, product misuse, or use of cleaners containing abrasives, alcohol or other organic solvents, whether performed by a contractor, service company, or yourself, are excluded from this warranty. Moen will not be responsible for labor charges and/or damage incurred in installation, repair or replacement, nor for any indirect, incidental or consequential damages, losses, injury or costs of any nature relating to these products. Except as provided by law, this warranty is in lieu of and excludes all other warranties, conditions and guarantees, whether expressed or implied, statutory or otherwise, including without restriction those of merchantability or of fitness for use.
Some states, provinces and nations do not allow the exclusion or limitation of incidental or consequential damages, so the above limitations or exclusions may not apply to you. This warranty gives you specific legal rights and you may also have other rights which vary from state to state, province to province, nation to nation. Moen will advise you of the procedure to follow in making warranty claims. Simply write to Moen at the applicable address set forth above. Explain the defect and include proof of purchase and your name, address, area code and telephone number.
Moen Incorporated
25300 Al Moen Drive
North Olmsted, Ohio 44070-8022
U.S.A.
INS12310 – 04/22
















































