
![]()
Welcome to Rizoma 
User Manual
Rev.: 01
– Before you start
We are pleased to welcome you into the world of RIZOMA, and we congratulate you for your excellent choice. Please carefully follow the instructions in this guide, which will allow you to mount and use the product correctly and enjoy all the features it has.
For your protection and safety, RIZOMA expressly recommends that you have the installation of the product performed by skilled personnel. Improper installation, repair or maintenance, can cause accidents. Keep this user guide as a reference for the future.
![]()
![]()
General conditions
– Attention: This component comes assembled for shipping purposes only. Tighten all fasteners to appropriate torque specifications before riding.
Descriptions preceded by this symbol contain information, instructions, or procedures, which, if not followed, may result in death or serious injury.
1. Carefully read, understand and follow these instructions, they are an essential part of the product. If you have any doubt whatsoever regarding the installation or use of your RIZOMA product, please see your authorized RIZOMA dealer for assistance (on www.rizoma.com).
2- For correct installation, all tightening has to be done after the correct positioning of the accessories without restricting the moving parts, to not compromise the correct functioning of the product.
3-After installing any Rizoma product, please check that all related components of the motorbike function e.g. brakes, throttle, clutch, lights and steering. We strongly suggest to repeat these checks periodically, especially after long trips or prolonged periods of not using the bike.
Your RIZOMA products require regular inspection and maintenance. The more you ride the more often you must inspect your RIZOMA products. If your products are leaking, bent, deformed, cracked, chipped or worn, no matter how slight, immediately have a RIZOMA dealer inspect the products before you ride again. In any case never try to repair or modify the Rizoma products or their components, always replace with Rizoma original components.
Rizoma products may not be compatible with your motorcycle or with other aftermarket equipment installed before. For your safety Rizoma suggests to always contact your RIZOMA dealer.
O.E.M.: original equipment manufacturer.
![]()
![]()
License plate
PART NUMBER
PT231

PART NUMBER
PT231


- VD06FAU-ZN
- B180
- RB071
- B192
- VR06P-14-NXA2-70
- V06X25BB10.9K-ZB
– Before you start mounting the product please check the completeness of the kit on the part list. The difficulty level and the time of assemblage shown do not include the removal of OEM components. Warning:Make sure that your motorbike is standing firmly before you start work, as a fall may lead to damage to the motorbike or injury to you or others, also make sure that the temperature of the exhausts and the engine are similar to the ambient temperature. WARNING: TO CLEAN YOUR LICENSE PLATE DON’T USE DETERGENT, AGGRESSIVE PRODUCTS OR ABRASIVE SPONGE THAT CAN DAMAGE OR SCRATCH YOUR LICENSE PLATE, BUT USE ONLY NEUTRAL DETERGENT WITH COLD WATER.
– Improper installation could damage the electrical system of the motorcycle and cause a fire, resulting in personal injury or death. Electrical shock hazard. Disconnect the battery before starting to install turn license plate bracket or rear light or the turn signals. The pins must always be isolated and respect the polarity in the connections. The warrantee is not valid for any electric wires cutting or any product modify or tampering.
| |
|
|
DIFFICULTY LEVEL Simple | |
TIME OF ASSEMBLAGE 20-25 min | |
INSTALL PLATE FOR MEDIUM/LARGE LICENSE PLATE
PART NUMBER
PT231
Step 1

Warning: cut the support of reflector according to dimensions of license plate.- Rubber
H= 3 mm - Rubber
H= 5 mm
INSTALL PLATE FOR SMALL LICENSE PLATE
PART NUMBER
PT231
Step 2

Warning: cut the support of reflector according to dimensions of license plate.- Rubber
H= 3 mm
INSTALL UNIVERSAL LICENSE PLATE
PART NUMBER
PT231
Step 3

WARNING: THE PIN OF POSITIONING SHOULD NEVER BE REMOVED- ELECTRIC WIRINGS
ATTENTION: TAKE CARE NOT PINCH THE WIRINGS.
VITE M6
SCREW M6GREASE 
INSTALL PIN OF POSITIONING
PART NUMBER
PT231
Step 4

WARNING: the pin of positioning must always be inside.
WARNING: INSERT THE PIN OF POSITIONING THE LICENSE PLATE FOLLOW THE EUROPEAN NORM IN FORCE.
INSTALL LICENSE PLATE
PART NUMBER
PT231
Step 5
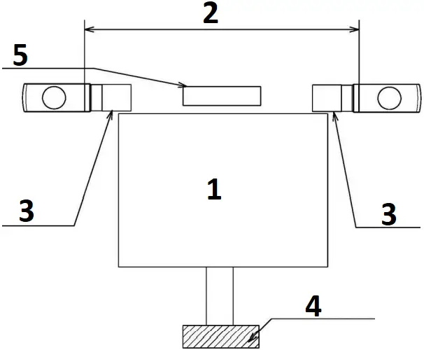
ANGLE OF GEOMETRIC VISIBILITY (DIHEDRAL WITH HORIZONTAL EDGE)

ANGLE OF GEOMETRIC VISIBILITY (DIHEDRAL WITH PERCEPTIBLY VERTICAL EDGE)

INSTALL INDICATORS
PART NUMBER
PT231
Step 6

- LICENSE PLATE
- MIN 180 mm
- INDICATOR LIGHT (CE) APPROVED
- REFLECT LIGHT
- LIGHT LICENSE PLATE (CE) APPROVED
INSTALL UNIVERSAL LICENSE PLATE WITH LARGE PLATE
PART NUMBER
PT231
Step 7.0
ATTENTION: FOR THE INSTALLATION OF LARGE LICENSE PLATE USE ONLY THIS POSITION.

- SCREW M6
- NYLON WASHER
- WASHER
- NUT M6
INSTALL UNIVERSAL LICENSE PLATE WITH SMALL PLATE
PART NUMBER
PT231
Step 7.1
ATTENTION: WITH THE SMALL LICENSE PLATE IS POSSIBLE USED BOTH POSITIONS.

- SCREW M6
- NYLON WASHER
- WASHER
- NUT M6
INSTALL LICENSE PLATE ON UNDER SEAT
PART NUMBER
PT231
Step 8

- NUTS
- WIRINGS
- RUBBERS
- BUSHINGS
H= 7.5 mm - WASHERS
- M6X25
- BUSHINGS
H= 6.5 mm
INSERT WIRINGS IN THE UNDER SEAT
PART NUMBER
PT231
Step 9

- WIRINGS
ATTENTION: INSERT THE WIRINGS IN THE SUPPORT.
ATTENTION: TAKE CARE NOT PINCH THE WIRINGS.
ADJUSTMENT REFLECTOR FOR THE LARGE LICENSE PLATE
PART NUMBER
PT231
Step 10

- UNDER SEAT
- RESPECT THE DIRECTIVE THE REFLECTOR MUST BE PERPENDICULAR AT THE GROUND AXIS
- WHEEL
- GROUND AXIS
- REFLECTOR
- LICENSE PLATE LIGHT
WARNING: ADJUST THE DISTANCE BETWEEN THE REFLECTOR AND THE REAR WHEEL TO AVOID ANY CONTACT, DURING THE MAXIMUM STROKE OF REAR SUSPENSION. THE REFLECTOR MUST BE POSITIONED MORE NEAR POSSIBLE AT THE LOWER OF THE LICENSE PLATE.
ADJUSTMENT REFLECTOR FOR THE SMALL LICENSE PLATE
PART NUMBER
PT231
Step 11

- UNDER SEAT
- RESPECT THE DIRECTIVE THE REFLECTOR MUST BE PERPENDICULAR AT THE GROUND AXIS
- WHEEL
- GROUND AXIS
- REFLECTOR
- LICENSE PLATE LIGHT
WARNING: ADJUST THE DISTANCE BETWEEN THE REFLECTOR AND THE REAR WHEEL TO AVOID ANY CONTACT, DURING THE MAXIMUM STROKE OF REAR SUSPENSION. THE REFLECTOR MUST BE POSITIONED MORE NEAR POSSIBLE AT THE LOWER OF THE LICENSE PLATE.
ELECTRIC CONNECTIONS
PART NUMBER
PT231
Step 12
WARNING: CHECK THAT THE BATTERY IS DISCONNECTED. THE CONNECTORS MUST BE ISOLATED.

- BLACK WIRE
- INCLUDED WIRING
- RED WIRE
- LICENSE PLATE LIGHT
![]()
![]()
Warnings
– RIZOMA reserves the right, in its sole discretion, to make changes to the product and this information at any time and without prior notice. Although many catalogs and advertisements depict riders engaged in extreme or stunt riding, this activity is extremely dangerous, increases the risk of an accident, and increases the severity of any injury.
The action depicted is performed by professionals under strictly controlled riding conditions.
Only you know the limits of your riding ability and only you can control the conditions under which you ride. By and in consideration for his/her purchase and use of the RIZOMA product, the user expressly recognizes and agrees that in the event of any claim arising out of the use of this RIZOMA product, whether such claim is based in contract, warranty, tort (personal injury or wrongful death) or otherwise, the laws of the Republic of Italy shall apply and jurisdiction and venue for any such action shall be in the Courts of Busto Arsizio, Italy.
All riders are strongly urged to take a motorcycle rider safety clinic. Always wear a properly fitted and fastened motorcycle helmet (RIZOMA recommends a full face helmet), that has been approved by ANSI , SNELL, CE, or any other relevant authority, and any other safety equipment necessary for your riding style, such as full finger gloves, boots, and body armor.
Be sure to read and follow all the instructions and warnings that originally accompanied your motorcycle, as well as the literature that accompanied any other component parts installed on your motorcycle.
Be sure that your tires are inflated to the correct pressure and that there is no damage whatsoever in the tread or sidewall of the tire
![]()
![]()
Legal note
– Some of our products may not be approved for road circulation in the countries where homologation is required. Thus RIZOMA® srl declines any responsibility for a different use of its products.
10 mm
2-3-4 mm
DIFFICULTY LEVEL Simple
TIME OF ASSEMBLAGE 20-25 min



















