BEZZERA BB005 Espresso Grinder

SAFETY SYMBOLS
Warning! Important safety warnings!
© 2007 G. BEZZERA – All rights reserved
This publication or any part of it cannot be reproduced, stored in any kind of processor, transmitted, transcribed or translated in any common or software language, in any form or with any
means be they electronic, mechanical, magnetic, optical, chemical, manual or other, without the previous written authorization of G. BEZZERA.




G.Bezzera
Macchine per caffè espresso
20088 Rosate (Milano) Italy
Via L. Bezzera n.1
DICHIARAZIONE DI CONFORMITÀ CE – DECLARATION DE CONFORMITE CE
EG-KONFORMITÄTLÄRUNG – EC DECLARATION OF CONFORMITY
DECLARACIÓN DE CONFORMIDAD CE – DECLARAÇÄO DE CONFORMIDADE CE
Declare under our responsibility that the product: Coffee-grinder-dispenser for household use BB005
it complies according to the provision the specific directives:
2006/95/CEE
Directive Basse Tension
Low Voltage Directive
2004/108/CEE
Directive EMC
EMC Directive
EN 12100-1, EN 12100-2, EN 60335-1, EN 60335-2-14, EN 55014
Harmonized EN norms EN Harmonia
The present declaration will become invalid should the machine be modified without our specific authorization.
G. BEZZERA warranty – Validity terms
The provided products are covered by warranty due to defects of material and/or manufacturing for a period of 12 months from the invoicing date. If the machine is outside the warranty period, it will not be possible to avail of it. Warranty will be granted only after submission of the original purchase document (sale receipt or invoice) attesting the purchase date.
In case of malfunction attributable to manufacturing defects, request the warranty intervention directly to the authorized G. BEZZERA dealer where the machine has been purchased, indicating the malfunction and the serial number indicated in the user manual or on the machine frame.
Goods returns which may reach the authorized dealer without the above serial number will void the warranty, since machine traceability data would not be available.
In case of return, equipment delivery is care of the customer. Handle with care and reposition the ma-chine inside the original packing, to avoid further damage during transport. We remind that, in order to grant the warranty, the goods shall be mandatorily returned in the original packing.
The cost and the risks of machine transport to the dealer shall be borne by the customer.
Each machine is provided with an anti-tampering seal, which makes impossible to open the machine without breaking or damaging the seal. The warranty shall never be granted in case of machine with removed or damaged seal.
Warranty will be granted only after verification by the G. BEZZERA specialized, authorized technician, who will evaluate whether it is possible to repair the machine on site or it is necessary to ship it to the manufacturing plant. Any tampering with the machine by non authorized personnel shall void the war-ranty.
If the machine is received with defective or manifestly damaged packing, the customer shall promptly notice the distributor. Do not collect the goods and especially do not try to operate the machine.
The warranty explicitly does not include the defects which:
- Are attributable to the use of non genuine accessories and spare parts
- Are caused by thunderbolts, humidity, fire, improper power supply voltage, as well as any other damage not objectively attributable to the manufacturer.
- Are ascribable to tampering with the power supply cable
- Are not ascribable to manufacturing faults, but rather to the normal wear of the materials due to the proper use of the equipment (notably, calcification and wear of the parts subject to wear, e.g. seals, grinding disks)
- Occur due to wrong use, negligence or carelessness in use or care (e.g. in case of non observance of the user instructions of the equipment)
- Are caused by wrong installation, maintenance, or repair by non authorized persons or by damaging during transport.
WARNINGS
General Warning
- The electrical systems must be prepared by the user according to the indications provided in chapter 4 of this “Grinder installation” book-let.
- The installer cannot modify the pre-existing plant created by the user in any case.
- This instruction booklet is a full part of the machine and must be read carefully by the user before starting up the machine itself- Keep the booklet for future reference.
- Prepare the earthing of the electrical plant.
- Do not touch the machine with damp and/or wet hands and feet.
- Do not use the machine in bare feet.
- Do not connect the electrical power cable to loose extensions or similar.
- Do not disconnect the machine from the electrical power by pulling the electrical power cable.
- Do not turn on the machine while the electrical power cable is coiled.
- This appliance is not intended for use by per-sons (including children) with reduced physical, sensory or mental capabilities, or lack of expe-rience and knowledge, unless they have been given supervision or instruction concerning use of the appliance by a person responsible for their safety.
- Children should be supervised to ensure that they do not play with the appliance.
Foreseen use
The grinders and measuring grinders are electromechanical devices for grinding and measuring out coffee.
This machine was designed only and exclusively for the uses as above.
All other uses must be considered improper and therefore forbidden by the manufacturer.
The manufacturer cannot be held responsible for damage caused by the improper use of the machine.
TRANSPORT
Packing
The machine, duly protected, is packaged in cardboard boxes.
Warning:
- After the unpacking, make sure that the ma-chine and relevant equipment are complete and undamaged.
- The unpacking’s must be kept out of the reach of children and disposed at the proper dumps.
- Should you detect damages to the machine or missing pieces in the equipment, do not use the machine and inform immediately the area agent.
Moving the machine
The machine can be manually handled.
Storage
The machine, properly packed, shall be kept dry, with temperature ranging from +5 to +30 °C and humidity below 70%.
Two cases maximum are allowed, one upon an other.
GRINDER DESCRIPTION
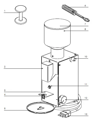
Description of controls (Fig. 01)
- Presser
- Nozzle
- Filter holder bracket
- Main switch
- Bowl
- Cleaning brush
- Hopper cover
- Hopper
- Handle
- Switch
- Dosing adjustment handle (automatic version)
- Power supply cable
Technical data (Fig. 02)
| Power Supply | V~/Hz | 220-240V~ / 50-60Hz | 110-120V~ / 50-60Hz |
| Engine power | W | 130 | 130 |
| Width “A” | mm | 130 | |
| Depth “B” | mm | 260 | |
| Height “C” | mm | 400 | |
| Net Weight | kg | 4 | |
| Gross Weight | kg | 5,5 | |
GRINDER INSTALLATION
Warnings
The installation must be carried out by qualified operators according to manufacturer’s instructions and laws in force.
Preparation of the plant for installation
Put the machine on a plane surface with sizes and solidity suitable to overall dimensions of the equipment. Do not use water jets or install in places where water jets are used. To ensure regular operation, the equipment shall be installed in places with temperature between +5°C and +32°C and humidity not exceeding 70%.
The machine is electrically powered and requires for its operating:
- Power supply connection.
Connection to the electrical network
The system is constructed in accordance with current laws and equipped with a protection or automatic main switch with efficient grounding.
The machine is provided with electric cord with plug.
USE OF THE GRINDER
Turning on the machine
- Remove the cover (Fig. 01; pos. 7) and insert the coffee grains in the hopper (Fig. 01; pos. 8).
Attention. It is forbidden the use of any material different from coffee grains. The coffee grinder contains moving parts which may be dangerous; it is forbidden to introduce your finger and/or other objects. - Close the cover (Fig. 01; pos. 7).
- Insert the plug into the grid socket.
- Press the main switch (Fig. 01; pos. 4) (the switch light is on).
Grinding adjustment (Fig. 04)
Grinding adjustment is a personal factor and de-pends on many variables such as temperature, humidity, coffee quality, etc.
The machine is provided with micrometric adjustment of the grinding degree and the factory de-fault is a medium grinding degree.
It is possible to change the grinding degree rotating the handle (Fig. 01; pos. 10) clockwise (“-”) to move grindstones near to achieve a finer grinding; anticlockwise (“+”) to move them away, to achieve a rougher one.
Dose adjustment (Fig. 03)
(automatic version BB005TM)
The machine is provided with grinding timer, set-table from 2 to 28 seconds.
Operating the dosing adjustment knob (Fig. 01; pos. 12) it is possible, before or during grinding, to change this time rotating the dosing adjustment knob (Fig. 01; pos. 12) toward the sign “3” to increase or toward the sign “0” to decrease the grams.
The ideal number of grams to achieve a good coffee is on average 6/8 for 1 dose (sign “1”) and 12/14 for two doses (sign “2”).
Preparation of the coffee (Fig. 05)
Manual version BB005NR.
- Press the main switch (Fig. 01; pos. 4) (the switch light is on).
- Position the filter holder with 1 or 2-dose filter on the bracket (Fig. 01; pos. 3).
- Push the filter holder holding the switch pressed (Fig. 01; pos. 11) until you obtain the desired dose (Fig. 05).
- Exert a light pressure on the coffee contained in the filter holder using the specific presser (Fig. 01; pos. 1)
Attention: the machine grinds the coffee only when the switch is pressed (Fig. 01; pos. 11).
To stop grinding, just release the switch (Fig. 01; pos. 11).
Automatic version BB005TM
- Press the main switch (Fig. 01; pos. 4) (the switch light is on).
- Rotate the dosing adjustment knob (Fig. 01; pos. 12) selecting the desired dose.
- Position the filter holder with 1 or 2-dose filter on the bracket (Fig. 01; pos. 3).
- Push the filter holder holding the switch pressed (Fig. 01; pos. 11) until you obtain the desired dose (Fig. 05).
- Exert a light pressure on the coffee contained in the filter holder using the specific presser (Fig. 01; pos. 1)
Attention: once the switch is pressed (Fig. 01; pos. 11) the machine keeps grinding the coffee for the preset time.
To stop grinding it is not enough to release the switch (Fig. 01; pos. 11), it is necessary to rotate the dosing adjustment knob (Fig. 01; pos. 12) to position “0” or to switch off the machine pressing the main switch (Fig. 01; pos. 4) (the switch light is off).
Turning off the machine
Turn off the grinder if there is no more coffee inside the hop-per, to avoid motor operation without load and ensuing over- heating (at 100°C the thermal safety of the motor trips; it automatically resets when the temperature decreases).
Press the main switch (Fig. 01; pos. 4) (the switch light is off).
If the machine is not used for a long time:
- Detach the plug from the grid socket.
- Empty the hopper.
- Store the machine in a dry environment, protected from bad weather
MAINTENANCE
To allow the machine to work correctly, follow the maintenance instructions provided below.
Safety rules
Do not subject the machine to water jets. Disconnect the machine from the electrical power by turning the electrical power network omni polar knife-switch lever to the resting position 0. Remove the plug and close the water interception tap before carrying out maintenance and/or cleaning work. If the machine is malfunctioning, do not attempt to repair it alone and call the technical assistance service immediately. If the electrical power cable has been damaged, turn off the machine immediately, turn off the water and call the technical assistance service. Do not replace it alone. Carry out cleaning/maintenance when the machine is cold, preferably wearing protective gloves.
Cleaning the machine
These recommendations are indicative. Maintenance and cleaning frequency depends on machine use.
Daily
- Clean the tray.
- Clean the machine body.
Do not use solvents, detergents or abrasive sponges for washing and cleaning. Clean the machine body with a cloth dampened in water and/or neutral detergents, carefully drying surfaces before reconnecting the machine to the power supply.
Correct product disposal (electrical and electronic waste)
(Applicable in the European Union countries and those countries with separate waste collection systems).
The sign carried on the product or on its documentation indicates that the product must not be disposed of with other domestic waste at the end of its life cycle. To avoid any damage to the environment or to health, caused by unsuitable waste disposal, the user is asked to separate this product from other types of waste and to recycle it responsibly to help the sustainable recycling of material resources.
Domestic users are invited to contact the dealer where the product was purchased or the local office in charge of this matter for all the information relating to separate waste collection and recycling for this type of product.
Company users are invited to contact their own supplier to check the terms and conditions of the purchase contract.
This product must not be disposed of together with other commercial waste.
TROUBLE SHOOTING
| Problem | Diagnostics/Solution | Suggestions |
| The switch light (Fig. 01; pos. 4) does not turn on | The machine is not powered. | Make sure the plug is correctly inserted and that the power cord is not damaged. |
| The coffee dispenses insufficiently, is too cold or coffee de- posit on the cup bottom | The coffee dispenses drop by drop and the quality of the coffee is not good and presents a dark cream. Possible causes:
| In cases 1-2-3, it is necessary to adjust the grinder correctly. In case 4,it is necessary to call a technician. |
| The coffee dispenses too abundantly | The coffee dispenses too quickly and the cream is clearer than usual. Possible causes:
| In cases 1-2-3, it is necessary to adjust the grinder correctly. |




















