IZZY IZ-6009 Espresso Maker

Thank you for choosing a device of the IZZY Limited Edition range.
Safety Interlocks
Please read these instructions carefully before using the appliance and save them for future reference. Please keep the sales receipt for guarantee purposes (pls see below “Guarantee and Customer Service”)
- Make sure your electricity supply is the same as the one shown on the underside of the appliance.
- Always plug your device into an outlet that is earthed. Failure to comply with this requirement may result in electric shock and possible serious injury.
- Never leave the appliance unattended when it is operating.
- Close supervision is necessary when your appliance is being used near children or infirm people. Ensure that they do not play with the appliance.
- This appliance is not intended for use by people with reduced physical, sensory or mental capabilities, children or those with lack of experience and knowledge, unless they have been given supervision or instruction concerning use of the appliance by a person responsible for their safety.
- Switch off and unplug:
- Before filling with water
- Before cleaning
- After each use
- Allow the appliance to cool down completely before putting on or taking off parts and before cleaning and storing the appliance.
- Never use the appliance for any other use than indicated.
- The device is intended for indoor use. Do not use the device outdoors.
- The device is intended only for domestic use. Any other use will cancel the warranty.
- Always use the coffee maker on a secure, dry level surface.
- Do not operate or place the device or parts in places of high humidity or where it may get wet.
- Do not come into contact with the hot water coming out of the water tank.
- Do not touch the hot parts of the appliance when it is operating (eg coffee adaptor, water tank, etc.).
- Do not use the appliance without water in the water tank.
- Do not use sparkling water to fill the water tank.
- Make sure the water in the water tank does not exceed “MAX” indication;
- Do not use the appliance without the water tank and the detachable drip tray.
- Do not remove the coffee adaptor when the appliance is in operation.
- Do not move the safety handle during operation.
- Do not cover the appliance during operation.
- Do not place the appliance in cabinets during operation.
- Do not let the power cord of the appliance hang over the edge of a table or bench edge or where a child can grab it. Do not allow the power cord to touch any warm surface.
- Do not leave the appliance in temperature below 0°C as the water in the water tank can become ice and cause damage to the appliance.
- Do not use the appliance at altitudes higher than 2,200m above sea level.
- Never leave the power cable wrapped during use. Unwind it completely.
- Do not use an extension power cord.
- Never use highly corrosive or abstractive cleaning agents. Never use metal scouring pads for cleaning.
- Never let the power unit, cord or plug get wet.
- If the appliance does get wet, immediately remove the power cord from the wall outlet and do not put your hands in the water. Never run the wet appliance and contact one of the authorized BENRUBI service centers.
- Do not let the cord touch hot parts.
- Never place this appliance on or near a hot gas or electric burner or where it could touch a heated appliance.
- Always make sure there is water in the tank before switching on.
- Do not move the appliance when it is in operation.
- Do not touch the appliance with wet or damp hands.
- Do not use an extension power cord.
- Check the power cord periodically for possible damages.
- If the power cord or the plug of the appliance have been damaged, do not use the appliance and contact an authorized BENRUBI Service Center.
- In case of a possible damage, do not attempt to repair the appliance by yourself. Please contact one of the authorized BENRUBI service centers.
- Any repair made by an unauthorized BENRUBI Service Center CANCELS THE GUARANTEE.
- Any misuse of the device cancels the guarantee.
- Only use original spare parts.
- The appliance conforms to EU directive 2014/30/EU on Electromagnetic Compatibility, the 2014/35/EU Low Voltage Directive, the2011/65/EU RoHS Directive, the directive 2009/125/EC for eco-design and the EC regulation no. 1935/2004 on materials intended to contact with food.
Parts of the Appliance

- Safety handle
- Function buttons
- Water tank lid
- Water tank
- Coffee adaptor (2 adaptors included)/Reception
- Detachable rack
- Detachable drip tray
Function buttons - Espresso button with indication light
- Power button with indication light
- Lungo button with indication light
Coffee adaptors - Adaptor and metal filter for grounded coffee
- Adaptor for Nespresso®* capsule
- Coffee filter
- Measuring spoon/tamper
- Cleaning pump
- Τrademark of a third party, not connected to (NEW) H, BENRUBI & FILS S.A.
Before the First Use
Note: You may find some water in the appliance. In order to ensure that the device works, it has been tested with water before leaving the factory. Before the first use or after the appliance has not been used for a long time, it may be difficult to pump water. Follow the procedure below for easy water pumping.
- Place the appliance on a safe, dry, level surface.
- Remove the water tank (4). See “Filling with water” section.
- Insert the bottom of the cleaning pump (15) into the hole in the back of the coffee machine (Fig.1).
- Plug in the appliance and switch it on by pressing the power button (9). The indication light will illuminate and the indication lights (8 & 10) will flash.
- When the indication lights (8 & 10) stabilize, fill the cleaning pump (15) with water (Fig.2).
- Place a glass under the piston located on the back and top of the appliance.
- Press the Espresso button (8) and push the top of the cleaning pump (15) to the bottom (Fig.3) so that the internal circuit is filled with water.
- As you press, water will come out into the glass.
- If necessary, repeat the process 2 or 3 times.
- Once the above procedure is completed, wash the parts of the appliance. See “Care and Cleaning” section.
- Fill the water tank twice and turn on the espresso machine (without coffee) to clean it. See the section “Using the appliance with ground coffee” by pressing the Lungo button (10).

Filling with Water

There are two ways to fill the water tank:
Directly into the machine:
- Remove the water tank lid (3).
- Fill the water tank (4) with a jug of cold water (Fig.4).
By removing the water tank:
- Remove the water tank (4) by pulling it outwards and slightly upwards (Fig.5/1).
- Remove the lid (3).
- Place the water tank under the tap and fill with cold water (Fig.5/2).
Notes:
- Use cold water. We recommend the use of filtered water as it reduces the deposition of scale and increases the life of your espresso machine.
- Never use hot or carbonated water.
- Make sure that the water in the water tank does not exceed the “MAX” mark. The maximum capacity of the water tank is 0.8 liters.
Using the Appliance with Grounded Coffee

- Place the appliance on a safe, dry, level surface.
- Fill the water tank (4) with cold water. See “Filling with water” section.
- Plug in the appliance.
- Press the power button (9). The indication light will illuminate and the indication lights (8 & 10) will flash.
- Lift the safety handle (1) (Fig.6).
- Place the filter (13) in the ground coffee adaptor (11), insert the desired dose of coffee using the Measuring spoon (14) (Fig.7) and press the coffee into the filter with the tamper (Fig.8).
- Note: Never press the coffee too firmly as it will come out slowly and this will affect its color and flavor. If you press too lightly, the coffee will flow very quickly and will become light.
- Insert the ground coffee adaptor (11) into the slot (5) and push down the safety handle (1) to lock it in (Fig. 9).
- Place a cup on the detachable rack (6) (Fig.10).
- When the indication lights (8 & 10) stabilize, press either the Espresso button (single dose) (8) or the Lungo button (double dose) (10). The indication light of the selected key will flash.
- When the desired amount of coffee is run, the appliance will stop when it has completed its cycle and the indication lights will remain on.
- Note: If you want to stop the process before it is completed, press the Espresso button (8) or the Lungo button (10) once.
- When you have completed the procedure, press the power button (9) and unplug the appliance.
- Lift the safety handle (1) and remove the ground coffee adaptor (11).
- Allow to cool before emptying the coffee filter.
CAUTION: The adaptor and the filter are very hot after use. - Once the adaptor and filter have cooled down, drain the coffee from the filter.
- After each use, empty the water tank and wash the adaptor and the filter. See “Care and cleaning” section.
Notes:
- Do not use very finely ground coffee as it may clog the filters.
- Do not lift the safety handle (1) during operation.
- Do not leave the appliance unattended while it is operating.
- If the appliance remains on without operation, it will turn off automatically after 15 minutes. To switch on the appliance again while in standby mode, press the power button (9) and the indication lights will illuminate.
Preparation of Espresso with Nespresso®* capsule *Τrademark of a third party, not connected to (NEW) H, BENRUBI & FILS S.A.

- Place the appliance on a safe, dry, level surface.
- Fill the water tank (4) with cold water. See “Filling with water” section.
- Plug in the appliance.
- Press the power button (9). The indication light will illuminate and the indication lights (8 & 10) will flash.
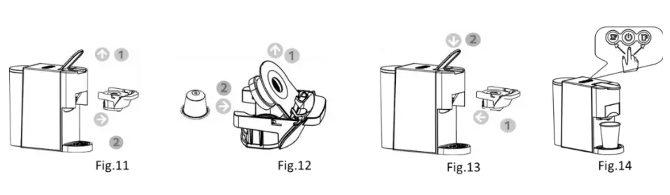
- Lift the safety handle (1) (Fig.11).
- Insert the Nespresso® capsule in the adaptor (12) (Fig.12).
- Insert the adaptor (12) into the reception (5) and push down the safety handle (1) to lock into place (Fig.13).
- Place a cup on the detachable rack (6) (Fig.14).
- When the indication lights (8 & 10) stabilize, press either the Espresso button (8) or the Lungo button (10). The indication light of the selected button will flash.
- When the desired amount of coffee is run, the appliance will stop when it has completed its cycle and the indication lights will remain on.
Note: If you want to stop the process before it is completed, press the Espresso button (8) or the Lungo button (10) once. - When you have completed the procedure, press the power button (9) and unplug the appliance.
- Lift the safety handle (1) and remove the coffee adaptor (12).
- Allow to cool before removing the capsule from the adaptor.
CAUTION: The adaptor and the filter are very hot after use. - Once the adaptor and the capsule have cooled down, discard the capsule.
- After each use, empty the water tank and wash the adaptor. See “Care and cleaning” section.
Notes:
- Do not lift the safety handle (1) during operation.
- Do not leave the appliance unattended while it is operating.
- If the appliance remains on without operation, it will turn off automatically after 15 minutes. To switch on the appliance again while in standby mode, press the power button (9) and the indication lights will illuminate.
Adjusting Coffee Flow Time
- To set the operating time for single and double coffee, follow the steps below.
- The time you can set is min10 to max90 seconds.
Espresso setting (single dose)
- Follow steps 1-8 from the ” Using the appliance with grounded coffee” section.
- Once the indication lights (8 & 10) are stabilized, press and hold the Espresso button (single dose) (8) until the desired amount of coffee has run (Fig.15).
- The Espresso coffee setting is set to the time you want.
Lungo setting (double dose)

- Follow steps 1-8 from the ” Using the appliance with grounded coffee” section.
- Once the indication lights (8 & 10) are stabilized, press and hold the Lungo button (double dose) (8) until the desired amount of coffee has run (Fig.16).
- The Espresso coffee setting is set to the time you want.
Factory Default Setting

- Press the Lungo button (10) and hold it down while plugging in the appliance (Fig.17).
- The indication lights (8, 9 & 10) will flash twice and the appliance settings will be reset to factory default.
Tips for a Great-Tasting Coffee
- A clean coffee maker is essential for making great-tasting coffee. Regularly clean the coffee maker as specified in the “Care and cleaning” section.
- Always use fresh, cold water in the coffee maker.
- Do not use very finely ground coffee as it may clog the filters.
- When buying ground coffee make sure it is suitable for espresso machines.
- Keep coffee in a cool and dry place. When you open the package of coffee, keep tightly closed in refrigerator to keep the freshness.
- For optimal effect, buy whole coffee beans and grind them just before the filtering process.
- Do not use the same coffee for the second time, as this would destroy its aroma.
- Not recommended reheating coffee. Coffee has the maximum aroma, immediately after preparation.
Descaling
Drinking water varies depending on the region. The scales are deposited as residues in the appliance and can block the piping and cause damage. To avoid this, be sure to descale the appliance after 300-400 cups of coffee or after one or two months of operation or if the performance of the appliance is reduced.
ATTENTION:
- Never clean the appliance with vinegar.
- Damage caused by incorrect descaling or descaling failure is not covered by the warranty.
- Caution: watch out for hot water!
Descaling:
- Buy a suitable descaling agent.
- Remove scales from the appliance according to the instructions on the package.
- After descaling, fill the water tank at least three times and turn on the coffee machine (without coffee) to clean it.
- Wash the parts of the appliance. See “Care and cleaning” section.
Care & Cleaning
- Always switch off, unplug and allow to cool before cleaning the appliance.
- Don’t wash parts of the appliance in the dishwasher
- Clean all removable parts of the appliance after each use with warm soapy water.
- Clean the outer parts of the appliance with a soft, damp cloth.
CAUTION: Do not immerse the coffee maker in water or any other liquid. - Do not clean the inside of the water tank with a cloth while may cause remnants of the fabric fibers and clog the coffee maker.
- o not clean with alcohol, or solvent cleanser.
Water tank/Filter/Adaptors:
- Wash the water tank, filter and adaptors with water and dishwashing detergent, rinse thoroughly and allow them to dry thoroughly.
- Do not wash in the dishwasher.
Detachable rack/drip tray:
- Empty the drip tray frequently.
- Remove the detachable rack and drip tray, wash with water and detergent and dry thoroughly after each use.
- Do not wash in the dishwasher.
Attention:
There is a sharp needle at the top of the device where the adaptors are placed. Do not put your hand, because there is a risk of injury (Fig.18).
Technical Characteristics
- Model: Εspresso maker 2in1 IZ-6009 IZZY
- Rated voltage: 220-240V ̴ 50-60Hz
- Power: 1450 W
- Water tank capacity: 0.8 Lt
- Pump pressure: 19 bar
Important information for correct disposal of the product in accordance with EC Directive 2002/96/EC
At the end of its working life, the product must not be disposed of as urban waste. It must be taken to a special local authority differentiated waste collection centre or to a dealer providing this service. Disposing of a household appliance separately avoids possible negative consequences for the environment and health deriving from inappropriate disposal and enables the constituent materials to be recovered to obtain significant savings in energy and resources. As a reminder of the need to dispose of household appliances separately, the product is marked with a crossed-out wheeled dustbin.
Guarantee & Customer Service
- BENRUBI Company guarantees its products for any manufacturing defect or defectivematerials for a period of two (2) years from the date of purchase or delivery by presentingpurchase receipt. If your product malfunctions or you find any defects, please revert to theretail location you have purchased it from or contact an authorized BENRUBI Service Centre.To find the nearest authorized BENRUBI Service Centre, visit our website www.benrubi.gr. Itis in the discretion of BENRUBI Company to replace or repair the defective product. The warranty does not cover damages resulting from normal wear, breakage, scaling,improper installation or maintenance of the product, mishandling, abnormal workingconditions, failure to implement the instructions, conversion or repair of the product by anunauthorized technician who does not belong to the BENRUBI Service Centers. Also, the warranty does not cover the following indicative factors:
- Stains, discoloration or scratches.
- Burns due to exposure to heat or flame.
- Damage from thermal shock (sudden temperature change or change of voltage).
FOR MORE INFORMATION CONTACT: (NEW) H. BENRUBI & FILS SA 27 Aghiou Thoma str, GR15124 Maroussi – Athens Customer Support: Tel.: +30210 6156400 e-mail: [email protected]



















