
MEEC TOOLS 249854 Combination Grinder
SAFETY INSTRUCTIONS
GENERAL SAFETY INSTRUCTIONS FOR POWER TOOLS
WARNING!
Read all the safety instructions and other instructions. Failure to follow all the instructions and safety instructions can result in the risk of electric shock, fire and/ or serious personal injury. Save all warnings and instructions for future reference. The term “power tool” in all the warnings below refers to mains-powered (corded) or battery-powered (cordless) power tools.
WORK AREA
- Keep the work area clean and well lit. Dark and cluttered work areas increase the risk of accidents and injuries.
- Do not use power tools in explosive environments, such as in the vicinity of flammable liquids, gas or dust.
- Power tools produce sparks that can ignite dust and fumes.
- Keep onlookers, especially children at a safe distance when using power to;ls. You can easily lose control of the power tool if you are distracted.
ELECTRICAL SAFETY
- The plug on the power tool must match the power point. Never modify the plug in any way. Never use an adapter with earthed power tools. Unmodified plugs and matching outlets reduce the risk of electric shock.
- Avoid body contact with earthed surfaces such as pipes, radiators, cookers and refrigerators. There is an increased risk of electric shock if your body is earthed.
- Do not expose power tools to rain or moisture. There is a greater risk of electric shock if water gets into a power tool.
- Be careful with the power cord. Never use the power cord to carry or pull the tool, or to pull out the plug from the mains socket. Keep the power cord away from heat, oil, sharp edges and moving parts. Damaged or tangled power cords increase the risk of electric shock.
- If using the tool outdoors, only use an extension cord approved for outdoor use. Cords intended for outdoor use reduce the risk of electric shock.
- If it is absolutely necessary to use power tools in damp conditions, use a mains connection protected by a residual current device (RDC). Using an RCD reduces the risk of electric shock.
PERSONAL SAFETY
- Stay alert. Pay attention to what you are doing, and use your common sense when working with power tools. Never use power tools if you are tired or under the influence of drugs, alcohol or medication. A moment of inattention or carelessness can result in serious personal injury.
- Use personal safety equipment. Wear safety glasses or a face mask. Depending on the type of tool and how it is used, safety equipment such as dust masks, non-slip safety shoes, safety helmets and ear protection reduce the risk of personal injury.
- Avoid accidental starting. Check that the power switch is in the OFF position before plugging in the plug or battery, or lifting/ carrying the tool. Carrying a power tool with your finger on the switch or connecting a tool to the mains supply when the switch is in the ON position increases the risk of accidents and injuries.
- Remove adjuster keys/spanners before switching on the power tool. Spanners or the like that are left in a rotating part of the power tool can cause personal injury.
- Do not overreach. Always maintain a firm footing and good balance. This ensures better control over the power tool in unexpected situations.
- Wear suitable clothing. Do not wear loose-fitting clothing or jewellery.
- Keep your hair, clothing and gloves away from moving parts. Loose-fitting clothing, jewellery and long hair can get caught in moving parts.
- If dust extraction and dust collection equipment is available, this should be connected and used correctly. The use of such devices can reduce the risk of
dust-related problems. - Do not allow familiarity with similar tools to lead to exaggerated self-confidence and to neglect the safety instructions for the tool. A moment of inattention or carelessness can result in serious personal injury.
USING AND LOOKING AFTER POWER TOOLS
- Do not force the power tool. Use the correct power tool for the planned work. The tool does the job better and more safely when used at the rate for which it was designed.
- Do not use the power tool if it cannot be switched on and off with the power switch. Power tools that cannot be controlled with the power switch are dangerous and must be repaired.
- Pull out the plug and/or remove the battery before making any adjustments, changing accessories or putting the power tool away. These safety precautions reduce the risk of accidentally starting the power tool.
- Store power tools out of the reach of children when not in use. Never allow children, or anyone who is unfamiliar with the power tool and these instructions,
to use the tool. Power tools are dangerous if used by inexperienced persons. - Maintain power tools and accessories. Check that moving parts are properly adjusted and do not jam, and that no parts are incorrectly fitted or damaged.
Check for other factors that could affect functionality. If a power tool is damaged it must be repaired before it is used again. Many accidents are caused by poorly maintained power tools. - Keep cutting tools sharp and clean. Properly maintained cutting tools with sharp cutting edges are less likely to jam and are easier to control.
- Use the power tool, accessories and bits etc., in accordance with these instructions, taking into account the actual working conditions and the work that is to be done. It can be dangerous to use power tools for purposes other than those for which they are intended to be used.
- Keep handles and grips clean, dry and free from oil and grease. Greasy handles and grips make it difficult to hold and control the tool in unexpected situations.
SERVICE
- Power tools must only be serviced by qualified personnel using identical spare parts. This will ensure that the power tool remains safe to use.
SAFETY INSTRUCTIONS FOR BENCH GRINDER
- Do not use damaged accessories. Always check before use that grinding wheels and other accessories are not cracked or otherwise damaged, and that steel brushes do not have loose or broken wires. When the accessory has been checked and fitted, hold the product at a safe angle and run it at maximum speed for 1 minute. If the accessory is damaged it will probably break during this test.
- Disregard “and that steel brushes do not have loose or broken wires” for products not intended to be used with steel brushes.
- Only use accessories with at least the same rated speed as the product. Accessories that rotate faster than their rated speed can shatter and cause personal injury.
- Note that wires can come loose from steel brushes, even during normal use. Do not overload the wires by pressing the steel brush too hard against the surface. Wires from steel brushes can easily penetrate through thin clothes and/or skin.
- The above safety instructions only apply to products intended to be used with steel brushes.
- Never grind with the edge of a grinding wheel. Grinding with the edge can cause the wheel to shatter.
REDUCTION OF NOISE AND VIBRATIONS
- Plan the work so that exposure to heavy vibrations is spread over a longer period.
- To reduce noise and vibrations when in use, limit the time the tool is in use, and use low-power/vibration mode and suitable safety equipment.
- Take the following precautions to minimise the risks of exposure to vibrations and/or noise:
- Only use the tool in accordance with these instructions.
- Check that the tool is in good condition.
- Use accessories in good condition, and which are suitable for the purpose.
- Keep a firm grip on the handles/grips.
- Maintain and lubricate the tool in accordance with these instructions.
Symbols
The following symbols can be of importance for how you should use your power tool. Make sure you understand the symbols and their significance.
Read the instructions.
Wear safety glasses.
Approved in accordance with the relevant EU directions
Recycle as electrical waste.
TECHNICAL DATA
- Rated voltage
- 230 V ~ 50 Hz
- Output
- 110 W S1 200 W S2 (30 min)
- Speed, no load
- 2980 rpm
- Protection rating I
- PX0
- Sound pressure level,
- LpA 84 .5 dB(A), K=3 dB
- Sound power level,
- LwA 97.5 dB(A), K=3 dB
- Wheel diameter
- 150 mm
- Belt size
- 50 x686 mm
- Weight
- 7.5 kg
Wear ear protection.
The declared values for vibration and noise, which have been measured according to a standardised test method, can be used to compare different tools with each other and for a preliminary assessment of exposure. The measurement values have been determined in accordance with EN 62 841-3-4:2016.
WARNING!
The actual vibration and noise level when using power tools may differ from the specified maximum value, depending on how the tool is used and the material.
It is therefore necessary to determine which safety precautions are required to protect the user, based on an estimate of exposure in actual operating conditions (taking into account all stages of the work cycle, e.g. the time when the tool is switched off and when it is idling, in addition to the start-up time).
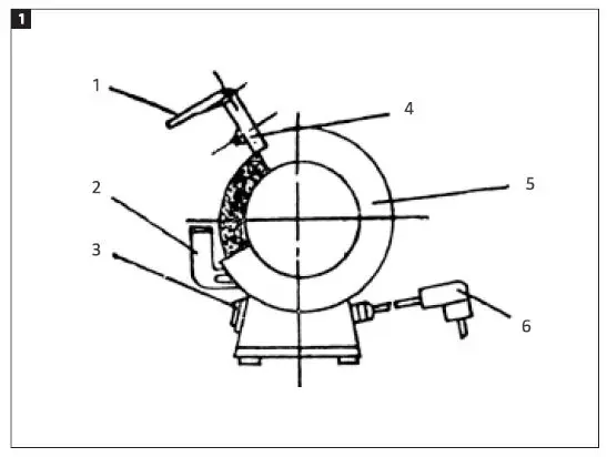
DESCRIPTION
- Protective glass
- Tool rest
- Power switch ON/OFF
- Tool rest holder Cover
- Plug
USE
BEFORE USING FOR THE FIRST TIME
NOTE: Make sure the machine is not connected to the mains supply when adjusting the sanding belt position.
The sanding belt must be adjusted with the screw (see arrow) before starting. This is to ensure the machine does not jam when it is in operation. Turn the sanding belt by hand when adjusting the belt position. 
INSTALLATION OF PROTECTION AND PROTECTIVE GLASS
Fit the guard and protective glass before use. Make sure that the distance between the guard and the grinding wheel and between the tool rest and grinding wheel is no greater than 1.6 mm.
- Connect the plug to the mains outlet.
- Ensure that no tools or other objects are placed in or against the grinder.
- Clean the protective glass and position it so you can see the workpiece through it.
- Set the power switch to the ON position.
- Let the grinding wheel reach the right speed before you load it.
- You can now start to grind.
MAINTENANCE
CLEANING
- Always switch off the tool and unplug the power cord before doing any work on the tool.
- Always clean the tool after use with a soft cloth moistened with a mild detergent.
- Keep the ventilation openings free from dust and dirt.
- Never use solvents such as petrol, alcohol, or ammonia solution, etc. This can damage the plastic parts.
CHANGING THE GRINDING WHEEL
The grinding wheel wears during use. It is, therefore, necessary to adjust the distance between the guard, protective glass and grinding wheel at regular intervals.
- Disconnect the grinder from the mains.
- Remove the guards from the machine.
- Hold the grinding wheel and loosen the nut and the flange holding the wheel.
NOTE:
The left nut has a left thread and the right nut has a right thread. - Remove the old grinding wheel and fit the new one.
- Tighten the flange and nut.
- Fit the guards.
- Let the new grinding wheel run for 1 minute without load to ensure it runs correctly.





















