MEEC TOOLS 251046 Bench Grinder

SAFETY INSTRUCTIONS
GENERAL SAFETY INSTRUCTIONS FOR POWER TOOLS
WARNING
Read all the safety instructions and otherinstructions. Failure to follow all the instructions and safety instructions can result in the risk of electric shock, fire and/ or serious personal injury. Save all warnings and instructions for future reference. The term “power tool” in all the warnings below refers to mains-powered {corded) or battery-powered {cordless) power tools.
WORK AREA
- Keep the work area clean and well lit. Dark and cluttered work areas increase the risk of accidents and injuries.
- Do not use power tools in explosive environments, such as in the vicinity of flammable liquids, gas or dust. Power tools produce sparks that can ignite dust and fumes.
- Keep onlookers, especially children, at a safe distance when using power tools. You can easily lose control of the power tool if you are distracted.
ELECTRICAL SAFETY
- The plug on the power tool must match the power point. Never modify the plug in any way. Never use an adapter with earthed power tools. Unmodified plugs and matching outlets reduce the risk of electric shock.
- Avoid body contact with earthed surfaces such as pipes, radiators, cookers and refrigerators. There is an increased risk of electric shock if your body is earthed.
- Do not expose power tools to rain or moisture. There is a greater risk of electric shock if water gets into a power tool.
- Be careful with the power cord. Never use the power cord to carry or pull the tool, or to pull out the plug from the mains socket. Keep the power cord away from heat, oil, sharp edges and moving parts. Damaged or tangled power cords increase the risk of electric shock.
- If using the tool outdoors, only use an extension cord approved for outdoor use. Cords intended for outdoor use reduce the risk of electric shock.
- If it is absolutely necessary to use power tools in damp conditions, use a mains connection protected by a residual current device (RDC). Using an RCD reduces the risk of electric shock.
PERSONAL SAFETY
- Stay alert. Pay attention to what you are doing, and use your common sense when working with power tools. Never use power tools if you are tired or under the influence of drugs, alcohol or medication. A moment of inattention or carelessness can result in serious personal injury.
- Use personal safety equipment. Wear safety glasses or a face mask. Depending on the type of tool and how it is used, safety equipment such as dust masks, non-slip safety shoes, safety helmets and ear protection reduce the risk of personal injury.
- Avoid accidental starting. Check that the power switch is in the OFF position before plugging in the plug or battery, or lifting/ carrying the tool. Carrying a power tool with your finger on the switch or connecting a tool to the mains supply when the switch is in the ON position increases the risk of accidents and injuries.
- Remove adjuster keys/spanners before switching on the power tool. Spanners or the like that are left in a rotating part of the power tool can cause personal injury.
- Do not overreach. Always maintain a firm footing and good balance. This ensures better control over the power tool in unexpected situations.
- Wear suitable clothing. Do not wear loose-fitting clothing or jewellery. Keep your hair, clothing and gloves away from moving parts. Loose-fitting clothing, jewellery and long hair can get caught in moving parts.
- If dust extraction and dust collection equipment is available, this should be connected and used correctly. The use of such devices can reduce the risk of dust-related problems.
- Do not allow familiarity with similar tools to lead to exaggerated self-confidence and to neglect the safety instructions for the tool. A moment of inattention or carelessness can result in serious personal injury.
USING AND LOOKING AFTER POWER TOOLS
- Do not force the power tool. Use the correct power tool for the planned work. The tool does the job better and more safely when used at the rate for which it was designed.
- Do not use the power tool if it cannot be switched on and off with the power switch. Power tools that cannot be controlled with the power switch are dangerous and must be repaired.
- Pull out the plug and/or remove the battery before making any adjustments, changing accessories or putting the power tool away. These safety precautions reduce the risk of accidentally starting the power tool.
- Store power tools out of the reach of children when not in use. Never allow children, or anyone who is unfamiliar with the power tool and these instructions, to use the tool. Power tools are dangerous if used by inexperienced persons.
- Maintain power tools and accessories. Check that moving parts are properly adjusted and do not jam, and that no parts are incorrectly fitted or damaged. Check for other factors that could affect functionality. If a power tool is damaged it must be repaired before it is used again. Many accidents are caused by poorly maintained power tools.
- Keep cutting tools sharp and clean. Properly maintained cutting tools with sharp cutting edges are less likely to jam and are easier to control.
- Use the power tool, accessories and bits etc., in accordance with these instructions, taking into account the actual working conditions and the work that is to be done. It can be dangerous to use power tools for purposes other than those for which they are intended to be used.
- Keep handles and grips clean, dry and free from oil and grease. Greasy handles and grips make it difficult to hold and control the tool in unexpected situations.
SERVICE
- Power tools must only be serviced by qualified personnel using identical spare parts. This will ensure that the power tool remains safe to use.
SAFETY INSTRUCTIONS FOR BENCH GRINDER
- Do not use damaged accessories. Always check before use that grinding wheels and other accessories are not cracked or otherwise damaged, and that steel brushes do not have loose or broken wires. When the accessory has been checked and fitted, hold the product at a safe angle and run it at maximum speed for 1 minute. If the accessory is damaged it will probably break during this test.
– Disregard “and that steel brushes do not have loose or broken wires” for products not intended to be used with steel brushes. - Only use accessories with at least the same rated speed as the product. Accessories that rotate faster than their rated speed can shatter and cause personal injury.
- Note that wires can come loose from steel brushes, even during normal use. Do not overload the wires by pressing the steel brush too hard against the surface. Wires from steel brushes can easily penetrate through thin clothes and/or skin.
– The above safety instructions only apply to products intended to be used with steel brushes. - Never grind with the edge of a grinding wheel. Grinding with the edge can cause the wheel to shatter.
REDUCTION OF NOISE AND VIBRATIONS
- Plan the work so that exposure to heavy vibrations is spread over a longer period.
- To reduce noise and vibrations when in use, limit the time the tool is in use, and use low-power/vibration mode and suitable safety equipment.
- Take the following precautions to minimise the risks of exposure to vibrations and/or noise:
– Only use the tool in accordance with these instructions.
– Checkthatthetool is in good condition.
– Use accessories in good condition, and which are suitable for the purpose.
– Keep a firm grip on the handles/grips.
– Maintain and lubricate the tool in accordance with these instructions.
Symbols
The following symbols can be of importance for how you should use your power tool. Make sure you understand the symbols and their significance
![]() | Read the instructions. |
![]() | Wear safety glasses. |
![]() | Approved in accordance with the relevant EU directives. |
![]() | Recycle as electrical waste. |
TECHNICAL DATA
| Rated voltage | 230 V ~ 50 Hz |
| Output | 250 W S1 / 350 W S2 (30 min) |
| Speed, no load | 2980 rpm |
| Protection rating | IPXO |
| Sound pressure level, LpA | 82.4 dB(A), K=3 dB |
| Sound power level, LwA | 93.4 dB(A), K=3 dB |
| Size, grindstone | 200x20x16 mm |
| Weight | 10.2 kg |
Wear ear protection.
The declared values for vibration and noise, which have been measured according to a standardised test method, can be used to compare different tools with each other and for a preliminary assessment of exposure.
The measurement values have been determined in accordance with EN 62841-3-4:2016+A11.
WARNING!
The actual vibration and noise level when using power tools may differ from the specified maximum value, depending on how the tool is used and the material. It is therefore necessary to determine which safety precautions are required to protect the user, based on an estimate of exposure in actual operating conditions (taking into account all stages of the work cycle, e.g. the time when the tool is switched off and when it is idling, in addition to the start-up time).
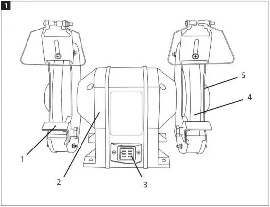
DESCRIPTION
- Tool rest
- Casing
- Power switch
- Grindstone
- Guard

USE
MAINS CONNECTION
The machine has an earthed power cord and should therefore be connected to an earthed power point. Check when using an extension cord that this is also a three-core cord with an earthed plug.
MOUNTING ON WORKBENCH
The machine should be bolted to the workbench. The length of the bolts is determined by the thickness of the workbench. If the bench is made of steel, place a wooden board between the bench and the machine to reduce vibrations. Fit the guards and tool rests after the machine has been mounted on the bench. The machine is then ready for use.
GRINDING DISC
Grinding wheels are very brittle and cannot withstand knocks and blows. Always grind against the front edge of the wheel. Never fit a grinding wheel that is cracked and immediately replace grinding wheels that get cracked or otherwise damaged. The high rotational speed could cause the grinding wheel to shatter and cause an accident.
GRINDING
Only use the grinder for the work for which it is intended, for example, sharpening tools. Use the full width of the front edge and avoid grinding grooves in the wheel. Use a soft grinding wheel to grind hard metals. Use a hard grinding wheel to grind soft metals. Avoid clogging the grinding wheel by not grinding wood, lead or other soft materials. Do not press the workpiece too hard against the grinding wheel, this will just produce deep grooves in the material. Cool the workpiece now and then with water, especially chisels and other similar tools which could otherwise get blue-annealed. Hold the workpiece with a firm grip to prevent it fastening between the grinding wheel and tool rest, which could cause the wheel to crack and injure your hands.
TOOL REST
The tool rest must only be adjusted when the grinding wheel has stopped. Adjust the tool rest so that the gap to the grinding wheel is 1-1.5 mm (max7.5 mm).
CHANGING THE GRINDING WHEEL
NOTE:
Switch off and unplug the machine from the mains before replacing the grinding wheel.
- A Phillips screwdriver and two spanners (8 and 19 mm) are needed to replace the grinding wheel.
- Remove the guards. Note that the righthand axle has right-hand thread and the left has left-hand thread.
- Undo the nut and remove the old grinding wheel.
- Clean the locking flanges.
- Replace one flange on the axle with the concave side facing the grinding wheel.
- Fit the new grinding wheel. Replace the other flange with the concave side facing the grinding wheel.
- Tighten the nut firmly, but do not overtighten.
- Refit the guards and adjust the tool rest.
- Allow the motor to speed up and run with no load for a few seconds before using the machine again.
MAINTENANCE
- Always switch off the tool and unplug the power cord before doing any work on the tool.
- Always clean the tool after use with a soft cloth moistened with a mild detergent.
- Keep the ventilation openings free from dust and dirt.
- Never use solvents such as petrol, alcohol, or ammonia solution, etc. This can damage the plastic parts.
























