CAT GC15K LPG Forklift
Product Information
The Service Manual is a guide for servicing 1-ton to 3-ton internal combustion cushion models of CatTM Lift Trucks. The manual contains instructions that are grouped by systems for easy reference. It is for use with LP Gas units with an E in the chassis serial number and 4G63/4G64 Engine Service Manual and Liquefied Petroleum Gas Supplements. The manual also includes disassembly diagrams, symbols, and abbreviations for easy understanding.
The service manual uses safety-related signs to emphasize important and critical instructions. The following signs are used:
- WARNING: Indicates a specific potential hazard resulting in serious bodily injury or death.
- CAUTION: Indicates a specific potential hazard resulting in bodily injury or damage to, or destruction of, the machine.
- NOTE: Indicates a condition that can cause damage to, or shorten service life of, the machine.
How to Read this Manual
The disassembly diagrams in the manual are followed by disassembly sequence and suggestions for disassembly. The symbols and abbreviations used in the manual include OP, R1/4, Rc1/8, G1/4A, and Rp1/8.
Product Usage Instructions
It is important to follow the instructions in the OPERATION & MAINTENANCE MANUAL for lubrication and maintenance of the lift truck recommended by Cat. Improper performance of lubrication or maintenance procedures is dangerous and could result in injury or death. Therefore, read and understand the OPERATION & MAINTENANCE MANUAL before performing any lubrication or maintenance. Before removing or disassembling any component, it is important to have knowledge of the system and/or components. The serviceman or mechanic should use caution when performing service work. It is also important to check the weights noted in this manual before removing any components due to the size of some of the truck components. Use proper lifting procedures when removing any component. Basic precautions that should always be observed include reading and understanding all warning plates and decals on the truck before operating, lubricating or repairing the product. Always wear protective glasses and protective shoes when working around trucks. In particular, wear protective glasses when pounding on any part of the truck or its attachments with a hammer or sledge. Use welders gloves, hood/goggles, aprons and other protective clothing appropriate to the welding job being performed. Do not wear loose-fitting or torn clothing. Remove all rings from fingers when working on machinery.
FOREWORD
This service manual is a guide to servicing the 1-ton to 3-ton internal combustion cushion models of CatTM Lift Trucks. The instructions are grouped by systems to serve the convenience of your ready reference. The long productive life of your lift trucks depends to a great extent on correct servicing – the servicing is consistent with what you will learn from this service manual. We hope you read the respective sections of this manual carefully and know all the components you will work on before attempting to start a test, repair, or rebuild job.
For the items pertaining to the engines, refer to the following service manuals:
- 4G63/4G64 Gasoline Engine Service Manual (Pub. No. 99729-74120) For use with both gasoline and LP Gas engines.
- 4G63/4G64 LP Gas Supplement (Pub. No. 99729-85100) For use with LP Gas units with a “D” in the chassis serial number.
- 4G63/4G64 LP Gas Supplement (Pub. No. 99729-85110) For use with LP Gas units with an “E” in the chassis serial number.
The following safety-related signs are used in this service manual to emphasize important and critical instructions:
WARNING: Indicates a specific potential hazard resulting in serious bodily injury or death.
CAUTION: Indicates a specific potential hazard resulting in bodily injury, or damage to, or destruction of, the machine.
NOTE: Indicates a condition that can cause damage to, or shorten the service life of, the machine.
Disassembly diagram (example) 

Symbols or abbreviations
- OP ……………….Option
- R1/4……………..Taper pipe thread (external) 1/4 inch (formerly PT1/4)
- Rc1/8 ……………Taper pipe thread (internal) 1/8 inch (formerly PT1/8)
- G1/4A…………..Straight pipe thread (external) 1/4 inch (formerly PF1/4-A)
- Rp1/8……………Straight pipe thread (internal) 1/8 inch (formerly PS1/8)
SAFETY
WARNING: The proper and safe lubrication and maintenance for this lift truck, recommended by Cat, are outlined in the OPERATION & MAINTENANCE MANUAL for these trucks. Improper performance of lubrication or maintenance procedures is dangerous and could result in injury or death. Read and understand the OPERATION & MAINTENANCE MANUAL before performing any lubrication or maintenance. The serviceman or mechanic may be unfamiliar with many of the systems on this truck. This makes it important to use caution when performing service work. Knowledge of the system and/or components is important before the removal or disassembly of any component. Because of the size of some of the truck components, the serviceman or mechanic should check the weights noted in this Manual. Use proper lifting procedures when removing any components. Following is a list of basic precautions that should always be observed. Do not operate this truck unless you have read and understand the instructions in the OPERATION & MAINTENANCE MANUAL. Improper truck operation is dangerous and could result in injury or death.
- Read and understand all warning plates and decals on the truck before operating, lubricating, or repairing the product.
- Always wear protective glasses and protective shoes when working around trucks. In particular, wear protective glasses when pounding on any part of the truck or its attachments with a hammer or sled. Use welders gloves, hoods/goggles, aprons,s and other protective clothing appropriate to the welding job being performed. Do not wear loose-fitting or torn clothing. Remove all rings from fingers when working on machinery.
- Do not work on any truck that is supported only by lift jacks or a hoist. Always use blocks or jack stands to support the truck before performing any disassembly.
- Lower the forks or other implements to the ground before performing any work on the truck. If this cannot be done, make sure the forks or other implements are blocked correctly to prevent them from dropping unexpectedly.
- Use steps and grab handles (if applicable) when mounting or dismounting a truck. Clean any mud or debris from steps, walkways, or work platforms before using. Always face the truck when using steps, ladders, and walkways. When it is not possible to use the designed access system, provide ladders, scaffolds, or work platforms to perform safe repair operations.
- To avoid back injury, use a hoist when lifting components that weigh 23 kg (50 lb.) or more. Make sure all chains, hooks, slings, etc., are in good condition and are of the correct capacity. Be sure hooks are positioned correctly. Lifting eyes are not to be side loaded during a lifting operation.
- To avoid burns, be alert for hot parts on trucks that have just been stopped and hot fluids in lines, tubes, and compartments.
- Be careful when removing cover plates. Gradually back off the last two bolts or nuts located at opposite ends of the cover or device and pry the cover loose to relieve any spring or other pressure, before removing the last two bolts or nuts completely.
- Be careful when removing filler caps, breathers, and plugs on the truck. Hold a rag over the cap or plug to prevent being sprayed or splashed by liquids under pressure. The danger is even greater if the truck has just been stopped because fluids can be hot.
- Always use tools that are in good condition and be sure you understand how to use them before performing any service work.
- Reinstall all fasteners with same part number. Do not use a lesser quality fastener if replacements are necessary. Do not mix metric fasteners with standard nuts and bolts.
- If possible, make all repairs with the truck parked on a level, hard surface. Block truck so it does not roll while working on or under truck.
- Disconnect battery and discharge any capacitors (electric trucks) before starting to work on truck. Hang “Do not Operate” tag in the Operator’s Compartment.
- Repairs, which require welding, should be performed only with the benefit of the appropriate reference information and by personnel adequately trained and knowledgeable in welding procedures. Determine type of metal being welded and select correct welding procedure and electrodes, rods or wire to provide a weld metal strength equivalent at least to that of parent metal.
- Do not damage wiring during removal operations. Reinstall the wiring so it is not damaged nor will it be damaged in operation by contacting sharp corners, or by rubbing against some object or hot surface. Do not connect wiring to a line containing fluid.
- Be sure all protective devices including guards and shields are properly installed and functioning correctly before starting a repair. If a guard or shield must be removed to perform the repair work, use extra caution.
- Always support the mast and carriage to keep carriage or attachments raised when maintenance or repair work is performed, which requires the mast in the raised position.
- Loose or damaged fuel, lubricant and hydraulic lines, tubes and hoses can cause fires. Do not bend or strike high pressure lines or install ones which have been bent or damaged. Inspect lines, tubes and hoses carefully. Do not check for leaks with your hands. Pin hole (very small) leaks can result in a high velocity oil stream that will be invisible close to the hose. This oil can penetrate the skin and cause personal injury. Use cardboard or paper to locate pin hole leaks.
- Tighten connections to the correct torque. Make sure that all heat shields, clamps and guards are installed correctly to avoid excessive heat, vibration or rubbing against other parts during operation. Shields that protect against oil spray onto hot exhaust components in event of a line, tube or seal failure, must be installed correctly.
- Relieve all pressure in air, oil or water systems before any lines, fittings or related items are disconnected or removed. Always make sure all raised components are blocked correctly and be alert for possible pressure when disconnecting any device from a system that utilizes pressure.
- Do not operate a truck if any rotating part is damaged or contacts any other part during operation. Any high-speed rotating component that has been damaged or altered should be checked for balance before reusing.
Vehicle Exterior
Models
| Truck model | Model code – Serial number | Engine mounted |
| GC15K | AT81C – 00011- up AT81D – 00011- up AT81E – 00011- up |
Mitsubishi 4G63 gasoline engine |
| GC18K | AT81C – 00011- up AT81D – 00011- up AT81E – 00011- up | |
| GC20K | AT82C – 00011- up AT82D – 00011- up AT82E – 00011- up | |
| GC25K | AT82C – 00011- up AT82D – 00011- up AT82E – 00011- up | |
| GC20K HO | AT82C – 90011- up AT82D – 90011- up AT82E – 90011- up |
Mitsubishi 4G64 gasoline engine |
| GC25K HO | AT82C – 90011- up AT82C – 90011- up AT82C – 90011- up | |
| GC30K | AT83C – 00011- up AT83C – 00011- up AT83C – 00011- up |
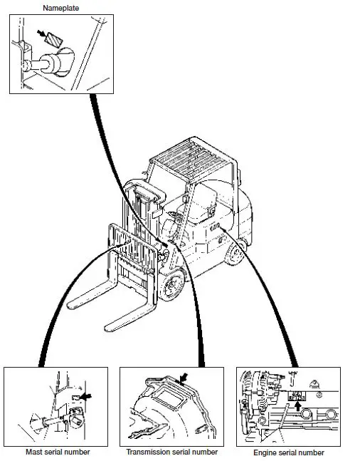
Serial Number Locations

Dimensions

| Ref. No. | Truck Model
Item | 1-ton models | 2-ton models | 3-ton models | ||
| GC15K | GC18K | GC20K GC20K HP | GC25K GC25K HP | GC30K | ||
| A | Maximum fork height | 3325 (131) | 3340 (131) | 3315 (130) | ||
| B | Free fork height | 115 (4.5) | 130 (5.1) | 135 (5.3) | ||
| C | Fork spacing (out-to-out) minimum/maximum | 200/820 (8.0/32.3) | 200/920 (8.0/36.2) | 200/960 (10/38) | ||
| D | Fork length | 1067 (42) | ||||
| E | Tilt angle (forward–backward) | 5–10° | 5–10° | 5–6° | ||
| F | Overall length | 2055 (80.9) | 2083 (82.0) | 2227 (87.5) | 2287 (90) | 2455 (96.7) |
| G | Overall width (outside of tires) | 945 (37.5) | 1055 (41.5) | 1105 (43.5) | ||
| H | Overall height (to top of mast lowered) | 2105 (83) | 2110 (83.5) | 2155 (85) | ||
| I | Overall height (to top of overhead guard) | 2022 (79.6) | 2060 (81.1) | |||
| J | Overall height (to top of mast extended) | 4550 (179) | 4565 (180) | 4535 (176) | ||
| K | Trend (front) | 793 (31.2) | 877 (34.5) | 902 (35.5) | ||
| L | Trend (rear) | 826 (32.5) | 922 (36.3) | 897 (35.5) | 897 (35.5) | |
| M | Wheelbase | 1190 (46.9) | 1350 (53.1) | 1500 (59.1) | ||
| N | Load moment constant | 376 (14.8) | 399 (15.7) | 412 (16.2) | ||
| O | Rear overhang | 479 (18.9) | 507 (20.0) | 475 (18.7) | 532 (20.9) | 529 (20.8) |
| P | Ground clearance (at frame) | 95 (3.7) | 130 (5.1) | |||
Technical Data (Standard Models)
| Truck Model Item | GC15K | GC18K | GC20K | GC25K | GC30K | ||
|
Work performance | Rated capacity/load center kg/mm (lb/in.) | 1500/500 (3000/24) | 1800/500 (3500/24) | 200/500 (4000/24) | 2500/500 (5000/24) | 3000/500 (6000/24) | |
| Maximum fork height mm (in.) | 3300 (131) | 3300 (131) | 3300 (131) | ||||
| Lift speed (rated load) mm/sec (fpm) | 590 (116) | 510 (100) | 470 (93) | ||||
| Lowering speed (rated load) mm/sec (fpm) | 610 (120) | 550 (108) | 500 (98) | ||||
| Tilt angle (forward – backward) | 5–10° | 5–10° | 5–6° | ||||
| Free fork height mm (in.) | 115 (4.5) | 130 (5.1) | 135 (5.3) | ||||
|
Traveling performance | Travel speed (loaded) km/h (mph) | Forward | 15 (9.3) | 16 (9.9) | 16 (9.9) | ||
| Reverse | 15 (9.3) | 16 (9.9) | 16 (9.9) | ||||
| Minimum turning radius mm (in.) | 1760 (69.3) | 1790 (70.4) | 1945 (76.6) | 2002 (78.8) | 2169 (85.4) | ||
| Gradeability (rated load) [at 1.6 km/h (1 mph)] % tan | 35 | 31 | 25.5 | 21 | 23 | ||
|
Dimensions | Overall length mm (in.) | 2949 (116.1) | 2980 (117.3) | 4335 (170.7) | 4392 (172.9) | 4559 (179.5) | |
| Overall width mm (in.) | 945 (37.2) | 1055 (41.5) | 1105 (43.5) | ||||
|
Overall height mm (in.) | To top of mast lowered | 2105 (83) | 2110 (83.1) | 2155 (85) | |||
| To top of mast extended | 4550 (179) | 4565 (180) | 4535 (176) | ||||
| To top of overhead guard | 2022 (79.6) | 2060 (81.1) | 2060 (81.1) | ||||
| Wheel base mm (in.) | 1190 (46.9) | 1350 (53.1) | 1500 (59.1) | ||||
| Tread mm (in.) | Front | 793 (31.2) | 877 (34.5) | 902 (35.5) | |||
| Rear | 826 (32.5) | 922 (36.3) | 897 (35.5) | 897 (35.5) | |||
| Load moment constant mm (in.) | 376 (14.8) | 399 (15.7) | 412 (16.2) | ||||
| Rear overhang mm (in.) | 479 (18.9) | 507 (20.0) | 475 (18.7) | 532 (20.9) | 529 (20.8) | ||
| Ground clearance (at frame) | 95 (3.7) | 130 (5.1) | 130 (5.1) | ||||
| Tire size mm (in.) | Front | 18 ´ 6 ´ 12-1/8 | 21 ´ 7 ´ 15 | 21 ´ 8 ´ 15 | |||
| Rear | 14 ´ 4-1/2 ´ 8 | 16 ´ 6 ´ 10-1/2 | 16 ´ 6 ´ 10-1/2 | ||||
| Service weight (empty) kg (lb) | 2630 (5800) | 3650 (8050) | 4170 (9190) | ||||
|
Engine | Engine model | 4G63 | 4G63 | 4G64 | |||
| Make | Mitsubishi Motors | Mitsubishi Motors | Mitsubishi Motors | ||||
| Type | Gasoline | Gasoline | Gasoline | ||||
| Cooling System | Water | Water | Water | ||||
| No. of cylinders – arrangement | 4 -in-line | 4 -in-line | 4 -in-line | ||||
| No. of strokes | 4 | 4 | 4 | ||||
| Types of combustion chambers | Semi-spherical | Semi-spherical | Semi- spherical | ||||
| Valve arrangement | Overhead valve and OHC | Overhead valve and OHC | Overhead valve and OHC | ||||
| Type of cylinder liners | Integral with cylinder block | Integral with cylinder block | Integral with cylinder block | ||||
| Cylinder bore ´ stroke mm (in.) | 85 ´ 88 (3.346 ´ 3.465) | 85 ´ 88 (3.346 ´ 3.465) | 86.5 ´ 100 (3.406 ´ 3.937) | ||||
| Displacement cc (cu in.) | 1997 (121.8) | 1997 (121.8) | 2350 (143.4) | ||||
| Truck Model Item | GC15K | GC18K | GC20K | GC25K | GC30K | ||
|
Engine | Compression ratio | 8.5 : 1 | 8.5 : 1 | 8.6 : 1 | |||
| Rated output Hp/rpm | 46/2400 | 46/2400 | 57/2400 | ||||
| Maximum torque N·m (kgf·m) [lbf·ft]/rpm | 139 (14.2) [105]/1600 | 139 (14.2) [105]/1600 | 176 (18) [130]/1600 | ||||
| Dimensions (length ´ width ´ height) mm (in.) | 576 ´ 604.6 ´ 730.7 (22.7 ´ 23.8 ´ 28.8) | 576 ´ 604.6 ´ 730.7 (22.7 ´ 23.8 ´ 28.8) | 576 ´ 604.6 ´ 736.7 (22.7 ´ 23.8 ´ 29.0) | ||||
| Weight (service) kg (lb) | 150 (330) | 150 (330) | 150 (330) | ||||
| Location | Rear | Rear | Rear | ||||
| Intake valves | Open BTDC | 12° | 12° | 12° | |||
| Close ABDC | 40° | 40° | 40° | ||||
| Exhaust valves | Open BBDC | 54° | 54° | 54° | |||
| Close ATDC | 6° | 6° | 6° | ||||
| Valve clearance mm | Intake valves | 0.00 (hot) | 0.00 (hot) | 0.00 (hot) | |||
| Exhaust valves | 0.00 (hot) | 0.00 (hot) | 0.00 (hot) | ||||
| Ignition | Spark | Spark | Spark | ||||
| Firing order | 1 – 3 – 4 – 2 | 1 – 3 – 4 – 2 | 1 – 3 – 4 – 2 | ||||
| Ignition timing BTDC degree/rpm | 4 / 700 ± 50 (gasoline) 9/ 700 ± 50 (LPG) | ||||||
| Fuel tank rated capacity liter (U.S. gal.) | 34 (9) | 46 (12) | 56 (15) | ||||
|
Ignition system (gasoline models) |
Ignition coil | Type | With external resistor | With external resistor | With external resistor | ||
| Make | Mitsubishi Electric | Mitsubishi Electric | Mitsubishi Electric | ||||
|
Distributor | Type | Non-contact point type (C.E.I.) | Non-contact point type (C.E.I.) | Non-contact point type (C.E.I.) | |||
| Make | Mitsubishi Electric | Mitsubishi Electric | Mitsubishi Electric | ||||
| Spark advancer | Centrifugal pneumatic type | Centrifugal pneumatic type | Centrifugal pneumatic type | ||||
|
Spark plugs | Type | W14EX-U | W14EX-U | W14EX-U | |||
| Make | Denso | Denso | Denso | ||||
| Size mm (in.) | 14 ´ 1.25 (0.55 ´ 0.049) | 14 ´ 1.25 (0.55 ´ 0.049) | 14 ´ 1.25 (0.55 ´ 0.049) | ||||
| Gap mm (in.) | 0.7 to 0.8 (0.028 to 0.031) | 0.7 to 0.8 (0.028 to 0.031) | 0.7 to 0.8 (0.028 to 0.031) | ||||
|
Fuel system | Carburetor | Type | Down-draft | Down-draft | Down-draft | ||
| Make | Mikuni Kogyo | Mikuni Kogyo | Mikuni Kogyo | ||||
| Governor | Type | Pneumatic | Pneumatic | Pneumatic | |||
| Make | Mikuni Kogyo | Mikuni Kogyo | Mikuni Kogyo | ||||
| Fuel pump | Type | Diaphragm | Diaphragm | Diaphragm | |||
| Make | Kyosan Electric | Kyosan Electric | Kyosan Electric | ||||
| Air cleaner | Type ´ number | Cyclone-paper element ´ 1 | Cyclone-paper element ´ 1 | Cyclone-paper element ´ 1 | |||
| Make | Nippon Rokaki | Nippon Rokaki | Nippon Rokaki | ||||
|
Lubrication system | Type | Pressure feed | Pressure feed | Pressure feed | |||
| Oil pump | Gear type | Gear type | Gear type | ||||
| Oil filter | Paper-element type | Paper-element type | Paper-element type | ||||
| Refill capacities liter (U.S. gal.) | Oil pan | 45 (1.2) | 45 (1.2) | 45 (1.2) | |||
| Oil filter | 0.3 (0.1) | 0.3 (0.1) | 0.3 (0.1) | ||||
| Total | 4.8 (1.3) | 4.8 (1.3) | 4.8 (1.3) | ||||
| Truck Model Item | GC15K | GC18K | GC20K | GC25K | GC30K | |||
|
Cooling system | Type | Forced circulation | Forced circulation | Forced circulation | ||||
| Radiator | Corrugated fin (pressure) type | Corrugated fin (pressure) type | Corrugated fin (pressure) type | |||||
| Refill capacity liter (U.S. gal.) | 9.85 (2.6) | 9.85 (2.6) | 9.85 (2.6) | |||||
| Water pump | Centrifugal type | Centrifugal type | Centrifugal type | |||||
| Thermostat | Wax type | Wax type | Wax type | |||||
| Battery | Voltage V | 12 | 12 | 12 | ||||
| 5-hr rating Ah | 32 | 40 | 40 | |||||
| Alternator and regulator | Alternator type | 3-phase | 3-phase | 3-phase | ||||
| Capacity V – A | 12 – 65 | 12 – 65 | 12 – 65 | |||||
| Regulator | Built-in IC type | Built-in IC type | Built-in IC type | |||||
| Starter | Type | Lever-shift type | Lever-shift type | Lever-shift type | ||||
| Voltage – output V – kW | 12 – 1.2 | 12 – 1.2 | 12 – 1.2 | |||||
|
Power train | Torque converter | Type | 3-element, 1-stage, 2-phase | 3-element, 1-stage, 2-phase | 3-element, 1-stage, 2-phase | |||
| Model | Daikin XT027 | Daikin DC6649 | Daikin DC6649 | |||||
| Stall torque ratio | 2.8 | 3.0 | 3.0 | |||||
| Powershaft transmission | Control and shift | Hydraulic column shift | Hydraulic column shift | Hydraulic column shift | ||||
| Ratios | Forward | 2.913 | 2.913 | 2.913 | ||||
| Reverse | 2.913 | 2.913 | 2.913 | |||||
| Reduction gear | Type of gears | Skew bevel | Skew bevel | Skew bevel | ||||
| Ratio | 4.571 | 4.571 | 4.571 | |||||
| Differential | Axle housing | Banjo | Banjo | Banjo | ||||
| Type of gears- number | Gears | Straight bevel – 2 | Straight bevel – 2 | straight bevel – 2 | ||||
| Pinions | Straight bevel – 2 | Straight bevel – 2 | Straight bevel – 2 | |||||
|
Steering system | Type | Full hydrostatic power stearing | Full hydrostatic power stearing | Full hydrostatic power stearing | ||||
| Turning angle | Inside | 83° | 83° | 78°05´ | ||||
| Outside | 54° | 56° | 52°14´ | |||||
| Steering wheel diameter mm (in.) | 330 (13) | 330 (13) | 330 (13) | |||||
|
Steering cylinder | Steering cylinder ID ´ rod OD mm (in.) | 63.5 ´ 40 (2.5 ´ 1.575) | 76.2 ´ 50 (3.0 ´ 1.97) | |||||
| Effective stroke mm (in.) | 195 (7.68) | 210 (8.27) | ||||||
| Relief pressure kPa (kgf/cm2) [psi] | 7845 (80) [1138] | |||||||
| Flow rate liter (U.S. gal.)/min | 23 (6.07) | |||||||
|
Traveling system | Front axle | Full-floating tubular type | Full-floating tubular type | Full-floating tubular type | ||||
| Rear axle | Elliott type | Elliott type | Elliott type | |||||
| Mounting | Front wheels | Fixed type | Fixed type | Fixed type | ||||
| Rear wheels | Center-pivot type | Center-pivot type | Center-pivot type | |||||
| Wheel alignment | Toe-in mm (in.) | 0 | 0 | 0 | ||||
| Camber | 1° | 1° | 1° | |||||
| Caster | 0° | 0° | 0° | |||||
| Kingpin inclination | 0° | 0° | 0° | |||||
| Truck Model Item | GC15K | GC18K | GC20K | GC25K | GC30K | ||
|
Brake system |
Service brake | Type | Self-adjusting duo-servo | Self-adjusting duo-servo | Self-adjusting duo-servo | ||
| Drum diameter mm (in.) | 254 (10.00) | 310 (12.20) | 310 (12.20) | ||||
| Lining (length ´ width ´ thickness ´ number) mm (in.) | 274.2 ´ 48.5 ´ 4.78 ´ 2 (10.80 ´ 1.91 ´ 0.19 ´ 2) | 344 ´ 60.0 ´ 6.4 ´ 2 (13.54 ´ 2.36 ´ 0.24 ´ 2) | 344 ´ 60.0 ´ 6.4 ´ 2 (13.54 ´ 2.36 ´ 0.24 ´ 2) | ||||
| Master cylinder ID mm (in.) | 22.22 (0.8748) | 22.22 (0.8748) | 22.22 (0.8748) | ||||
| Wheel cylinder ID mm (in.) | 22.22 (0.8748) | 28.58 (1.1252) | 28.58 (1.1252) | ||||
| Parking brake | Type | Mechanical, mounted on front wheels | Mechanical, mounted on front wheels | Mechanical, mounted on front wheels | |||
| Body-frame | Unitized type | Unitized type | Unitized type | ||||
|
Hydraulic system |
Hydraulic pump | Type | Gear | Gear | Gear | ||
| Model | Shimadzu SGP1-27 | Shimadzu SGP1-30 | Shimadzu SGP1-34 | ||||
| Rated output liter (cu in.) | 64.8 (3954) /2400 rpm | 72.0 (4394) /2400 rpm | 79.9 (4876) /2400 rpm | ||||
| Drive line | Universal joint | Universal joint | Universal joint | ||||
|
Control valve | Model | Shimadzu MSV 04-3-7645 | |||||
| Relief pressure kPa (kgf/cm2) [psi] | 18142 +490 (185 +5 ) 0 0 [2361 +71 ] 0 | 18142 +490 (185 +5 ) 0 0 [2361 +71 ] 0 | 18142 +490 0 (185 +5 ) 0 [2361 +71 ] 0 | ||||
| Flow regulator valve | Type | Variable | Variable | Variable | |||
| Regulated flow rate liter (cu in.)/min | 50 ± 3 (3051 ± 183) | 65 ± 3 (3967 ± 183) | 75 ± 3 (4577 ± 183) | ||||
| Lift cylinders mm (in.) | ID | 45 (1.77) | 50 (1.97) | 55 (2.17) | |||
| Stroke | 1650 (64.96) | 1650 (64.96) | 1600 (62.99) | ||||
| Tilt cylinders mm (in.) | ID | 63 (2.48) | 70 (2.76) | 80 (3.15) | |||
| Stroke | 96 (3.78) | 111 (4.37) | 111 (4.37) | ||||
| Hydraulic tank capacity (approx.) liter (U.S. gal) | 21 (5.5) | 30 (7.9) | 36 (9.5) | ||||
|
Mast and forks | Mast | Roller type CL | Roller type CL | Roller type CL | |||
| Mast dimensions (Flange inside width ´ Flange ´ thk (F.R)´Flange thk (R.E) ´ Web thk) | Outer mm (in.) | 100 ´ 17 ´ 19 ´ 11 (3.94 ´ 0.67 ´ 0.75 ´ 0.43) | 115 ´ 22 ´ 27 ´ 12 (4.53 ´ 0.87 ´ 1.06 ´ 0.47) | ||||
| Inner mm (in.) | 100 ´ 17 ´ 19 ´ 10 (3.94 ´ 0.67 ´ 0.75 ´ 0.39) | 115 ´ 22 ´ 23 ´ 11 (4.53 ´ 0.87 ´ 0.91 ´ 0.43) | |||||
|
Main rollers | Type | #6308 ball bearing | #6309 ball bearing | #6309 ball bearing | |||
| Diam ´ width mm (in.) | 100 ´ 27 (3.94 ´ 1.06) | 115 ´ 30 (4.53 ´ 1.18) | |||||
|
Side rollers | Type | Lubricating type needle roller bearing | Lubricating type needle roller bearing | Lubricating type needle roller bearing | |||
| Diam ´ width mm (in) | 42 ´ 36 (1.65 ´ 1.42) | 42 ´ 36 (1.65 ´ 1.42) | 42´36 (1.65 ´ 1.42) | ||||
| Lift chains | BL534 | BL634 | BL834 | ||||
| Fork (length ´ width ´ thickness) mm (in.) | 1067 ´ 100 ´ 35 (42 ´ 4 ´ 1.4) | 1067 ´ 100 ´ 40 (42 ´ 4 ´ 1.6) | 1067 ´ 125 ´ 45 (42 ´ 5 ´ 1.8) | ||||
| Fork spacing (out-to-out) mm (in.) | 200 to 820 (8 to 32.5) | 200 to 920 (8 to 36) | 200 to 960 (10 to 38) | ||||
Structure and Function

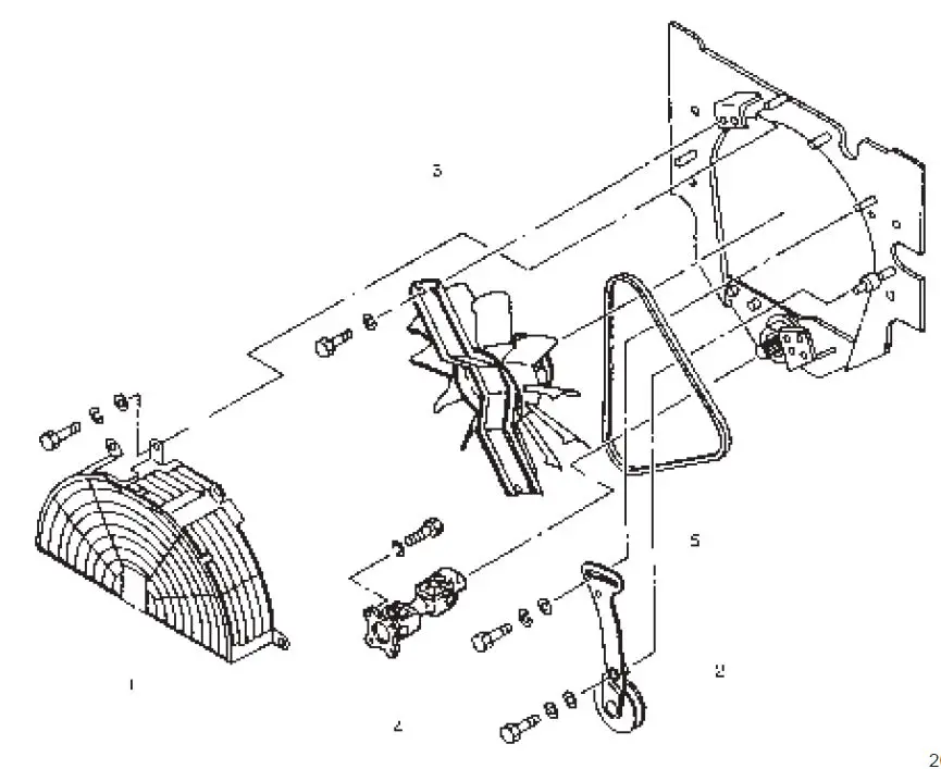
The cooling fan is installed inside the engine compartment. This helps minimize radiator core clogging and retain high cooling efficiency even in continuous operation for hours. The radiator’s lower tank has a built-in transmission oil cooler.
Removal and Installation
Fan Belt Removal 
Sequence:
- Fan guard
- Tensioner, Tensioner pulley
- Support, Cooling fan
- Universal joint
- Fan belt
Start by:
Remove the engine hood and gas-filled cylinder.
Suggestions for Removal
Make sure the muffler, engine, and exhaust pipe are cool enough to touch with your hand.
Installation
To install, follow the reverse of the removal procedure and take the following steps:
- After removing the belt, turn the fan to examine the bearings for abnormal noise. Replace the bearings if abnormally noisy.
- After installing the belt, push it inward midway between the pulleys to make sure the tensioner pulley moves freely before tightening the tensioner lock bolt and mounting bolt.

Inspection and Adjustment
Fan Belt Inspection
- Make sure the belt is free from oil, grease or other foreign matter. Replace the belt if necessary. A slightly dirty belt can be reused by cleaning with cloth or paper. Do not clean the belt with gasoline or the like.
- At the time of overhauling the engine or adjusting the belt tension, check the belt and replace it if defective.
Fan Belt Adjustment
- Loosen the tensioner lock bolt and mounting bolt.
- Insert a small-diameter bar (or screwdriver) into the tension adjustment hole for leverage, and adjust the belt tension
- Adjust the belt so that its deflection is 16 mm (0.6 in.) when the belt is pushed downward with 98 N (10 kg)[22 lbf] force exerted midway between the fan pulley and tensioner pulley.
- Tighten the tensioner lock bolt and mounting bolt.
- After the adjustment, install the fan guard. If cracks or other abnormalities are found in the fan guard, replace the fan guard.

NOTE: Be careful not to damage the radiator core with the bar (screwdriver) during belt tension adjustment.
Console Box
- Engine coolant temperature gauge
- Chock control
- Fuel gauge
- Service hour meter
- OK monitor
- Starter switch
- Lighting switch
- Fuse box

OK Monitor 
Function
| No. | Indicator light | OFF | ON or flickering | Remarks |
| 1 | Powershift transmission oil temp. indicator light | Normal | Overheating | Option |
| 2 | Air cleaner element indicator light | Normal | Clogged | Option |
| 3 | Brake fluid level indicator light | Normal | Low | |
| 4 | Engine oil pressure indicator light | Normal | Low | |
| 5 | The alternator not charging the indicator light | Normal | Abnormal | |
| 6 | Check engine light | Normal | Service Engine | 2004 Model |
| 7 | Engine coolant level indicator light | Normal | Low | Option |
How to check indicator light bulbs
The bulbs are normal if the indicator lights 1, 2, and 3 come ON when the starter switch key is turned to the (ON) position. (The indicator lights will go OFF when the engine starts.)
Disassembly and Reassembly
Console Box 
Disassembly
- Disconnect the electrical wires at connector 1. (In the gasoline models, disconnect the choke cable on the engine side.)
- Remove screws 2 (four) securing the cover.
- Remove screws 3 (six) and separate the front and rear panels.
- Remove screws 4 (four) securing the instrument panel.1. Disconnect the electrical wires at the connectors 1.(In the gasoline models, disconnect the choke cable on the engine side.) 2. Remove screws 2 (four) securing the cover. 3. Remove screws 3 (six) and separate the front and rear panels. 4. Remove screws 4 (four) securing the instrument panel.
NOTE: To replace the instrument panel bulbs, remove screws 3 and 4.
Reassembly: To reassemble the console box, follow the reverse of the disassembly procedure.
Components in Console Box
- Power relay
- Power relay
- Turn signal relay
- Lighting switch
- Starter switch
- Fuses
Combination Meter
Disassembly
Sequence
- Meter cover
- Dial
- Engine coolant temperature gauge
- Service hour meter
- Fuel gauge
- Meter case
- Printed circuit
- Bulb
- Socket
CAUTION: Be careful not to damage the printed circuit when disassembling the combination meter.
Reassembly: To reassemble the combination meter, follow the reverse of the disassembly procedure.
Bulb Replacement: For bulb replacement, remove the socket from the printed circuit by turning it to the left. For configuration of the indicator lights, refer to “OK Monitor”.
Major Electrical Components
Starter Switch (with Anti-Restart Lock) This switch has a built-in anti-restart lock, so the key cannot be turned from (ON) to the (START) position while the engine is running.

Lighting Switch
Fuse Box
| Code | Amp | Circuit |
| A | 10 A | SOLENOID (F-R) |
| B | 15 A | Stop lamp, turn signals, backup lamps |
| C | 15 A | Spare terminal |
| D | 15 A | Tail lamps, clearance lamps, working lamps (option), Instrument panel lamps |
| E | 15 A | Head lamps |
| F | 10 A | Spare fuse |
| G | 10 A | Horn |
| H | 15 A | Fuel pump relay |
| J | 10 A | Engine, ECU |
Spare Terminals
The spare terminal cord extends from the fuse box in the console box. (Another spare terminal is located on the chassis-side main harness.) Cord color Lg (yellowish green) Removing the console box rear panel will expose this spare terminal which is fastened to the harness protector with vinyl tape.
Battery Maintenance
State of charge and electrolyte-specific gravity adjustment
| The specific gravity reading at 20°C (68°F) | State of charge | Adjustment |
| 1.280 to 1.265 | Fully charged | If the difference in S.G. between any two cells is 0.020 or more, effect a high current discharge to minimize the difference and then recharge the battery. Adjust S.G. during recharging. |
| 1.260 to 1.225 | One-half charged | Recharge the battery and adjust the electrolyte S.G. Make sure there is neither faulty components, loosely connected cord nor corroded connection. |
| 1.220 or lower | Discharged | Recharge battery. If the difference in S.G. is large, adjust it during recharging. |
| If difference in S.G. is more than 0.040 | A cell with a low S.G. is in shorted condition. Recharge until voltage and S.G. stabilize and have remained constant for more than 2 hours. | During recharging, adjust the S.G. to 1.280 and 1.265. If the difference in S.G. is more than 0.040 and a low S.G. is found in certain cells only, replace battery. |
Specific gravity reading and state of charge To check the battery for state of charge, take hydrometer readings on its electrolyte. The battery may be fully charged if the S.G. reading is 1.280 to 1.265 at 20°C (68°F). The state of charge can be told from the way the electrolyte level goes down to expose the cell plates. If the addition of distilled water is necessary every month or so, the battery is overcharged. If addition is not required for more than 3 months, it is likely that the battery is inadequately charged.
Charging precautions
- In slow charging, the charging current should be about 1/10 the capacity of the battery to be charged.
- In quick charging, the battery capacity in the ampere should not be exceeded.
- During charging, adjust the charging current to prevent the electrolyte temperature from rising beyond 45°C (113°F).
- When connecting the cables to the battery, begin with the cable for the positive (+) terminal. When disconnecting them from the battery, begin with the cable for the negative (–) terminal.
CAUTION: Be sure to turn OFF the starter switch and lighting switch before disconnecting or connecting the battery cables to prevent the IC regulator from suffering damage.
Maintenance Free Battery
Maintenance Free Batteries do not require a specific gravity check but the following checks are required to extend the life of your battery:
- Visually inspect the battery for container, cover, or terminal damage that may have caused leakage of electrolyte or internal damage. If serious damage is found, replace the battery.
- Check the condition of the battery cables. Check for corrosion on the battery terminals and cable terminations. Make certain the ground cable is making a good connection where it is grounded, and likewise, check the connection of the cable to the starter relay and/or solenoid. Replace badly corroded cables or cables with defective terminations.
Lamp Bulb Specifications
Troubleshooting
Starter System
Gauges
Lighting System
Battery





Troubleshooting


















