ELAC DBR62 Debut Reference
Specifications
- ENCLOSURE TYPE: 2-Way Bass Reflex
- FREQUENCY RESPONSE: 44Hz – 35000Hz
- NOMINAL IMPEDANCE: 6 Ohms
- SENSITIVITY: 86db @ 2.83v/1m
- CROSSOVER FREQUENCY: 2200Hz
- MAX POWER INPUT: 120 Watts
- TWEETER: 1″ Cloth Dome
- WOOFER:5 Inch Aramid Fiber
- CABINET: CARB2 Rated MDF
- CABINET FINISH: White Baffle, Oak Cabinet or Black Baffle, Wallnut Cabinet
- PORT: Dual Flared
- BINDING POSTS: 5-Way Metal
- DIMENSIONS (W X H X D): 8.18” x 10.82” x 14.13”
- WEIGHT (LB. / KG):07 / 8.2
Introduction
No modest goals are set for the ELAC Debut Reference DBR62 bookshelf speaker. It aims to deliver audio fidelity (and fashionable appearance) that will alter the way you perceive listening to music at home, all for a price frequently associated with anonymously produced mass-market versions made of low-cost off-the-shelf components. The Debut Reference DBR62’s inspiring pedigree, which has its roots in ELAC’s original Debut Series, is responsible for the lofty aspirations. The ground-breaking line delighted engineer Andrew Jones. Rightfully so. After all, he created it from top to bottom, and for thousands of listeners, it redefined accessible high-end performance.
Safety Instructions
- General information
- Please read and follow these safety instructions.
- Keep them safe for future reference.
- Observe all warnings on the speaker and in the manual. Please check the speaker for damage before use. The speaker must be in perfect working condition. Damaged parts may lead to personal injury.
- Use only as directed
- Connect the speaker(s) according to the instructions in the manual.
- Many ELAC speakers are equipped with spikes and/or anti-slip feet. They are explicitly provided for leveling the speaker. For leveling on an uneven floor, unscrew the spikes or anti-slip feet by 2-3 turns of thread. The speaker should always be in perfect vertical alignment: the stability of the speaker must not be compromised by using spikes or anti-slip feet as the speaker may tip-over.
- Location
- Install the speakers on a level surface only
- When choosing the location of these speakers do not place them in locations that are:
- In direct sunlight
- Very humid
- Prone to vibrations
- Exceptionally hot or cold
- Near CRT Televisions (the speakers are not magnetically shielded and may cause color issues with a CRT based TV)
- Close to magnetic cards (Since the speakers are not magnetically shielded placing magnetic cards such as credit cards or commuter cards may cause them to fail).
WARNING! Please ensure the product is perfectly stable to avoid injury from tip-over. Please note, that stability can be increased by using spikes on carpeted surfaces. However, the mounting of spikes must be carried out carefully due to their very sharp ends which may cause injuries. The stability on slippery floors can be increased by using Velcro fastening tape or double-sided adhesive tape. Do not install the speaker near any heat sources such as radiators, heating valves, stoves, or other apparatus (including amplifiers) that produce heat, or in areas where there is a risk of explosion. - Do not block any ventilation openings. Install in accordance with the manufacturer’s instructions.
- Do not install the speaker in a closed rack or in a closed cupboard.
- Do not put burning candles on or near the speaker.
- Do not install the speaker near transformers because electromagnetic stray fields can cause hum noise on woofers.
- In combination with certain materials / lacquers / material surfaces, anti-slip feet or spike washers may cause colored imprints on the surfaces.
- Overload Extreme overload of the device due to very high volume may cause damage to individual components. Because of the possible danger, you should never leave loudspeakers under extreme overload conditions unattended.
- Service
DANGER! Do not open the cabinet because the components and conductors may carry current! Servicing to be carried out by qualified service personnel only. Servicing is required when the loudspeaker has been damaged in any way, such as damage to the power supply cord or the plug, or when liquid has been spilled or objects have fallen onto the loudspeaker, the speaker has been exposed to rain or moisture, does not operate normally, or has been dropped. To reduce the risk of electric shock, do not open the loudspeaker. Servicing should be carried out by qualified service personnel only. - Cleaning
NOTE: Clean only with soft, smooth cloth or with dust brush. Do not use scouring agents, alcohol, benzene, furniture polish or other agents for cleaning! Modern furniture is often coated with multiple varnishes and plastics which can be treated with chemical agents. Some of these agents contain substances which degrade or soften the rubber feet. Therefore we advise that you place an anti-slip mat underneath the loudspeaker(s). - Volume
CAUTION! Continuous high volume may cause severe damage to your hearing. Please listen responsibly. - Disposal The packaging is made from recyclable materials. Dispose of this in an environmentally friendly manner. At end of life do not dispose of the speaker(s) with standard household waste. The speaker must be recycled in accordance with local legislation. Ask your local government for further information on recycling as the device contains valuable raw materials. Disable the speaker(s) before disposal.
Philosophy
Thank you for purchasing this ELAC product.
Since the time we started (1926), ELAC has always striven to achieve the very best.
Your new ELAC speakers are built to the highest standards using high-quality components that are carefully constructed to deliver the best-in-class sound quality. They are developed by a passionate group of individuals whose soul purpose is to bring a new dimension of sound quality into your home. Enjoy!
Before Use
Avoid damage to the speakers and other components:
- Carefully unbox the speakers carefully to avoid physically damaging your speakers.
- Use appropriate gauge wires (minimum of 16 gauge wire for runs up to 25 feet).
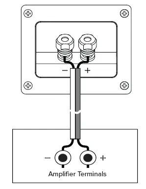
- Make sure wire polarity is connected correctly. Most speaker cables are coded for ease of use. Make sure positive (red) connection on the amplifier terminal is connected to the positive (red) on your speakers. Follow the same instructions for the negative side. Strip off approximately 1/2”of the insulation from the ends of the speaker cable, twist the bare strands and insert into the binding post.
- Ensure your equipment is turned off before connecting speakers.
- Check to ensure positive and negative wires are not touching each other once they’re connected to the speaker terminals.

Outrigger Feet & Spike Installation (DFR52 Only)
Using the included out trigger feet provide a wider support base for speaker cabinet. The included spikes improve stability on uneven surfaces and thickly carpeted floors. Please, use caution when dealing with spikes as they are sharp.
IMPORTANT! In order to prevent scratching or damage the cabinet, turn the speaker upside down onto a soft surface while you attach the outrigger feet and spikes. We highly recommend a second person help with this process.
- Attach the outrigger feet with provided machine screws (see fig. A).

- Screw in the spikes as shown in FIG.B. The speaker can now be turn back over. Please, be careful when handling the speaker with the spikes installed. If you have hard wood tile floors, please use the provided floor discs (fig. B).

- Using the supplied allen wrench adjust the height of the spikes until the speaker sits level and all four spikes are touching the floor (fig. C).

- Once the speaker is level, use the supplied covers to lock the spikes into place (fig. D).

Installing and Removing the Grills
The mesh grills of your Debut Reference speakers are designed to be removable if desired. To remove it, hold the top or bottom edges of the grill and pull gently. To replace the grill, align the edges of the grills with the edges of the cabinet. The grill will be positioned and hold in place by the magnets incorporated in the grill.
Speaker Placement
Achieve maximum performance and optimal sound quality from your ELAC Reference speakers with proper speaker placement and set-up. While not all rooms are the same, use the following guidelines to configure the speakers for your particular room. There are no “exact” rules or boundaries in setting up your speakers but the following suggestions will help optimize your desired results. Remember the best sound set-up is what sounds best for you so don’t be afraid to experiment and make adjustments to the placement and directivity of the speakers.

Place the speakers approximately one to two feet away (fig. 1) from boundaries such as wall(s) and especially corners. Close proximity to a side or rear wall will enhance bass performance (output), but being too close (particularly to a corner) may result in bass that is unnatural. If a corner location is unavoidable, try to position the loudspeaker so that the distance to the rear wall is not equal to the distance to the side wall.
Stereo Setup
- For the best results and the most realistic stereo image and lifelike sound, place the speakers so that an equilateral triangle (fig. 2) is created between the speakers and your favorite listening position. This set up creates the optimum imaging performance.
- If you find that your DBR62 or DFR52 left and right speakers are too far apart, angle (toe in) them towards the listening position to gain a more focused central image.

Surround Sound Setup
Whether you use the DBR62 bookshelf or the DFR52 floorstanding speakers for a 5.1-channel surround set-up, avoid placing the surround speakers forward of your listening position. The surround speakers should be spread apart wider than the front speakers. In addition, elevate the speakers to the same height or slightly higher as the front speakers for the most enveloping sound field. Like the front speakers, you may need to experiment with the positioning by pointing the rear surround speakers towards the listening area.

Center Speaker Setup
The ELAC DCR52 center channel speaker is designed to produce dialog sounds and should be positioned above or below (fig. 3) your television. Align it with the center of the television. As much as possible, try to keep the DCR52 close to the same level (height) as your front speakers for a more even sound stage. Keeping the same height for the center channel can be very challenging so it might be necessary to tilt the center speaker up (if too low) or down (if too high), to aim it towards the listening area.

Optimal results for the center are obtained by setting the receiver/processor center channel size to small. If you have a choice, set the crossover frequency to 80Hz.
ELAC Americas Inc.
North America Limited Liability Warranty
Passive Speakers (No Built-in Amplifier)
ELAC Americas Inc. warrants to the original purchaser that this product be free from defects and or workmanship for a period of 3 (Three) years from the original date of purchase. During this time period, repair or replacement of parts will be free of charge to the original owner (See below limitations). Shipping to and return from the repair center will be the responsibility of the original purchaser.
Limitations
- Warranty begins on the date of original purchase from an authorized ELAC Americas Inc. dealer.
- Product is warranted only if used in home applications within the max power rating specified in this manual. Commercial use of this product is not warranted.
- Product that has been modified or altered in anyway will not be warranted.
- Product that has been abused or subjected to faulty equipment will not be warranted.
- Products with defaced or removed serial numbers will not be warranted.
If service is required
In the event that service is required, please contact ELAC America at 888-541-0996 or at [email protected] to arrange for service or replacement. You will be responsible to provide proof of purchase (Copy or original sales receipt). Shipping to and from our repair center will be the responsibility of the original purchaser.
Warranty Outside of North America
This warranty applies to products purchased in the United States and Canada. For warranty claims outside of North America please contact the local dealer/distributor in the country of purchase.
FREQUENTLY ASKED QUESTIONS
A bookshelf loudspeaker (or bookshelf speaker) is a compact loudspeaker that is intended to be positioned on a raised surface, such as a bookshelf. It is often supplied as part of a shelf stereo pair or home theatre package for consumer-grade home audio applications.
This proves that not all bookshelf speakers are created equal and that a standalone subwoofer doesn’t always need to be used for the optimum audio quality. All things considered, a subwoofer is not always necessary for bookshelf speaker systems to function well.
Most bookshelf speakers are made to be a part of a larger audio system and provide mid-range, bi-directional sound. In that sense, bookshelf speakers thrive for stereo but fall short for offering a whole musical experience. Floor-standing speakers may produce a full stereo signal because to their design.
Active bookshelf speakers can operate without an amplifier. But for passive bookshelf speakers to perform well, an amplifier is required. Active bookshelf speakers come with an amplifier built in; passive speakers do not. If a passive bookshelf speaker is used without an amp, it will be incredibly quiet.
Bookshelf speakers may actually amplify a space just as well as tower speakers. Simply put, they don’t typically reach as low as towers do.
No. Deep bass bookcases are a rare sight. Some speakers may go as low as 50 Hz, but you’ll need a big woofer or several of little woofers if you want one that goes as low as 20 Hz (the range of audible sound).
Once you’ve decided on a basic listening location, position your speakers such that they form an equilateral triangle with it. Aim for a 4 foot separation for bookshelf speakers and an 8 foot separation for floor-standing speakers.
They don’t take up as much visual or physical space as larger tower speakers, and they don’t produce as much bass. However, for the majority of listeners and musical genres, a good set of bookshelf speakers will provide a satisfyingly complete sound. (And if you really want more bass, you can frequently add a subwoofer.)
Bookshelf speakers ought to be set up on a shelf, table, or other elevated surface rather than the floor. They are designed to improve sound in small- to medium-sized.
More than simply its electronic components affect a speaker’s pricing. High-end speakers can be more expensive depending on their design, the type of materials used, their weight and durability, and even their branding. People frequently underestimate how important these things are.
Cheap speakers should last up to five years under normal circumstances, or more if they’re maintained. High-end speakers have a far longer lifespan and, with careful maintenance, can last for several decades.
Bookshelf speakers often produce better sound than Soundbars because of their larger speaker drivers and real speaker cabinets. Some soundbars offer premium sound quality, especially in 3.1 and 5.1 variations.
Excellent bookshelf speakers are adored by many audiophiles who appreciate small-scale music (such as a jazz quartet). Their lower size may make them appear to disappear more than a tower when you set them on stands away from your walls, giving you a superb three-dimensional sound stage.









![Eld Fleet R3002 User Manual [raven] Eld Fleet R3002 User Manual [raven]](https://static-data1.manualsee.com/1/img/386/122310/2021/04/ELD-Fleet-R3002-featured-1568x763.png)













