smeg KDD90CNE Down Extractor Installation Guide

Warning! Before proceeding with installation, read the safety information in the User Manual.
















![]()
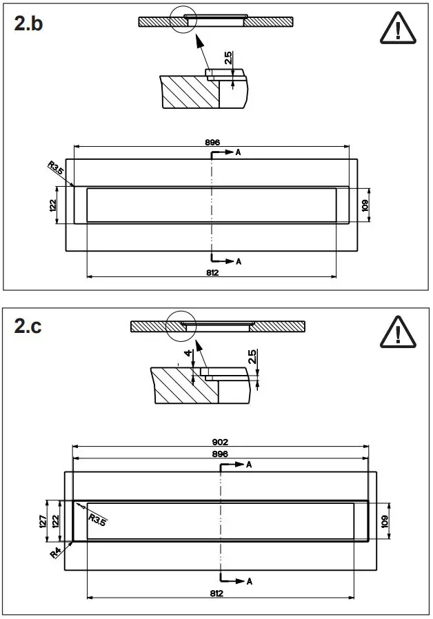
smeg KDD90CNE Down Extractor Installation Guide

Warning! Before proceeding with installation, read the safety information in the User Manual.
















![]()
Download manual
Here you can download full pdf version of manual, it may contain additional safety instructions, warranty information, FCC rules, etc.