Royal Gourmet SE2801 28 Inch Electric Smoker with 1500 Watt Heating Element

28-INCH ELECTRIC SMOKER WITH 1500-WATT HEATING ELEMENT ASSEMBLY GUIDE
FOR YOUR SAFETY!
Use outdoors only! Do not use it inside a building, garage, or any other enclosed space. Read the instructions before assembling and using the appliance.
DO NOT use the smoker unless ii is completely assembled, and all the parts are securely fastened. This smoker will become very hot, do not move it during use. Keep away from children and pets.
CONTACT US FIRST!
This smoker has been made to high quality standards.
If you have any questions that are not addressed in this Owner’s Manual, or you need parts, please call our customer service hotline or send an email to [email protected]
Please keep this Owner’s Manual for future reference.

Parts Diagram & Parts and Hardware List

| Ref I | Description | Illustration | QTY [ |
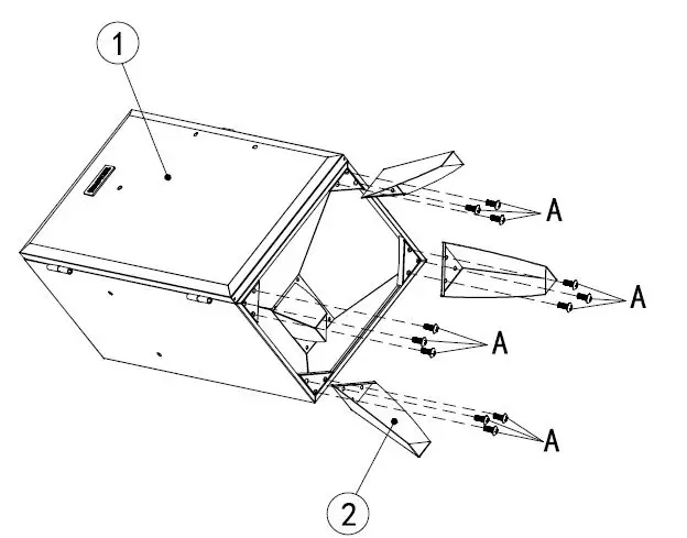
| .1 | Smoker body H-KE162801 | ![]() ![]() | 1 |
| 2. | Leg Z-KE162811 | ![]() | 4 |
| 3. | Side handle W-KE162801 | ![]() | 2 |
| 4. | Door handle W-CC183001 W-CC183002 | ![]() | 1 |
| 5. | Thermometer W-KE162813 | ![]() | 1 |
| 6. | Drip tray base Z-KE162810 | ![]() | 1 |
| 7. | Wood chip box & lid W-KE162811 | ![]() | 1 | |||
| 8. | Wood chip box grate W-KE162803 | ![]() | 1 | |||
| 9. | Water pan W-KE162816 | ![]() | 1 | |||
| 10. | Cooking grate W-KE162802 | 3 | ||||
| 11. | Drip tray W-KE162809 | 1 | ||||
![]() | ||||||
| 12. | Thermostat controller W-KE162808 | ![]() | 1 | |||
| M6x15 | 18 pcs | B | M4x10 | 4 pcs | C I | foot | Leveling screw | 4 pc | s | ||||||||
![]() | ![]() | ![]() | |||||||||||||||
| TOOLS REQUIRED | |
| Description | Image |
| Phillips screwdriver | ![]() |
Before beginning assembly, make sure all parts are present. If any parts are missing or damaged, do not attempt to assemble the products. Contact customer service for replacement parts via telephone or email.
- Tools needed (not included): Phillips screwdriver and wrench
- Approximate assembly time: 15 minutes
- Note:
- The right and left sides of the grill are designed as if you are facing the front of the grill.
- Model shown for illustration purpose only, specific please in kind prevail.










































