Masterbuilt MB20077618 Electric Smoker

Welcome to the family. Let’s get started.
Electric Smoker
- Manual applies to the following model number(s)
- MB20077618
- Your model number
- Mfg. Date – Serial Number
These numbers are located on the rating label of the unit.
IMPORTANT
- Please record this information immediately and keep in a safe place for future use.
WARNING
This manual contains important information necessary for the proper assembly and safe use of the appliance. Read and follow all warnings and instructions before assembling and using the appliance. Follow all warnings and instructions when using the appliance. Keep this manual for future reference.
- Failure to follow these instructions could result in fire, explosion or burn hazard which could cause property damage, personal injury, or death.
GENERAL WARNINGS AND SAFETY INFORMATION
READ ALL INSTRUCTIONS
- Unit is for OUTDOOR HOUSEHOLD USE ONLY.
- Never use inside enclosed areas such as patios, garages, buildings, or tents.
- Never use inside recreational vehicles or on boats.
- Never operate unit under overhead construction such as roof coverings, carports, awnings, or overhangs.
- Never use unit as a heater (READ CARBON MONOXIDE HAZARD).
- Maintain a minimum distance of 10 ft (3 m) from overhead construction, walls, rails, or other structures.
- Keep a minimum 10 ft (3 m) clearance of all combustible materials such as wood, dry plants, grass, brush, paper, or canvas.
- Keep appliance clear and free from combustible materials such as gasoline and other flammable vapors and liquids.
- Use unit on a level, non-combustible, stable surface such as dirt, concrete, brick, or rock.
- Unit MUST be on the ground. Do not place unit on tables or counters. Do NOT move unit across uneven surfaces.
- Do not use unit on wooden or flammable surfaces.
- Do not leave unit unattended.
- Never use unit for anything other than its intended use. This unit is NOT for commercial use.
WARNINGS & IMPORTANT SAFEGUARDS CONTINUED FROM
- Keep a fire extinguisher accessible at all times while operating unit.
- Before each use check all nuts, screws, and bolts, to make sure they are tight and secure.
- Use of alcohol, prescription, or non-prescription drugs may impair user’s ability to properly assemble or safely operate unit.
- Keep children and pets away from unit at all times. Do NOT allow children to use unit. Close supervision is necessary should children or pets be in the area where unit is being used.
- Do NOT allow anyone to conduct activities around unit during, or following, its use until it has cooled.
- Avoid bumping or impacting unit.
- Never move unit when in use. Allow unit to cool completely (below 115° F (45° C)) before moving or storing.
- The unit is HOT while in use, and will remain HOT for a period of time afterwards and during cooling process. Use CAUTION. Wear protective gloves/mitts.
- Do not touch HOT surfaces. Use handles or knobs.
- Do not use wood pellets.
- Never use glass, plastic, or ceramic cookware in unit. Never place empty cookware in unit while in use.
- Accessory attachments not supplied by Masterbuilt Manufacturing, LLC are NOT recommended, and may cause injury.
- Wood chip bowl is HOT when unit is in use. Use caution when adding wood.
- Be careful when removing food from unit. All surfaces are HOT and may cause burns. Use protective gloves, or long, sturdy cooking tools.
- Always use unit in accordance with all applicable local, state, and federal fire codes.
- Dispose of cold ashes by placing them in aluminum foil, soaking with water, and discarding in a non-combustible container.
- Do not store unit with HOT ashes inside unit. Store only when all surfaces are cold.
- Store product indoors when not in use, out of reach of children.
- When using electrical appliances, basic safety precautions should always be followed, including the following:
- Do not plug in electric smoker until fully assembled and ready for use.
- Use only approved grounded electrical outlet.
- Do not use during an electrical storm.
- Do not expose electric smoker to rain or water at anytime.
- To protect against electrical shock, do not immerse cord, plug, or control panel in water or other liquid.
- Do not operate any appliance with a damaged cord or plug, or after appliance malfunctions, or has been damaged in any manner. Contact Masterbuilt Customer Service for assistance at 1- 800-489-1581.
- Longer, detachable power-supply cords, or extension cords, may be used if care is exercised in their use.
- If a longer detachable power-supply cord or extension cord is used: 1. The marked electrical rating of the cord set or extension cord should be at least as great as the electrical rating of the appliance; and 2. The cord should be arranged so that it will not drape over the counter top or tabletop where it can be pulled by children or tripped over unintentionally.
- The extension cord must be a grounding type 3-wire cord.
- Outdoor extension cords must be used with outdoor use products and are marked with suffix “W” and with the statement “Suitable for Use with Outdoor Appliances.”
- CAUTION – To reduce the risk of electric shock, keep extension cord connection dry and off the ground.
- Do not let cord hang on or touch hot surfaces.
- Do not place on or near a hot gas or electric burner, or in a heated oven.
- Fuel, such as charcoal briquettes or heat pellets are not to be used in electric smoker.
- Always turn control knob to “OFF” before connecting to power outlet.
- To disconnect, turn control knob to “OFF”, then remove plug from power outlet.
- Unplug from outlet when not in use and before cleaning. Allow unit to cool completely before adding/removing racks, drip cup or water bowl.
- Drip cup is only for the bottom of electric smoker. Do not put drip cup on rack. This may damage electric smoker.
- Do not cover racks with metal foil. This will trap heat and cause severe damage to electric smoker.
- Do not clean this product with a water sprayer or the like.
SAVE THESE INSTRUCTIONS
STRUCTURAL PROXIMITY AND SAFETY USAGE RECOMMENDATIONS
- REMINDER: NEVER OPERATE THIS SMOKER UNDER ANY OVERHEAD CONSTRUCTION. MAINTAIN A MINIMUM DISTANCE OF 10 FEET FROM OVERHEAD CONSTRUCTION, WALLS OR RAILS.
WARNING: ELECTRIC POWER CORD IS A TRIP HAZARD
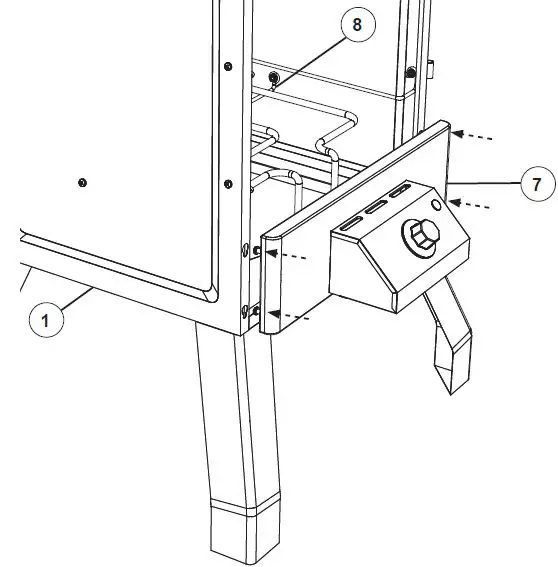
PARTS LIST

| NO. | QTY. QTÉ CANT.: | DESCRIPTION |
| 1 | 1 | Smoker Body |
| 2 | 1 | Door |
| 3 | 1 | Temperature Gauge |
| 4 | 1 | Door Handle |
| 5 | 2 | Side Handle |
| 6 | 4 | Leg |
| 7 | 1 | Control Panel/w Element |
| 8 | 1 | Element Support |
| 9 | 1 | Drip Cup |
HARDWARE

- BEFORE ASSEMBLY READ ALL INSTRUCTIONS CAREFULLY.
- ASSEMBLE UNIT ON A CLEAN, FLAT SURFACE.
- TOOLS NEEDED: Adjustable Wrench, Phillips Head Screwdriver.
- Approximate assembly time: 25 minutes.
- Actual product may differ from picture shown.
- It is possible that some assembly steps have been completed in the factory.
STOP!
DO NOT RETURN TO RETAILER for assembly assistance, missing or damaged parts. Please contact MASTERBUILT customer service at 1-800-489-1581 or www.masterbuilt.com/pages/support. Please have the model number and serial number available. These numbers are located on the silver rating label on the unit.
ASSEMBLY





- Rest element on element support. Tighten control panel screws once panel is seated on body.

Note: Wood chip bowl and water bowl MUST be in place when using smoker. This minimizes the chance of wood flare ups.

MASTERBUILT TIPS FOR SUCCESSFUL SMOKING
- This is a slow smoker… allow sufficient time for cooking.
- Pre-season smoker prior to first use. See PRE-SEASON INSTRUCTIONS.
- Pre-heat smoker for 30 to 45 minutes at max temperature before loading food.
- DO NOT cover racks with aluminum foil as this will not allow heat to circulate properly.
- Do not overload smoker with food. Extra large amounts of food may trap heat, extend cooking time and cause uneven cooking. Leave space between food on racks and smoker sides to ensure proper heat circulation. If utilizing cooking pans, place pans on center of rack to ensure even cooking. Never use glass, plastic or ceramic cookware in unit.
- Extreme cold temperatures may extend cooking times.
- Check drip cup often during cooking. Empty drip cup before it gets full. Drip cup may need to be emptied periodically during cooking.
- Do not open smoker door unless necessary. Opening smoker door causes heat to escape and may cause wood to flare up. Closing the door will stabilize the temperature and stop flare up.
- When outside temperature is cooler than 65° F (18° C), and/or altitude is above 3,500 feet (1067 m), additional cooking time may be required. To insure that meat is completely cooked, use a meat thermometer to test internal temperature.
- CLEAN AFTER EVERY USE. This will extend the life of your smoker and prevent mold and mildew. See HOW TO CLEAN AND STORE SMOKER instructions.
CAUTION
When door is opened, a flare up may occur. Should wood chips flare up, immediately close door and vent, wait for wood chips to burn down, then open door again. Do not spray with water.
TIPS FOR USING WOOD CHIPS
- There can be a lot of smoke produced when using wood chips. Smoke will escape through seams and turn the inside of smoker black. This is normal.
- Wood chips must be used in order to produce smoke and create the smoke flavor. Never use more than 1 cup of wood chips at a time. Never use wood chunks.
- Wood chips should be level with top rim of wood chip bowl.
- You may use dry or pre-soaked wood chips in your smoker. Dry chips will burn faster and produce more intense smoke. Chips pre-soaked in water (for approximately 30 minutes) will burn slower and produce a less intense smoke.
- If wood chips do not smoke on low setting, increase temperature. After 8 to 10 minutes or when wood chips begin to smolder, reduce temperature to desired low setting.
- Check wood chip bowl periodically to see if wood has burned down. Add more chips as needed.
- Do not leave old wood ashes in the wood chip bowl. Once ashes are cold, empty bowl. Bowl should be cleaned out prior to, and after each use to prevent ash buildup.
HOW TO USE WATER BOWL
- Wait until smoker reaches desired temperature.
- Fill water bowl with water, or liquids like apple or pineapple juice.
- You can also add slices of fruit, onions, or fresh dried herbs into the water to blend subtle flavors into your smoked food.
Tip: For chicken, or other foods high in moisture, little or no liquid is needed.
PRE-SEASON INSTRUCTIONS
PRE-SEASON SMOKER PRIOR TO FIRST USE. Some smoke may appear during this time, this is normal.
- Make sure the water pan is in place WITHOUT WATER.
- Set temperature to MED, and run unit for 3 hours.
- To complete pre-seasoning, during last 45 minutes, add 1 cup of wood chips in wood chip bowl.
- Shut down and allow to cool. Some smoke may appear during this time. This is normal.
HOW TO CLEAN AND STORE SMOKER
- Be sure to clean smoker after each use. Make sure your smoker is unplugged and completely cool.
- For rack supports, racks, water bowl, and drip cup, use a mild dish detergent. Rinse and dry thoroughly.
- For the wood chip bowl, clean frequently to remove ash buildup, residue, and dust.
- Dispose of cold ashes by placing them in aluminum foil, soaking with water and discarding in a non-combustible container.
- For the interior and exterior of the smoker, simply wipe down with a damp cloth. Do not use a cleaning agent. Make sure to dry thoroughly.
- After cleaning, store the smoker in a covered, dry area.
- When not in frequent use, and when using a cover, remember to check your smoker periodically to avoid possible rust and corrosion due to moisture buildup.
ALWAYS MAKE SURE UNIT IS COOL TO THE TOUCH BEFORE CLEANING AND STORING IT.
OPERATING INSTRUCTIONS

- Step 1: Plug power cord into an outlet. Refer to “General Warnings & Safety Information” section of manual.
- Step 2: Turn dial to set temperature. Ready light will turn off when unit has reached set temperature and is ready for use.
- Step 3: When cooking time has elapsed, and food is done, turn dial to OFF and unplug power cord from outlet.
- Allow excess grease to drain into drip cup.3
TROUBLESHOOTING GUIDE
Smoked Pork Butt
- 1 pork butt (7 lbs)
- ½ tsp salt
- ¼ cup brown sugar
- 2 tbsp chili powder
- Mix ingredients and rub onto pork butt.
- Preheat smoker to 225° F.
- Smoke pork butt for 5 hours, using wood chips during the first 3 hours.
- After 5 hours, remove pork butt and wrap in heavy foil.
- Return pork butt to smoker and cook for an additional 1 to 1½ hours, or until internal temperature reaches 160° F.
Cajun Smoked Chicken
- 6 large boneless, skinless chicken breasts
- 6 tbsp extra virgin olive oil
- 6 tbsp red wine vinegar
- 1½ tbsp Cajun seasoning, divided
- 1 tbsp Jane’s Krazy Mixed-Up Salt
- 1 large sweet onion, sliced
- 3 tbsp liquid shrimp boil
- Pierce each piece of chicken with a fork on both sides.
- Drizzle both sides well with olive oil and red wine vinegar.
- Sprinkle with ½ tbsp of Cajun seasoning.
- Place chicken in a 1-gallon resealable plastic bag overnight, or at least 3 to 4 hours, in the refrigerator.
- Remove from refrigerator and sprinkle with Krazy salt and remaining 1 tbsp of Cajun seasoning.
- Fill water bowl with water and add sweet onion slices and liquid shrimp boil.
- Preheat smoker to 225° F.
- Place chicken on lower rack and smoke for 45 minutes per pound, or until internal temperature reaches 165° F.
- Serve whole or slice in strips.
Masterbuilt 1-Year Limited Warranty
- Masterbuilt warrants its products to be free from defects in material and workmanship under proper assembly, normal use and recommended care for 1 year from the date of original retail purchase. The Masterbuilt warranty does not cover paint finish as it may burn off during normal use. The Masterbuilt warranty does not cover rust. Masterbuilt requires proof of purchase for warranty claim, such as a receipt. Upon the expiration of such warranty, all such liability shall terminate.
- Within the stated warranty period, Masterbuilt, at its discretion, shall replace defective components free of charge, with the owner being responsible for shipping. Should Masterbuilt require return of component(s) in question for inspection, Masterbuilt will be responsible for shipping charges to return requested item. This warranty excludes property damage sustained due to misuse, abuse, accident, or damage arising out of transportation.
- This express warranty is the sole warranty given by Masterbuilt and is in lieu of all other warranties, expressed or implied including implied warranty, merchantability, or fitness for a particular purpose. Neither Masterbuilt nor the retail establishment selling this product has authority to make any warranties or to promise any remedies in addition to or inconsistent with those stated above. Masterbuilt’s maximum liability, in any event, shall not exceed the purchase price of the product paid by the original consumer/ purchaser. Some states do not allow the exclusion or limitation of incidental or consequential damages. In such a case, the above limitations or exclusions may not be applicable.
- California residents only: Not withstanding this limitation of warranty, the following specific restrictions apply; if service, repair, or replacement of the product is not commercially practical, the retailer selling the product or Masterbuilt will refund the purchase price paid for the product, less the amount directly attributable to use by the original buyer prior to the discovery of the nonconformity. Owner may take the product to the retail establishment selling this product in order to obtain performance under warranty. This express warranty gives you specific legal rights, and you may also have other rights which vary from state to state.
Visit masterbuilt.com or complete form below and return to: Attn: Warranty Registration Masterbuilt Manufacturing, LLC 1 Masterbuilt Court | Columbus, GA 31907
- Name:
- Address:
- City:
- State/Province:
- Phone Number:
- E-mail Address:
- Model Number:
- Serial
- Number:
- Purchase Date:
- Place of Purchase:
- Model Number and Serial Number are located on silver label on back of smoker.
Customer Service
- masterbuilt.com/pages/support
- Masterbuilt Manufacturing, LLC 1 Masterbuilt Court | Columbus, GA | 31907
- @masterbuilt
- 1.800.489.1581
- masterbuilt.com

Download PDF: Masterbuilt MB20077618 Electric Smoker User Guide



















