![]()

Quick Start Guide
MS5208
Digital Insulation Multimeter
CAT III 1000V
1 YEAR
LIMITED WARRANTY
700019229 June 2021 Rev. 1
Specifications are subject to change without notification.

![]()
Special attention should be paid when using the test and measurement instrument because improper usage may cause electric shock and damage the equipment.
- Use proper measurement category (CAT), voltage, and amperage-rated probes, test leads, and adapters for the measurement.
- Do not use or store the device around explosive gas, vapor, or under high temperature and humidity.
- When handling the test probes and crocodile clips, keep your fingers behind the physical guard.
- Examine the measuring test leads (if present) before use. Any element of which the insulation deteriorates (even partially), replace them with proper functional test leads.
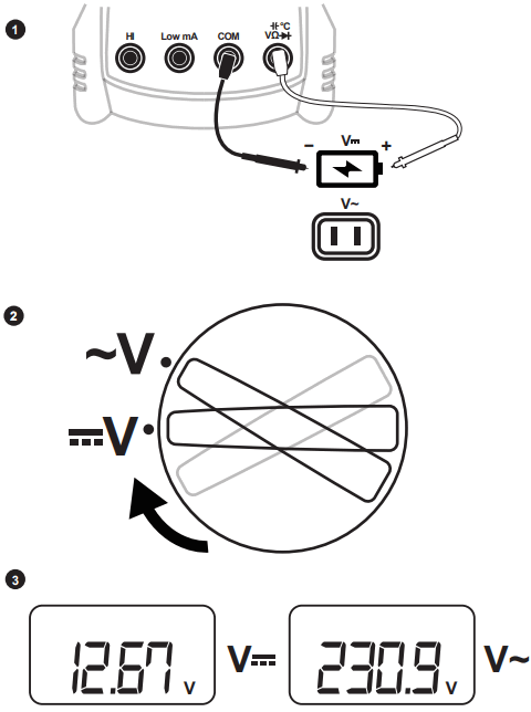
- Connect the common test lead before the live test lead and remove the live test lead before the common test lead.
- Before measuring current, make sure the instrument fuses available and disconnect the power supply to the circuit test
- Remove the batteries if the device is not used for an extended period of time, or if stored in temperatures above 45 °C. If the batteries are not removed, battery leakage can damage the device.
Contents

Specifications
| Range | Resolution | Accuracy | |
| V~ | 660mV/6.6V/66V/660V/750V | 0.1mV/1mV/10mV/0.1V/1V | ±(1.5%+30) |
| V | 660mV/6.6V/66V/660V/1000V | 0.1mV/1mV/10mV/0.1V/1V | ±(0.5%+5) |
| A~ | 66mA/400mA | 10μA/0.1mA | ±(1.5%+30) |
| A | 66mA/400mA | 10μA/0.1mA | ±(1.0%+5) |
| Ω | 660Ω/6.6kΩ/66kΩ/660kΩ 6.6MΩ/66MΩ | 0.1Ω/1Ω/10Ω/0.1kΩ 1kΩ/10kΩ | ±(1.2%+5) ±(2.0%+20) |
| 66nF/660nF/6.6μF/66μF 660μF/6.6mF/66mF | 10pF/0.1nF/1nF/10nF 0.1μF/1μF/10μF | ±(5.0%+20) ±(5.0%+20) | |
| Hz% | 660.0Hz/6.600kHz/66.00kHz >10kHz | 0.1Hz/1Hz/10Hz 10Hz | ±(1.5%+5) Reference |
| °C/°F | -30℃~1300℃ -22℉~2372℉ | 1℃ 1℉ | ±(1.0%+2) ±(1.0%+4) |
![]()

V
V~

A
A~

Hz/Duty

![]()

![]()

°C/°F

Insulation


| USA MGL AMERICA, INC. 2810 Coliseum Centre Drive, Ste. 100 Charlotte, North Carolina 28217 USA Tel: +1 833-533-5899 Email: [email protected] | UNITED KINGDOM MGL GROUP U.K. LIMITED 14 Weller St, London, SE1 1QU, UK Tel: +34 985-08-18-70 Email: [email protected] |
SKU Number: MS5208CBGLO
http://www.mastech-group.com/support.php?n=0




















