SO9420 Intense Comfort Hot
Instruction Manual
Please read the instructions and safety guidelines carefully before using the product. Retain the instructions for future reference. For your safety, this appliance complies with all applicable standards and regulations (Low Voltage, Electromagnetic Compatibility, Environmental directives, etc.).
This product can only be used in well-insulated places and on an occasional basis.
Please read the instruction manual and safety instructions carefully before using the appliance and keep the instruction manual for reference.
SAFETY INSTRUCTIONS
- Before use, always check that the appliance, plug, and power cord are in good condition
- The device must be used under normal operating conditions as defined in these instructions.
- WARNING: In order to avoid overheating, DO NOT COVER the heater.

- Do not use this heater if it has been dropped;
- Do not use if there are visible signs of damage to the heater;
- Use this heater on a horizontal and stable surface, or fix it to the wall, as applicable.
- Children of less than 3 years should be kept away unless continuously supervised.
- The heater must not be located immediately below a socket outlet.
- Do not use this heater in the immediate surroundings of a bath, a shower or a swimming pool.
- WARNING: Do not use this heater in small rooms when they are occupied by persons not capable of leaving the room on their own unless constant supervision is provided.
- WARNING: To reduce the risk of fire, keep textiles, curtains, or any other flammable material a minimum distance of 1 m from the air outlet.
- Never allow water to get into the appliance.
- Do not touch the appliance with wet hands.
- Never insert objects into the appliance (e.g. needles…).
- If the supply cord is damaged, it must be replaced by the manufacturer, its service agent, or similarly qualified persons in order to avoid a hazard.
- For maintenance and adjustment operations, please refer to the user guide supplied with the manual.
For countries subject to European regulations (
) :
- Children aged from 3 years and less than 8 years shall only switch on/off the appliance provided that it has been placed or installed in its intended normal operating position and they have been given supervision or instruction concerning the use of the appliance in a safe way and understand the hazards involved. Children aged from 3 years and less than 8 years shall not plug in, regulate and clean the appliance or perform user maintenance.
- CAUTION: Some parts of this product can become very hot and cause burns. Particular attention has to be given where children and vulnerable people are present.
- This appliance can be used by children aged 8 years and above and persons with reduced physical, sensory or mental capabilities or lack of experience and knowledge if they have been given supervision or instruction concerning the use of the appliance in a safe way and understand the hazards involved. Children shall not play with appliances.
- Cleaning and user maintenance shall not be made by children without supervision.
- The remote control uses a 1 x 3 V button cell (CR2032).
- Batteries are to be inserted with the correct polarity as shown in the battery compartment.
- The battery terminals must not be short-circuited.
- Keep away from fire.
- IMPORTANT: you are advised to switch off and unplug the appliance when not in use. When storing the appliance for a longer period of time, please remove the batteries from the remote control.
- Put the device in standby mode and unplug the device from the mains prior to replacing the battery.
- Follow the battery manufacturer’s instructions when installing new batteries.
- Please find more information in the User Guide document to activate the battery.
For other countries : - This appliance is not intended for use by persons (including children) with reduced physical, sensory or mental capabilities, or lack of experience and knowledge unless they have been given supervision or instruction concerning the use of the appliance by a person responsible for their safety. Children should be supervised to ensure that they do not play with the appliance.
RECOMMENDATIONS
- The electrical facilities of the room, as well as the installation and use of the appliance, must comply with the standards in force in your country.
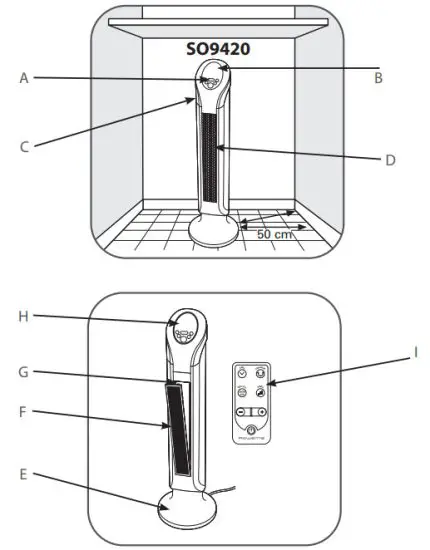
- Do not use your appliance near inflammable objects or products. In general, you should always place the appliance at least 50 cm away from any object (walls, curtains, aerosols, etc.).
- The appliance must be installed so that the main power socket is accessible.
- Do not pull on the power cord or the appliance, even when unplugging it from a wall socket.
- Never use the appliance in an inclined or horizontal position.
- This appliance is designed for indoor domestic household use only. In case of professional use, inappropriate use or failure to comply with the instructions, the manufacturer accepts no responsibility and the guarantee does not apply.
- Always unroll the power cord completely before use.
- Do not use an extension cable that is not adapted to the voltage of your appliance.
- Do not use the appliance in a dusty room or a location where there is a risk of fire.
- This appliance must not be used in a humid environment.
- Never use the appliance without its filter (if it is equipped with one).
- Switch off the appliance and unplug it before cleaning or storing it.
- The warranty will be invalidated if damage occurs due to incorrect use.
FIRST USE
Before first use, ensure that the voltage, frequency, and power of your appliance are suitable for your electrical supply.
Your appliance can function using an unearthed plug. It is a class II (double insulation
).
Before switching on your appliance, ensure that :
- the appliance is completely assembled as described in the safety instructions,
- the appliance is placed on a stable, horizontal surface,
- the appliance is positioned in accordance with the instructions given in this manual,
- The air intake and outlet grills are completely unobstructed.
When you use the appliance for the first time, it may temporarily release a faint odor and smoke (this is perfectly normal for new appliances: it will disappear after a few minutes).
IMPORTANT
: You are advised to unplug the appliance when not in use.
N.B.: In the event of abnormal overheating, safety devices automatically shut down the appliance and then restart it once it has cooled down.
If the problem continues or gets worse, take the appliance to an approved service center.
IN CASE OF ANY PROBLEM
Do not disassemble the appliance yourself. A poorly repaired appliance may be dangerous for the user.
Do not use the appliance and contact an Approved Service Centre if :
- your appliance has been dropped;
- your appliance or its power cord are damaged;
- your appliance no longer functions properly.
You can find a list of Approved Service Centres on the ROWENTA and TEFAL international warranty cards.
HELP PROTECT THE ENVIRONMENT!
Your appliance contains many materials which can be recovered or recycled.
Take it to a collection point or an approved service center for processing.
For the battery: help us look after the environment, by not throwing away your used batteries. Instead, bring them to anyone of the special battery collection points. Do not throw them away with your household waste.
These instructions can also be found on our internet site, at www.rowenta.com and www.tefal.com.

A. Control panel
B. Carrying handle
C. Air outlet screen
D. Air inlet screen(with filter)

A – Control panel
B -Remote control slot
C – Display screen
D – Air outlet grille
EON / OFF switch
F – Air intake grill
G – Removable and washable filter
H – Carrying handle
I – Remote control

















