intelbras XFSO ONU Holder

ONU HolderCongratulations, you have just purchased a product with Intelbras quality and safety.The ONU Holder is designed to ensure quality and organization during ONU installation at the customer’s home. By using the ONU Holder you ensure the integrity of the connectors for all ONU connections, especially that of the fiber optic cable. In addition, it also holds a fiber optic reserve, which helps in case there is a need for maintenance.
Care and Safety
- Read the installation guide: all safety and handling instructions should be read before starting operations with the product and should be kept for future reference.
- Safety in transport and handling: high pressures or violent vibrations are not allowed during transport, storage or use.
- Heed the warnings: follow all the instructions indicated in the guide.
- LGPD – General Personal Data Protection Law: Intelbras does not access, transfer, capture, or otherwise process personal data from this product.
Product
Dimensions

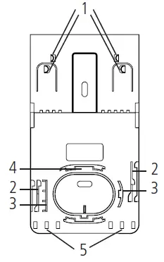
ONU Holder Details

- ONU holder latch
- Place to pass the power cable;
- Place to pass the network cable;
- Rosette;
- Slots for plastic cable ties.
Installation
Attaching the Holder to the Wall
- The Intelbras ONU Holder can be fixed to the wall in two ways. Using good quality double-sided tape or with screws. The fixing accessories are not included with the product.
- For double-sided tape attachment, use the spaces at the back of the holder´s base to stick the tape.
- For screw fixing, use the spaces designated for fixing on the base.
See below the spacing of the fixing holes.
Mounting the ONU on the Holder
- Check which ONU cabinet model will be used based on the images below:

- According to the cabinet model that will be used, check the image below for the locks that are used to fit each of the models above:

- With the locks identified, align the base lock with the spacing on the ONU. The image below shows the spacing for Model 1:

- With the ONU Holder and theONU aligned, slide the ONU into the central region of the holder. This will result in the ONU being fixed on the holder, as shown in the following figure:

- For the ONU Model 1 cabinet, the locks that are used for the Model 2 will be pushed back as soon as the ONU is docked on the base of the holder, as shown in the picture below:

For the next steps, the ONU Model 1 cabinet will be used as an example, but the steps are similar if the Model 2 cabinet is used.
Cable installation
- Three cables should be installed: drop compact fiber optic cable, network cable, and ONU power cable. Starting with the compact drop cable, after installing the field connector, reserve approximately 90 cm, as illustrated in the figure below:

- With the reserved length, start winding it onto the Rosette of the holder, starting at the base and with the field connector latch facing down.After approximately 5 turns of cable, plug the field connector into the ONU inle resulting in the image below:

- After installing the optical cable, connect the network cable to the RJ45 connector on the ONU, passing the cable through the side of the holder, as illustrated in the following image:

- The last cable that should be installed is the power cable. Connect it to the ONU power inlet and pass the cable through the slot, indicated by item 2 in the holder details figure. After this step, the mounting will be as shown in the picture below:

- To finish the cable installation, use plastic ties1 to make the cable accommodation more robust.

Not included with the product.
Cover fitting
- To finish, place the cover over the base and slide it down, thus concluding the ONU Holder assembly:

Warranty Terms
It is hereby expressly stated that this contractual warranty is conferred under the following conditions:
Name of client:
Client signature:Invoice No.:
Date of purchase:
Serial
No.:
Model: Retailer:
- All parts, pieces and components of the product are guaranteed against eventual manufacturing defects, which they may eventually present, for a period of 1 (one) year – this being 90 (ninety) days of legal guarantee and 9 (nine) months of contractual guarantee -, as from the date of purchase of the product by the Consumer, as shown on the invoice for the purchase of the product, which is an integral part of this Term throughout the entire national territory. This contractual warranty includes the free replacement of parts, pieces, and components that present manufacturing defects, including the expenses for the labor used in this repair. If no manufacturing defect is found, but defect(s) arising from improper use, the Consumer will bear these expenses.
- The product´s installation should be done according to the Product Manual and/or Installation Guide. If your product requires installation and configuration by a qualified technician, look for a competent and specialized professional, considering that the costs for these services are not included in the product’s price.
- Once the defect is confirmed, the Consumer must immediately contact the nearest Authorized Service listed by the manufacturer – only these are authorized to examine and repair the defect during the warranty period foreseen herein. If this is not done, this warranty will be void, since it will be characterized as a violation of the product.
- In the event that the Consumer requests home assistance, he or she must go to the nearest Authorized Service to inquire about the technical visit fee. If it is necessary to remove the product, the resulting expenses, such as transportation and security costs to and from of the product, will be the Consumer´s responsibility.
- The warranty will totally lose its validity in the occurrence of any of the following hypotheses: a) if the defect is not of manufacturing, but caused by the Consumer or by third parties not related to the manufacturer; b) if the damage to the product comes from accidents, disasters, nature agents (lightning, flooding, landslides, etc.), humidity, voltage in the electrical network (overvoltage caused by accidents or excessive fluctuations in the network), installation/use in disagreement with the user’s manual or resulting from the natural wear and tear of the parts and components; c) if the product has suffered chemical, electromagnetic, electrical or animal (insects, etc.) influence; d) if the product’s serial number has been tampered with or scraped; e) if the device has been breached.
- This warranty does not cover data loss, therefore it is recommended, if applicable to the product, that the Consumer make a backup copy of the data on the product on a regular basis.
- Intelbras is not responsible for the installation of this product, nor for any attempts of fraud and/or sabotage on its products. Keep the software updates and applications used up-to-date, if relevant, as well as the network protections required for protection against intrusions (hackers). The equipment is guaranteed against vices within its normal conditions of use, and it is important to be aware that, because it is an electronic equipment, it is not free of frauds and scams that may interfere with its correct operation.
- After its useful lifespan, the product must be delivered to an Intelbras authorized service center or directly disposed of in an environmentally appropriate manner, avoiding environmental and health impacts. If you prefer, the battery as well as other Intelbras brand electronics without use, can be discarded at any Green Eletron collection point (manager of electro-electronic waste with whom we are associated). If you have any questions about the reverse logistics process, please contact us by phone (48) 2106-0006 or 0800 704 2767 (Monday to Friday from 8am to 8pm and on Saturdays from 8am to 6pm) or by e-mail [email protected].
All images in this manual are illustrative.
Customer Support: (48) 2106 0006
Forum: forum.intelbras.com.br
Support via chat: intelbras.com.br/suporte-tecnico Support via e-mail: [email protected]
Customer Service: 0800 7042767
Where to buy? Who installs?: 0800 7245115
Produced by: Intelbras S/A – Indústria de Telecomunicação Eletrônica Brasileira Rodovia SC 281, km 4,5 – Sertão do Maruim – São José/SC – 88122-001 CNPJ 82.901.000/0014-41 – www.intelbras.com.br






























