NIGHTHAWK AX6600 AX8 8-Stream AX6200 Tri-Band WiFi 6 Router

Product Information
The Nighthawk router by NETGEAR is a high-performance router designed to provide fast and reliable internet connectivity. The router features advanced security options such as NETGEAR Armor, which protects your devices from online threats. It also comes with a mobile app that allows you to easily set up and manage your network. The router has five LEDs on the front panel that indicate power, internet connectivity, and Wi-Fi signal strength. It also has a WPS button for easy device pairing and a Wi-Fi on/off button to turn off the Wi-Fi when not in use.
Product Usage Instructions
- Download the Nighthawk app on your mobile device and follow the setup instructions to install your router.
- Use the Security tile in the Nighthawk app to activate your free trial of NETGEAR Armor and secure your devices.
- Explore the Nighthawk app to access additional features such as pausing the internet, running a speed test, and setting up Smart Parental Controls.
- If you already own another NETGEAR router and have used the Nighthawk app before, go to the dashboard and tap > NEW SETUP to install your new router.
- If you experience any issues with your router, visit netgear.com/support to get answers to your questions and access the latest downloads. You can also join the NETGEAR Community at community.netgear.com for helpful advice.
Package Contents
- Nighthawk Router
- Ethernet cable
- Power adapter (varies by region)
- Additional plug adapters (may be included)
LED Indicators
The following LED indicators are located on the front panel of the router:
- Power LED
- Internet LED
- 2.4 GHz WiFi LED
- 5 GHz 1 WiFi LED
- 5 GHz 2 WiFi LED
The following buttons are located on the router:
- WiFi On/Off button with LED
- WPS button with LED
- LED On/Off button
- Reset button
Troubleshooting
If you encounter any issues during the installation or use of your Nighthawk router, visit netgear.com/router help for additional support.
Instructions
- Download the Nighthawk app to install your router
On your mobile phone, download the Nighthawk app and follow the setup instructions.
- Secure your devices with NETGEAR Armor
NETGEAR Armor™ powered by Bitdefender® provides best-in-class cybersecurity protection for your smart devices, smartphones, and computers.
Tap the Security tile in your Nighthawk app to explore your free trial.
- Do more with the app
Check out everything you can do on the Nighthawk app! Pause the Internet, run a speed test, set Smart Parental Controls, and more.
Contents
- Router

- Ethernet cable

- Power adapter
(varies by region)
(Your package might contain additional plug adapters.)
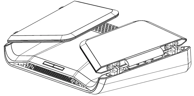
Overview
- Power LED
- Internet LED
- 2.4 GHz WiFi LED
- 5 GHz 1 WiFi LED
- 5 GHz 2 WiFi LED
- Ethernet Ports 1–4 LEDs
- USB 3.0 LED

- A WiFi On/Off button with LED
- B WPS button with LED
- C LED On/Off button
- D Reset button
- E Internet port
- F Ethernet ports 1–4
- G USB 3.0 port
- H Power On/Off button
- I Power connector
Troubleshooting
If you’re having problems with the installation, try the following:
- Turn off your modem and router and disconnect them. Restart your modem. Reconnect your router to your modem, and try installing with the Nighthawk app again.
- If you’re still unable to install your router using the Nighthawk app, manually install it using the router web interface.
Visit http://www.routerlogin.net to access the router web interface.
If you already own another NETGEAR router and you used the Nighthawk app before, go to the dashboard and tap > NEW SETUP to install your new router. For more information, visit netgear.com/routerhelp.
Support and Community
Visit netgear.com/support to get your questions answered and access the latest downloads.
You can also check out our NETGEAR Community for helpful advice at community.netgear.com.
Regulatory and Legal
Si ce produit est vendu au Canada, vous pouvez accéder à ce document en français canadien à https://www.netgear.com/support/download/.
(If this product is sold in Canada, you can access this document in Canadian French at https://www.netgear.com/support/download/.)
For regulatory compliance information including the EU Declaration of Conformity, visit https://www.netgear.com/about/regulatory/.
See the regulatory compliance document before connecting the power supply.
For NETGEAR’s Privacy Policy, visit https://www.netgear.com/about/privacy-policy. By using this device, you are agreeing to NETGEAR’s Terms and Conditions at https://www.netgear.com/about/terms-and-conditions. If you do not agree, return the device to your place of purchase within your return period.
NETGEAR, Inc.
350 East Plumeria Drive
San Jose, CA 95134, USA
NETGEAR INTERNATIONAL LTD Floor 1, Building 3,
University Technology Centre Curraheen Road, Cork, T12EF21, Ireland
© NETGEAR, Inc., NETGEAR and the NETGEAR Logo are trademarks of NETGEAR, Inc. Any non-NETGEAR trademarks are used for reference purposes only.
References
English - NETGEAR Communities
I’m having trouble installing my NETGEAR router; what do I do? | Answer | NETGEAR Support
NETGEAR Support | NETGEAR
Router Login & Setup | NETGEAR
NETGEAR Privacy Policy | NETGEAR
Regulatory | NETGEAR
NETGEAR Terms and Conditions | NETGEAR
Download Center | Downloads and Documentation | NETGEAR
























