MacroAir AVDX Ceiling Fan
Product Information
MacroAir AVDX Fan
The MacroAir AVDX Fan is a high-volume low-speed fan designed for industrial and commercial applications. It is energy-efficient and can be used to improve air quality and circulation in large spaces, such as warehouses, factories, and gymnasiums. The fan comes with various mounting options, control systems, and safety features to meet different installation requirements and user preferences.
Product Usage Instructions
MacroAir AVDX Fan
Before installing the MacroAir AVDX Fan, please read and follow the instructions provided in the Installation Manual. Make sure you have all the components and tools required for the installation.
Pre-Installation Checklist
Complete the Pre-Installation Checklist to verify the order information, power requirements, safety features, airfoil compatibility, and other installation details.
product Installing the Fan
Follow these steps to install the MacroAir AVDX Fan:
- Determine the best location for the fan based on the air circulation needs, safety requirements, and clearance specifications.
- Select the appropriate mounting option (Universal Mount or Rapid Mount Industrial) and install the mounting brackets on the ceiling or I-beam/girder.
- Attach the motor unit to the mounting brackets using the provided hardware and ensure that it is leveled and securely fastened.
- Install the fan blades and safety link assembly according to the instructions provided in the manual. Make sure the blades are balanced and aligned correctly.
- Connect the electrical cables and safety cables to the motor unit and control panel. Follow the wiring diagram provided in the manual and use appropriate wire connectors and conduit.
- Mount the wall controller or touchpad remote according to the instructions provided in the manual. Test the control system to ensure that it is functioning correctly.
- Perform motor calibration as needed using the control panel or remote.
- Install guy wires (if applicable) to ensure stability and safety of the fan.
product Maintenance and Troubleshooting
Regular maintenance of the MacroAir AVDX Fan is essential to ensure optimal performance and longevity. Refer to the Maintenance section of the manual for detailed instructions on cleaning, lubrication, and inspection procedures. If you encounter any issues with the fan, refer to the Troubleshooting section of the manual for common problems and solutions. If the issue persists, contact MacroAir technical support for assistance.
product Warranty
The MacroAir AVDX Fan comes with a limited warranty. Refer to the Warranty section of the manual for details on coverage, exclusions, and claim procedures.
Pre-Installation Checklist
Literature (Pg. 3)
- Order Verification. I have verified the order information. All components are accounted for.
- Read. I have read this Installation Manual and all other instructions before installing this fan
Power (Pg. 3-4)
- Power Requirements. I have verified the incoming power supply is sufficient for the fan.
Safety (Pg. 4-5)
- Safety Familiarity. I am familiar with the safety components and features of the fan. I have verified the presence of a safety cable, safety retainer links and guy wires (if applicable).
Airfoils (Pg. 5-7)
- Height from Floor. I have verified the airfoils will be at least 10ft (3.05 m) above the floor.
- Application Clearance. I have consulted the manual to determine that the airfoils will meet or exceed the clearance requirements regarding obstructions, or other fans.
- Airfoil Reach. I have verified the airfoils will be mounted such that they are at least 3 feet away from any area where someone can extend outward and reach them.
- High Winds. I have verified the fan will not be subjected to high winds from any outside influences, such as large garage door openings or HVAC systems.
- Diffuser Interference. If diffusers are present, I will ensure that the fan is mounted at least 1.5X the diameter of the fan away from any source of airflow.
- Airfoil Compatibility. I have verified the Airfoils and other fan components are those that shipped with the motor unit.
- Installing Multiple Fans. I will not mix and match any hardware or blades.
Structure (Pg. 6-8)
- Application Suitability. I have verified the application was approved by a structural engineer. I have checked the hanging weight and torque specs in the installation manual to ensure that the mounting structure can withstand the forces generated by the fan.
- Structural Suitability. I have verified the building structure is suitable for this fan mounting. The fan will be mounted to an I-beam or Glulam or similar. I will not mount the fan to a single purlin, truss, or bar joist. I will consult a structural engineer for mounting not covered herein.
- Mount Suitability. I have the appropriate mount for this application. I have verified in the installation manual that the mounting option provided is suitable for this application. I will consult a structural engineer for applications and mounting methods not covered herein.
Introduction
Caution and Safety
This appliance can be used by children aged from 8 years and above and persons with reduced physical, sensory, or mental capabilities or lack of experience and knowledge if they have been given supervision or instruction concerning use of the appliance in a safe way and understand the hazards involved.
Children shall not play with the appliance. Cleaning and user maintenance shall not be made by children without supervision.
ATTENTION: Safety. READ AND SAVE THE ENTIRE MANUAL BEFORE OPERATING THE FAN.
Ensure that all safety procedures and instructions are followed during the installation, operation, and servicing of the fan. Failure to apply these safety practices could result in death or serious injury. If you do not understand the instructions, please call our technical department for guidance.
CAUTION: Non-Compliance. The fan installation should follow the recommendations outlined in this manual. MacroAir is not responsible for any injury or damage to persons or property because of ‘not complying’ with the recommendations outlined in the manual.
Electrical Guidelines
WARNING: Electrical Damage. Improper electrical installation can cause damage to the fan and interfere with other electronic equipment. In addition to standard electrical safety considerations, please observe the following:
- MacroAir Cables. The wiring from the control panel to the fan MUST be by MacroAir supplied shielded cable.
- Electrical Interference. Separate incoming power and motor control cables by a minimum of six (6) inches.
- Individual Fan Wiring. Run wiring for each fan separately.
- Multiple Fans. Do not attempt to control multiple fans from one (1) control panel.
- ALWAYS GROUND PROPERLY. Connect the supplied cable glands to each end of the motor cable and tighten them securely at both the fan motor and control panel ends. Connect the ground bar in the control panel to ground at the main breaker and test.
- Read. Please refer to the installation instructions for more information.
ATTENTION: Qualified Technicians. All fan controls should only be installed by qualified technicians familiar with the requirements of the National Electrical Code (NEC) and local codes. Refer to appropriate portions of this manual for other important requirements. Failure to follow
ATTENTION: Factory Configured. All electrical controls are configured at the factory and are ready to use. No user adjustments are available. Follow the included wiring schematics and installation instructions when installing this device to ensure proper operation. Do not make any changes to any part of the motor control panel without first consulting MacroAir.
ATTENTION: Code Compliance. Installation is to be in accordance with the NEC, ANDSI/NFPA 70-1999 and local codes.
Hazard of Electrical Shock, Explosion or Arc Flash:
ATTENTION: Read. Read and understand this manual before installing or operating a fan unit. Installation, adjustment, repair, and maintenance must be performed by qualified personnel.
ATTENTION: Code Compliance. The user is responsible for compliance with all international and National Electrical Code requirements with respect to grounding of all equipment.
WARNING: Do Not Touch. Many of the parts of this unit operate at line voltage. DO NOT TOUCH.
WARNING: Covers. Install all covers before applying power or starting and stopping the unit.
Installation and Service
WARNING: Damage. Do not operate or install any fans or fan accessories that appear to be damaged.
WARNING: Death and Injury. Failure to follow this instruction can result in death, serious injury, or equipment damage.
WARNING: Disconnect Power. If the fan does not operate properly using the procedures in this manual. BE CERTAIN TO REMOVE ALL POWER TO THE UNIT and contact our technical department for further assistance.
CAUTION: Moving Parts. Keep all body parts clear of moving parts at all times.
ATTENTION: Qualified Technicians. All electrical troubleshooting and repair must be done by a qualified technician and meet all applicable codes.
Key Safety Systems
ATTENTION: Safety. MacroAir fans are engineered with key safety features to prevent pieces of the fan from falling in the unlikely event of a catastrophic failure. Used together, these systems and devices provide comprehensive protection to people, equipment, and property.
WARNING: Safety Cable and Guy Wires. Install safety cable on EVERY fan. Install guy wires on every fan, unless otherwise specified. Properly installing the guy wires will keep the fan stable in case of earthquake or in “outdoor” installations where high wind conditions may occur. The safety cable, if installed per MacroAir specifications, will prevent the fan from falling in the unlikely event that the mounting system should fail.
WARNING: Safety Cable. A MacroAir fan should never be run without a properly installed safety cable, which is supplied with every fan along with all required hardware. You must install a safety cable for the warranty to be in effect.
WARNING: Blade Safety Links. Install the complete set of extended blade safety links, which connect each blade to the adjacent blades and reinforce the area between the mounting holes. This is an important precautionary measure which will help prevent a blade from falling should one break off at the hub for any reason.
ATTENTION: Mark the Floor to Alert Personnel. When mounting a fan in an area where materials may be elevated into its path, MacroAir recommends marking or painting the floor with a large cross hatched circle to alert personnel of the overhead location of fans.
Mounting Guidelines
WARNING: Weight Considerations. We recommend that a building structure be capable of holding approximately twice the stated hanging weight of the fan. If there is some doubt of this, a professional contractor or architect should perform a thorough evaluation of the building prior to purchasing the fans. MacroAir provides guidelines for mounting fans; however, it is the sole responsibility of the building owner and installer to ensure the safety of the mounting system, that the building structure is sound, and that the installation complies with all federal, state, and local codes.
WARNING: Torque. The maximum torque (twisting force) that must be handled by the mounting system, including the building structure, occurs at fan startup. For a 24-foot fan, maximum potential starting torque is 137 Ft-Lbs. When standard electrical controls are installed, the fan will never begin to approach this maximum because the standard variable-speed control system uses the soft-start fail, or when a fan is installed as a single-speed model without the variable speed control system (rare), full torque might be applied to the mounting system, so it is important that it be adequate to withstand 137 Ft-Lbs. torque.
ATTENTION: Check Federal, State, and Local Codes. Check all relevant codes to make sure that all product certifications, product listings, and building regulations are met. Code compliance is the responsibility of the installer.
WARNING: Welding. DO NOT attach the fan or fan mounting components to the building structure by welding that component to the structure. DO NOT cement the fan to the structure.
Clearance Guidelines
ATTENTION: Sprinkler Systems and Fan Placement. In any installation where fire sprinklers are in place, do not interfere with their correct operation. Fans should be located no less than 3 feet below a sprinkler and placed central to each sprinkler quadrant.
ATTENTION: Sprinkler Systems and Code Compliance. Prior to installing fans, review all codes applicable to sprinkler systems and fans to ensure code compliance. Refer to the wiring diagrams packaged inside the control panel for proper installation. If further advice is needed, you may contact our support staff. However, it is your sole responsibility to see that the installation is completed to code and is correct.
General Information on Fan Placement and Spacing
ATTENTION: Strobe and Performance. If possible, avoid mounting fans directly below lights or skylights to avoid any strobe effect caused by moving blades. A large fan, 20-24 feet in diameter, performs best at 20 to 30 feet above the floor, but acceptable performance has been demonstrated as low as 10 feet and as high as 50 feet.
WARNING: Mezzanine Placement. If the building has a mezzanine, fans should be mounted so a person cannot reach a fan in any way from the upper level/deck. Make certain that fans are positioned so that blade tips are at least 3 feet away from any area where a person may be able to extend outward to reach them. 
Figure 1: Fan Clearance and Placement
ATTENTION: The minimum distance of a fan to a wall or similar obstruction should be no less than 1.5 times the diameter of the fan. Reference Figure 1.
Universal Mount (Standard)
Figure 2: Fan Clearance (h/v see Fig 4) Note: Guy wires not shown.
| Slope (in) | 0 | 2/12 | 4/12 | 6/12 | 8/12 | 10/12 |
| Roof Angle | 0 | 9.5 | 18.4 | 26.6 | 33.7 | 39.8 |
| Diameter | Recommended Total Drop (Mount to Airfoil) Length (ft) | |||||
| 8 feet | 3 | 3 | 3 | 3 | 4 | 5 |
| 10 feet | 3 | 3 | 3 | 4 | 5 | 6 |
| 12 feet | 3 | 3 | 3 | 5 | 6 | 7 |
| 14 feet | 3 | 3 | 4 | 5 | 7 | 8 |
| 16 feet | 3 | 3 | 4 | 6 | 7 | 9 |
| 18 feet | 3 | 3 | 5 | 7 | 8 | N/A** |
| 20 feet | 3 | 4 | 5 | 7 | 9 | N/A** |
| 24 feet | 3 | 4 | 7 | 9 | N/A** | N/A** |
Figure 3: Maximum Angle ** Drop longer than 10ft not recommended.
| Airfoil / Drop Length (ft) | 3’ (std) | 4’ | 5’ | 6’ | 7’ | 8’ | 9’ | 10’ |
| 8 feet | 7/7 | 7/7 | 7/7 | 8/8 | 8/8 | 9/8 | 11/9 | 13/10 |
| 10 feet | 7/7 | 7/8 | 7/8 | 8/8 | 8/9 | 9/9 | 11/10 | 13/11 |
| 12 feet | 7/8 | 7/8 | 7/9 | 8/9 | 8/10 | 9/10 | 11/11 | 13/12 |
| 14 feet | 7/9 | 7/9 | 7/10 | 8/10 | 8/11 | 9/12 | 11/12 | 13/13 |
| 16 feet | 7/10 | 7/11 | 7/11 | 8/12 | 8/12 | 9/13 | 11/14 | 13/15 |
| 18 feet | 7/12 | 7/12 | 7/13 | 8/13 | 8/14 | 9/15 | 11/16 | 13/17 |
| 20 feet | 7/14 | 7/14 | 7/15 | 8/15 | 8/16 | 9/17 | 11/18 | 13/20 |
| 24 feet | 7/19 | 7/19 | 7/20 | 8/21 | 8/22 | 9/23 | 11/24 | 13/26 |
Figure 4: Minimum Clearance, Horizontal/Vertical (h/v) inches (ref Fig 2.)
WARNING: FANS ARE NOT MEANT TO BE OPERATED IN WINDY CONDITIONS.
The goal of Figures 2 and 5 are to determine the proper extension length to maintain a minimum blade clearance of 3 feet for optimal performance. The extension lengths above are minimum recommendations only, based solely on roof pitch and fan diameter. Other factors must be evaluated when determining extension requirements.
ATTENTION: Minimum Height. MacroAir requires that the fan blades must be a minimum of 10 feet (3.05 meters) above the floor. Contact MacroAir for assistance with fan placement and extension selection.
Rapid Mount Industrial (optional) 
Figure 5: Fan Clearance (h/v see Fig 7)
Note: Guy wires not shown.
| Slope (in) | 0 | 2/12 | 4/12 | 6/12 | 8/12 | 10/12 |
| Roof Angle | 0 | 9.5 | 18.4 | 26.6 | 33.7 | 39.8 |
| Diameter | Recommended Total Drop (Mount to Airfoil) Length (ft) | |||||
| 8 feet | 3 | 3 | 3 | 4 | 5 | 6 |
| 10 feet | 3 | 3 | 4 | 5 | 6 | 8 |
| 12 feet | 3 | 3 | 5 | 6 | 7 | 9 |
| 14 feet | 3 | 4 | 5 | 7 | 9 | N/A* |
| 16 feet | 3 | 4 | 6 | 8 | 10 | N/A* |
| 18 feet | 3 | 5 | 7 | 9 | N/A* | N/A* |
| 20 feet | 3 | 5 | 7 | 10 | N/A* | N/A* |
| 24 feet | 4 | 6 | 9 | N/A* | N/A* | N/A* |
Figure 6: Maximum Angle
* Need Universal Mt with Guy Wires
| Airfoil / Drop Length (ft) | 3’ (std) | 4’ | 5’ | 6’ | 7’ | 8’ | 9’ | 10’ |
| 8 feet | 11/14 | 13/14 | 15/15 | 17/15 | 19/16 | 22/17 | 25/17 | 29/18 |
| 10 feet | 11/16 | 13/17 | 15/17 | 17/18 | 19/18 | 22/19 | 25/20 | 29/21 |
| 12 feet | 11/19 | 13/19 | 15/19 | 17/20 | 19/21 | 22/22 | 25/23 | 29/24 |
| 14 feet | 11/21 | 13/22 | 15/22 | 17/23 | 19/24 | 22/25 | 25/26 | 29/27 |
| 16 feet | 11/24 | 13/24 | 15/25 | 17/26 | 19/27 | 22/28 | 25/29 | 29/31 |
| 18 feet | 11/27 | 13/28 | 15/28 | 17/29 | 19/30 | 22/31 | 25/33 | 29/34 |
| 20 feet | 11/31 | 13/31 | 15/32 | 17/33 | 19/34 | 22/35 | 25/37 | 29/38 |
| 24 feet | 11/39 | 13/40 | 15/20 | 17/42 | 19/43 | 22/44 | 25/46 | 29/48 |
Figure 7: Minimum Clearance, Horizontal/Vertical (h/v) inches (ref Fig 5.)
ATTENTION: Minimum Height. MacroAir requires that the fan blades must be a minimum of 10 feet (3.05 meters) above the floor. Contact MacroAir for assistance with fan placement and extension selection.
Installing the Fan
Fan Dimensions 
Dimensions listed above are applicable to all MacroAir AVDX fans.
I-Beam/Glulam Chart
The Min Range dimension is determined by using the inside slots of the Universal Mount or Rapid Mount Bracket. The Max Range by using the outside slots of the bracket. The Mid-Range by using a combination of inside slots on one side and the outside slots on the other.
| Std Universal Mount/I-Beam Size Chart | |||||
| Min Range | Mid-Range | Max Range | |||
| Min | Max | Min | Max | Min | Max |
| 6.50-7.50” | 7.88-8.88” | 9.25-10.25” | |||
| Extra-Wide Universal Mount/I-Beam | |||||
| 11.76-13.26” | 13.39-14.89” | 15.02-16.52” | |||
| Rapid Mount/I-Beam | |||||
| 6.50-7.50” | 7.88-9.38” | 10.25-11.25” | |||
| Std Universal Mount/Glulam Size Chart | |||||
| Min Range | Mid-Range | Max Range | |||
| Min | Max | Min | Max | Min | Max |
| 5.13-5.75” | 5.63-7.13” | 7.00-8.50” | |||
| Extra-Wide Universal Mount/Glulam | |||||
| 9.51–11.51” | 11.14-13.14” | 13.77–14.77” | |||
| Rapid Mount/Glulam | |||||
| 5.13-5.75” | 5.63-7.63” | 8.00-9.50” | |||
Installation Overview
Max Amp Draw / Fuse Size
| MAX AMP DRAW FROM SUPPLY TO VFD / FUSE SIZE | ||||||||
| VOLTAGE and PHASE | AVDX FAN | |||||||
| 8FT | 10FT | 12FT | 14FT | 16FT | 18FT | 20FT | 24FT | |
| 208-240VAC / 1 PH | 5.8A/10A | 7.2A/15A | 9.4A/15A | 9A /15A | 8.7A /15A | 8.4A /15A | 10.5A /15A | 13A /20A |
| 208-240VAC / 3 PH | 3.6A/10A | 4A/10A | 5.1A/10A | 5.8A /10A | 6.1A /10A | 5A /10A | 6.2A /10A | 8.7A /10A |
| 400-480VAC / 3 PH | 1.3A/5A | 1.6A/5A | 1.9A/5A | 2A /5A | 2A /5A | 2A /5A | 2.5A /5A | 3A /5A |
Note: Fuses listed are fast acting fuses.
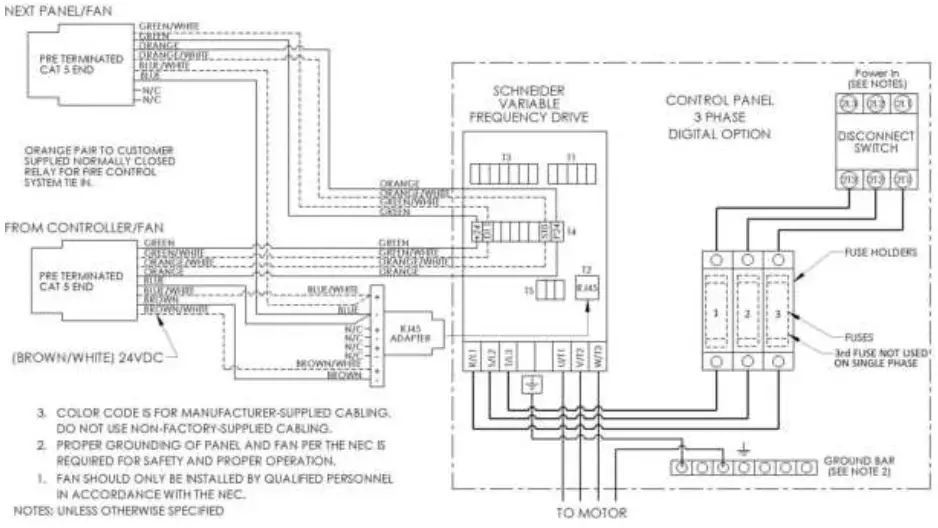
Network Wiring Instructions
MacroAir AVDX fans are wired in a daisy chain with one CAT5e from the controller/previous fan into an RJ45 port on the control panel, and one CAT5e going to the next fan from the second RJ45 port on the panel. The internal panel wiring does not need to be modified for communications.
A properly wired daisy chain network will have the CAT5e network ran per the below illustration.
For clarification of approved networking principles and methods for installing MacroAir Fans, refer to the MacroAir control panel instructions included with your MacroAir Control Panel. 
Fan Components
ATTENTION: Guy Wires shown in this view are required when a Universal Mount is used to mount the fan and may be used as an option when a Rapid Mount is used. 
Images are not to scale.
Mounts & Components 
Images are not to scale.
Glulam Brackets (optional)
Hardware Required but Not Provided:
(4) 1/2”-13 Grade 5 Hex Bolts (at least
2- 1/2” longer than Glulam)
(8) 1/2” Flat Washers
(4) 1/2” Nylon Lock Nuts
Safety Cable Kit
(1) Wire Rope 3/16”
(2) Wire Rope Clamps
Guy Wire Assembly
(4) Wire Rope, 19ft (A), 23ft (B*), 33ft (C*)
(4) Turn Buckles
(4) 1/4” Quick Links
(8) Wire Rope Clamps
* Kits B and C provided with longer drop lengths
Guy Wire Band Kit **
(1) Elastic Cord
(1) Cord Clip
**Used when Guy Wires are installed.
ATTENTION: Guy Wires are required when a Universal Mount is used to mount the fan and may be used as an option when a Rapid Mount is used. Images are not to scale.
Control Panel & Components
- CAT5E Stranded Shielded Cable

- Motor Cable

- Control Panel —– (Physical Enclosure 12”x12”x8”)

- Motor Cable Gland
(Installed by customer)
- Digital Touchpad Remote

- Local Override Remote
(Optional: see pg47 of this manual)
Images are not to scale.
Tools Required 
Note: A drill and drill bits will also be required when mounting brackets and control panel to Glulam
Images are not to scale.
I-Beam Installation Overview
- Mount Fan Unit to base of Universal Mount or Rapid Mount (not shown) using hardware pack, combination wrench, and socket wrench.
- The Safety Cable needs to be fed around I-Beam and through fan unit frame.
- The Control Panel must be secured to the I-Beam at least 5 feet outside of the swept area.
Installing the Fan
I-Beam Mounting
This method is recommended for I-beams 6-1/2” or wider.
- Hand tighten Nuts to secure Clamp and Shim in place.

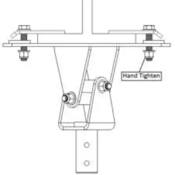
Note: Universal Mount shown in these instruction Views. The same instructions apply to the Rapid Mount (not shown). - Assemble one side of I-Beam Mount with (1) Clamp, (1) Shim and Hardware.
I- Beam Clamps & I-Beam Bolt Kit
(2) I-Beam Clamps
(2) I-Beam Shims
(4) Hex Bolts 1/2”-13×2-1/2”
(8) Washers, 1/2” Flat
(4) Hex Nuts 1/2”-13, Nylon Lock
- Position the Universal Mount or Rapid Mount (not shown) under the I-Beam so that one side of the beam is between the clamp and the mount.

- Assemble other side of I-Beam Mount with (1) Clamp, (1) Shim and Hardware.

- Hand tighten nuts to secure Clamp and Shim in place.

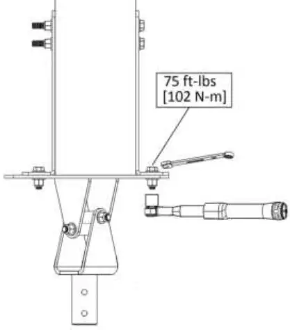
- Center the Universal Mount or Rapid Mount (not shown) on the I-Beam.

- Using a 3/4” combination wrench and a 3/4” socket and torque wrench, tighten all hardware to 75 ft-lbs. [102 N-m] on Universal Mount. Tighten all hardware to 30 ft-lbs.[41 N-m] on Rapid Mount (not shown).
Glulam Installation Overview 
- The Safety Cable needs to be fed through a hole in the Glulam, preferably above the center line of the Glulam.
- The Control Panel must be secured to the Glulam via wood screws at least 5 feet outside of the swept area.
- The Glulam brackets need to be through-bolted to the Glulam as high as possible.
- Attach fan frame to the bottom of the Universal Mount or Rapid Mount (not shown) with the provided hardware, combination wrench, and socket wrench.
Glulam Mounting
This method is recommended for Glulams or wood beams 5-1/8” or wider. For narrower beams, span across two or more beams using the Unistrut mounting method. (Refer to page 24) 

- The Brackets can be located below the glulam if necessary but is not recommended.
Locate brackets even with bottom of glulam.
- Drill maximum 5/8” diameter clearance holes through the glulam for (4) 1/2”-13 mounting bolts and (1) hole for the 3/16” diameter safety cable. The highest bolt hole should not be below the beam’s center line unless the glulam is too tall. The hole for the safety cable should be centered above the brackets (preferably above the center line of the glulam).

- Secure the Glulam brackets to the Glulam via (4) 1/2”-13 grade 5 bolts (long enough to go through the entire beam with nylon lock nuts). Stack the Bolt, washer, washer, nut as shown above.

- Using a 3/4” combination wrench and a 3/4” socket and torque wrench tighten all hardware to 75 ft-lbs. [102 N-m].
- Mount the Universal Mount or Rapid Mount (not shown) to the glulam brackets using the Mount Bolt Kit which contains (4) 1/2”-13 x 1.50” Hex Bolts, (8) 1/2” Washers and (4) 1/2”-13 Nylon Lock Nuts. Using a 3/4” combination wrench and a 3/4” socket and torque wrench tighten all hardware to 75 ft-lbs. [102 N-m].

Unistrut Mounting
This method is used to span components of a building structure. Attachment points to the building structure can vary greatly, contact Unistrut, so they can recommend the best method for attaching the Unistrut (www.unistrut.us).
- Two (2) pieces of 1-5/8” x 1-5/8” 12-gauge Unistrut need to span the trusses. Distance apart to be centered over the widest hole pattern in the Universal Mount or Rapid Mount (not shown) being used (see step 2). An “Extra Wide” Universal Mount may be desired for this application. Maximum allowable distance between trusses is 8 feet. If the spanning distance is greater than 8 feet, please consult a Structural Engineer. Please refer to page 5 “Mounting Guidelines” for the maximum torque and weight values.
Hardware Required but Not Provided:
(4) 1/2”-13 x 1-1/2” Hex Bolts, GR5 (4)
1/2” Flat Washer
(4) 1/2” Unistrut Spring Nut
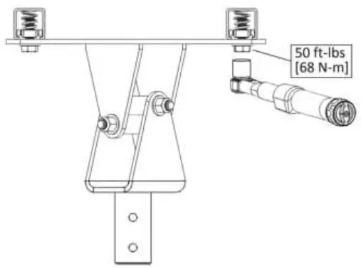
(1) Loctite 243 (or equivalent) - Attach the Universal Mount or Rapid Mount (not shown) in the most desired position between the trusses using hardware indicated (not provided). Apply Loctite 243 (or equivalent) to the 1/2”-13 bolts prior to mounting. Unistrut clamps are not permitted in this mounting method.

- Using a Torque wrench, tighten hardware to 50 ft-lbs [68 N-m].

NOTE: Mounting to C- and Z-purlins requires Unistrut span mounting. Contact Unistrut, so they can recommend the best method for attaching the Unistrut (www.unistrut.us).
Mounting to trusses under three (3) inches in width requires two or more trusses to be linked with Unistrut.
Mounting the Extension 
- Attach the extension to the bottom of the Universal Mount or Rapid Mount (not shown).
Tighten hardware to 30 ft-lbs [41 N-m] using torque and combination wrenches.
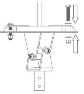
Motor and Safety Cable Routing 
The motor cable and the safety cable are to be routed through the mount and extension as shown above, after the mounts have been properly secured to the building (not shown above).
Mounting the Motor Unit
WARNING: The fan must be lifted by the struts.
- Set the fan unit on its struts on a pair of Unistrut cross bars to raise the fan on a lift. Two people can lift the fan if a lift is not available.

- Raise the fan and carefully guide the motor mounting top plate onto the extension tube. Feed the safety cable and motor cable through the motor top plate.
CAUTION: Do not put force onto the building with the lift. - When the motor is mounted to the bottom of the extension, the motor cable and safety cable will be passed through the fan’s top mounting bracket for connection to the fan unit. This procedure is discussed in the following instructions.

- Bolt the extension tube mounting plate to the motor top mounting plate. Torque nuts to 75 ft-lbs [102 N-m].
- Be careful of the wires protruding from the extension tube.

- Attach the safety cable to the motor top mounting plate by placing the loop of the safety cable around the safety bar and then attaching the bar to the underside of the motor top plate with supplied fasteners.
Safety Cable Installation
I-Beam
- Wrap safety cable from extension and mount, around I-beam multiple times.
- Secure two (2) safety cable clamps around the wire. Pull the cable taut and tighten both nuts using 3/8” combination wrench.


Glulam
- Wrap safety cable through fan unit frame and through hole drilled in Glulam above brackets.
- Secure two (2) safety cable clamps around the wire. Pull the cable taut and tighten both nuts using 3/8” combination wrench.
Motor Cable Connection
- Pass the wires protruding from the extension tube through the supplied cable gland and into the motor electrical box. Connect wires with wire nuts (not supplied). Attach ground wire according to electrical schematic. Reference the Motor Wiring Diagram shown below.


Installing Guy Wires
Guy Wire Installation 
ATTENTION: Guy Wires are required when a Universal Mount is used to mount the fan. Guy wires may be used as an option when a Rapid Mount is used. Guy wires are cut to a predetermined length.
- Attach the turnbuckle end of the guy wires to the four corners of the base of the frame through the hole provided at each corner.
- When laying out the locations of the guy wire mounting points, attempt to maintain a 45- degree angle between the ceiling and the guy wires and a 90-degree angle between each guy wire. All guy wires must have the same angle to ceiling, and same angle between wires.
- Avoid any sharp edges that may contact the guy wire. Guy wires need to be attached to the building structure via 1/2” eye lags or 1/2” eye bolts. Secure the cables with the provided cable clamps (see step 4). Eye Lags or eye bolts are not supplied by MacroAir.
WARNING: DO NOT wrap the guy wires around the building structure. - Tighten down cable clamp nuts with a 10mm socket wrench.
Guy Wire Tightening - With the aid of a level placed against the fan unit, tighten the turnbuckles by hand in a crisscross pattern while periodically checking to ensure that the fan is level.
- Tighten the turnbuckles until the fan unit is stable in the level position.
WARNING: Make sure to not overtighten the turnbuckles. - Once all the guy wires are taut (stretched or pulled tight with no slack) and the fan unit is stable and level, tighten the jam nuts on the turnbuckles with a 1/2” combination wrench.

WARNING: Do not use tools to tighten the turnbuckles; only use tools to tighten the jam nuts. 
Guy Wire Band Installation
ATTENTION: The Guy Wire Band is required when Guy Wires are installed.
- Insert the elastic cord through the top eyelet of each of the 4 turnbuckles.

- Pull one of the ends of the cord through one of the holes on the cable lock and then pull the end into the groove to lock it. Use pliers to properly secure the cord in the groove of the cable lock.
- Repeat the previous instruction for the second end of the cord using the opposite hole and groove on the cable lock.

- The safety cord should be pulled tight and fastened as shown.
DO NOT EXCESSIVELY STRETCH THE ELASTIC SAFETY CORD.
Installing Fan Blades
Blade & Safety Link Assembly
- Apply the provided lubricant in 4 spots on the top and 4 spots on the bottom of each strut as indicated. Each line of lubricant should be in a groove of the strut, starting at the tip of the strut, approximately 1”-1.5” long and spaced as indicated.
NOTE: The lubricant should reach the top of the groove. It is not necessary to use the entire tube.
- Slide the blades onto the blade struts and align the mounting holes in the blade with the mounting holes in the blade struts.0

- Once all the blades are in place, install the safety retainer links. Overlap each safety retainer link with the previous safety retainer link.

- With the blades and the safety retainer links in place, install the blade bolts, washers, and nuts in a clockwise or counterclockwise manner.

- Using a 1/2” combination wrench and a 1/2” socket and torque wrench, tighten all blade hardware to 23 ft-lbs [31 N-m].
Wiring the Fan
Electrical & Safety Cable Installation
WARNING: MOTOR CABLES AND INCOMING POWER MUST NEVER BE RUN IN THE SAME CONDUIT. FAILURE TO INSTALL PER MACROAIR INSTRUCTIONS, INCLUDING WIRING, MAY BE HAZARDOUS, CAUSE PREMATURE FAILURE, AND VOID THE MANUFACTURE’S WARRANTY.
ATTENTION: Regulatory Notice, EMI (Electromagnetic Interference)
Electromagnetic Interference (EMI) is any signal or emission, radiated in free space or conducted along power or signal leads, that endangers the functioning of radio navigation or other safety services or seriously degrades, obstructs, or repeatedly interrupts a licensed radio communications service. Radio communications services include but are limited to AM/FM commercial broadcast, television, cellular services, radar, air-traffic control, pagers, and personal communications services (PCS). These licensed services, along with unintentional radiators such as digital devices, variable frequency drives (VFDs), and other equipment such as fans with VFDs, contribute to the electromagnetic environment.
Electromagnetic compatibility is the ability of items of electronic equipment to function properly together in the electronic environment. MacroAir Fans variable frequency drives, VFDs, are designed to be in-compliance with regulatory agency limits for EMI. However, there is no
guarantee that interference will not occur in a particular installation. If MacroAir’s products
(fans) do cause interference with radio communications services, which can be determined by turning the fans off and on, please notify MacroAir technical support.
MacroAir Technologies’ products are designed, tested, and classified for their intended electromagnetic environment. These electromagnetic environment classifications generally refer to the following harmonized definitions:
Class A is typically for business or industrial environment.
Class B (MacroAir products are NOT designed for typical residential environments covered under this classification).
CODE COMPLIANCE IS THE RESPONSIBILITY OF THE INSTALLER, AND ULTIMATELY, THE END USER. All wiring should conform to the current National Electric Code (NEC), ANSI/NFPA 70, and all local codes. This fan control should only be installed by qualified technicians familiar with the requirements of the NEC and local codes.
Note: MacroAir Technologies has a policy of continuous product improvement and reserves the right to change design and specifications without notice.
If you have any questions, please contact MacroAir technical support.
Control Panel Overview
3 Phase 
1 Phase 
- Control Panels come pre-wired, as illustrated above.
- Make sure the control wiring is CAT5e shielded, stranded or greater.
- If removed from the enclosure, the disconnect switch must be in the OFF position when removed, and in the OFF position when reinstalled to prevent misalignment of switch.
- The Motor Cable Gland does not come pre-installed. Use a unibit to drill installation hole.
- Shielded motor cable is provided and must be used with no additional cable to maintain factory warranty.
- Mounting hardware for mounting enclosure to an I-beam, Glulam or wall is not supplied by MacroAir. Physical enclosure of Control Panel is 12”x12”x8”.
- Connect CAT5 to RJ45 labeled “in” for single touchpad controller.
Digital Control Panel Schematic
If the Local Override Remote Option is present, this Control Panel Schematic will be superseded by that in the Local Override Remote Operation Manual (see page 47 of this manual).
Digital Control Panel Schematic (Existing Networks) 
If the Local Override Remote Option is present, the Control Panel Schematic will be superseded by that in the Local Override Remote Operation Manual (see page 47 of this manual).
Mounting Wall Controller
Touchpad Remote User Interface
Buttons:
- A – Forward / Reverse: Select fan rotational direction.
- B – Power Button: Turn the fan on or off (forward or reverse must be chosen to start the fan).
- C – Speed Up / Speed Down: Increase or decrease the speed of the fan.
- D – Speed Box: Real-time indication of fan speed.
- E – Navigation: Navigate to the next screen.
- F – Settings: Displays settings and information about the fan.

Touchpad Remote Installation 
Wall Mounting (Provided)
- Gently remove the front bezel from the touch screen using a small flat tipped screwdriver where the bezel notch meets the dismount tab located at the bottom of the touch screen.
- Mount the base plate of the enclosure to the wall using the 4 provided wall anchors and screws.
- Snap the front of the enclosure to the base plate.
- Plug in the pre-wired CAT5e cable from the screen into the RJ45 coupler inside the enclosure.
- Secure the touch screen to the enclosure using the 4 provided screws.
- Lock the provided bezel into place via the plastic tabs.
- Plug the provided CAT5e cable from the fan into the RJ45 on the outside of the enclosure.

Flush Mounting (Not Provided)
- Gently remove the front bezel from the touch screen using a small flat tipped screwdriver where the bezel notch meets the dismount tab located at the bottom of the touch screen.
- Install the single gang electrical box (not provided).
- Run the provided CAT5e cable from the fan into the single gang electrical box.
- Plug the remote cable into the pre-wired CAT5e cable from the screen using an RJ45 coupler.
- Secure the touch screen to the enclosure using the 2 provided screws.
- Lock the provided bezel into place via the plastic tabs.
Touchpad Remote LCD Display 
Touchpad Remote Enclosure 
Motor Calibration
Touchpad Remote
- Upon first power-up of the touchpad, the correct fan diameter will need to be selected.
- After the blade size is selected, navigate to the next page using the arrow in the lower left to reach the motor calibration screen. Press the Calibrate Motor button.
- The screen will display a warning. If the motor is cold, press the Calibrate Motor button again.
- The screen will ask if the motor has run recently. If it has, press the Yes button. Calibration will not occur, and you must wait until the motor is cold to perform the calibration. If the motor has not run recently, press the No button. The fan will perform a calibration of the motor. The motor will make a loud noise while calibrating; this is normal. If the motor calibration fails, log into the technical support website and file a case, you will receive a call from Technical Support. Technical Support address: https://MacroAirFans.com/Techsupport
- Once motor calibration is done, press the lower left arrow to get to the address screen. Change to the desired address and press the Reset button. If you do not need to change the address, press the arrow in the lower left until you are at the fan control screen. You may now operate your fan as desired.
- Note: If the fan stops operating unexpectedly, navigate to the fault code screen using the bottom right arrow and record any fault codes (if present). Click the reset button until the display reads ‘0’ or none. Then, attempt to run the fan again. If the fan is still not operating, navigate to the fault code screen via the navigation arrows at the bottom of the screen and document the code(s) displayed and call technical support at 866-668-3247. NOTE: Some faults can only be read from the VFD.

Network Controller 30
First Calibration
- On the control screen. Click the button of the fan that needs to be calibrated.
- Once on the Fan screen, press the Configure button.
- Once on the Configure screen, input the correct fan diameter and number of blades.
- Once the correct fan diameter and number of blades are input, press the Motor Cal button.
- Read the Motor Cal Screen and press the Run Motor Cal button.
- The button will change to “MC Running” while the calibration is running. If the calibration is successful, it will say “MC Success”. You can press the button to close out the screen and operate the fan. If the calibration is unsuccessful, it will say “MC Fail”. You can press the button to close out the screen and check for fault codes. Please call 866-668-3247 for Technical Support if you require further assistance.


Subsequent Calibrations
- Wait 1-hour after last operation of fan.
- Press the Settings button in the upper right corner.
- Once on the Settings page, Press the Admin Login button and enter your credentials. The default Username and password are both “admin”.
- Once you are successfully logged in under Admin, go back to the fan control screen. Click the button of the fan that needs to be calibrated.
- Continue with “First Calibration” instructions (above).

Information
Local Override Remote Option
ATTENTION: Local Override Remote Operation Manual. If the Local Override Option was purchased then refer to the Local Override Remote Operation Manual for the appropriate Wiring Diagrams, Control Panel images, and instructions. The Control Panels on page 38, and the Wiring Diagrams on pages 39 and 40 of this manual are superseded and replaced by those in the Local Override Remote Operation Manual. 
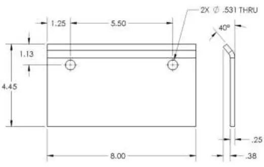
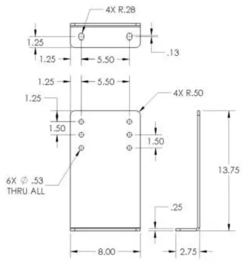
Mounting Bracket Hole Patterns
Standard Universal Mount Mounting Pattern 
Standard Rapid Mount Mounting Pattern 
Extra Wide Universal Mount Mounting Pattern 
I-Beam Bracket
Glulam Bracket
Maintenance
Guy Wire Check (if applicable): Checking a MacroAir fan’s guy wires for tension and inspecting for frayed sections could mitigate a problem before it occurs. The guy wires should be under enough tension to prevent any movement in the motor unit or the extension tube. If the motor unit can be moved by pushing on it, the guy wires need to be tightened. Fan owners should confirm that the guy wires are not wrapped around any sharp edges. MacroAir recommends attaching guy wires to the building with eyebolts or eye lags. If they are not already installed with eye bolts or lags, we urge fan owners to install these to help keep the guy wires from fraying. If guy wires are installed with turnbuckles, jam nuts should periodically be checked to ensure tightness. If they are loose, the guy wire cables may need to be re-tensioned.
Airfoil Cleaning: Depending on the type of commercial application the MacroAir fan is in, there can be quite a bit of dust or other particulates that cling to the fan’s airfoils. While this may not affect fan performance, we recommend fan owners keep airfoils clean by having a maintenance person or skilled trade professional – who has experience using a lift – wipe the fan airfoils with a rag or sponge using hot water or mild cleaning solutions. Please do not use chlorine or any chemicals containing chlorine.
Safety Cable Check: Each MacroAir fan comes with a safety cable. Depending on the fan model, the safety cable either wraps around the building structure and the fan frame or comes out of the top of the fan and wraps around the building structure. The safety cable is an important part of the safety system and acts as a last resort should an earthquake, collision, or similar catastrophic event occur. As such, it is vital for fan owners to ensure that the safety cable is intact and properly secured.
Reverse Operation: The beauty of MacroAir HVLS fans is that they are built to run in forward and reverse mode. However, changing the direction of your fan can put initial stress on the fan if it has not been properly checked. It is a good idea to make sure guy wires, safety cables and all bolts and nuts are tight. Cleaning the fan before switching directions will prevent dust and other particles from falling off the fan airfoils when turning in the opposite direction.
Maintenance Plan: Things to look for include properly torqued fasteners, rust, cracked welds, unusual noise, hub migration/movement, guy wire loosing or movement.
Years 1-10: One inspection on lift per year.
Year 11 and beyond: Annual inspections from a lift and seasonal inspections both before and after the busy season from the ground.
NOTE: If there are issues or concern discovered during an inspection, please contact the service and technical support department at MacroAir for help.
CONTACT US: For installation assistance, application questions, technical sales support & any other inquiries, please contact us at (866) 668-3247.
Troubleshooting
Please refer to the table below if you experience issues with the fan operation.
| Symptoms | Possible Solution |
| The fan is not turning and the lights on the VFD are lit. | Flip disconnect switch to “OFF” for 30 seconds and then flip to “ON”. Ensure that the VFD is properly connected to the motor. |
| The fan is not turning and the lights on the VFD are NOT lit. | Confirm that there is power coming from the building. |
| The fan is making a loud “clicking” noise. | Ensure that the anti-seize was properly applied to every blade strut. |
| The fan is operating noisily. | Confirm that there is nothing interfering with any moving parts. |
| The fan is wobbling. | Confirm that the fan is level and the guy wires are properly installed and tightened. |
If your issue cannot be resolved using the table above, please contact MacroAir technical support at (866) 668-3247.
Warranty
MacroAir warrants the Products listed in the table below will be free from defects in materials and workmanship under normal use and maintenance for the applicable Warranty Period. Other than the Warranty set forth in this document, no other written or oral warranties apply, and no employee, agent, dealer, or other person is authorized to give any other warranties on behalf of MacroAir.
START DATE OF WARRANTY COVERAGE
The Warranty Period begins fifteen (15) days following shipment of the Product, or on the date the Product is installed (not to exceed sixty (60) days Customer receives the Product), whichever date is later. Customer should retain necessary documentation to verify the date of receipt and installation of the Product. Customer will be required to produce this documentation in order to obtain Warranty services from MacroAir. The Warranty specified herein applies only to Products shipped on or after April 15, 2021.
PRODUCTS AND SYSTEMS COVERED BY THIS WARRANTY AND APPLICABLE WARRANTY PERIODS:
| Fan Type | Mechanical: Blades, Hub & Frame | Standard Electrical1: Motor, Electrical Controls, Remote | Labor |
| AVDX | 15 Years | 10 years * | 1 Year |
| AirVolution | 15 Years | 7 years * | 1 Year |
| AirLegacy | 15 Years | 5 Years * | 1 Year |
| AirVolution-D3 | 10 years | 7 years * | 1 Year |
| AirVolution-D 370 | 10 years | 5 Years * | 1 Year |
WARRANTY COVERAGE:
Subject to the exclusions herein, the MacroAir Warranty covers any defects in workmanship or materials of the covered Products under normal operation and prescribed maintenance when those defects adversely affect the ability of the Product to operate properly.2 The Warranty only covers Products which have been installed in compliance with MacroAir’s written installation instructions by a state-qualified or licensed electrical contractor and operated and maintained by the Customer in conformity with MacroAir’s written instructions, and when the
Product is purchased directly from MacroAir or a MacroAir Authorized Dealer.
This Warranty is subject to all provisions, conditions, limitations, and exclusions explained in this Warranty document.
* Scan QR code or visit macroairfans.com/warranty for full warranty information. 
- “Standard Electrical” means any common electrical component that is utilized across more than one fan line will assume the higher warranty period.
- “Operate properly” applies only to mechanical, electrical, and structural systems of the Product.
© 2019 MacroAir Technologies Toll Free: 866 668 3247 Fax: 909 890 2313 www.macroairfans.com INSTALLATION MANUAL, AVDX 90-30056-00 Rev A-05 Date: 071621
794 South Allen Street San Bernardino, CA 92408 (866) 668-3247 Macroairfans.com



















Hardware Required but Not Provided:


CAUTION: Do not put force onto the building with the lift.


































