tp-link Tapo C220 Pan or Tilt AI Home Security WiFi Camera
Package Contents
Appearance
Note: Tilt the camera lens up to find the RESET button and the microSD card slot.
System LED Indication
| Solid red | Starting up |
| Blinking red and green | Ready for setup |
| Blinking red slowly | Connecting to Wi-Fi |
| Solid amber | Connected to Wi-Fi |
| Solid green | Connected to the cloud |
| Blinking red quickly | Camera resetting |
| Blinking green quickly | Camera updating |
RESET Button
While the camera is on, press and hold the RESET button for at least 5 seconds until the LED blinks red.
microSD Card Slot
Insert a microSD card and initialize it on the Tapo app for local recording.
Privacy Mode Button
Press the button to turn Privacy Mode on and off. When Privacy Mode is on, the camera lens is hidden.
Set Up Your Camera
STEP 1 DOWNLOAD APP
Get the Tapo app from the App Store or Google Play.
STEP 2 POWER UP
Plug in your camera and wait until the LED blinks red and green.
STEP 3 SET UP
Tap the button in the app and select your model. Follow app instructions to complete setup.
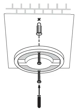
Mount Your Camera
- Mark Position
Place the mounting template where you want the camera. For wall mounting, drill two holes through two circles.
- Mount Base
Affix the camera base using the screws. For wall mounting, insert two anchors into the holes and use the screws to affix the camera base over the anchors.
- Secure Camera
Attach the camera on the base and rotate to secure the camera.
Warning instruction
- Keep the device away from water, fire, humidity, or hot environments.
- Do not use a damaged charger or USB cable to charge the device.
- Do not use any other chargers than those recommended.
- Do not use the device where wireless devices are not allowed.
- The adapter shall be installed near the equipment and shall be easily accessible.
- Use only power supplies which are provided by the manufacturer and in the original packing of this product. If you have any questions, please don’t hesitate to contact us.
- For indoor use only.
- Do not disassemble, repair or modify the product.
- Do not use the product if the casing has been broken. The danger of electric shock.
- Never touch the product with wet hands.
- Do not expose to heavy rain or any type of moisture.
- Do not place near automatically controlled devices such as fire alarms. Radio waves emitted from this product may cause such devices to malfunction resulting in an accident.
- Observe restrictions on using wireless products in fuel depots, chemical plants, or when blasting operations are in progress.
- Do not use liquid to clean the product. Only use a dry cloth.
- Never put metal objects inside the product. If a metal object enters the product turn off the circuit breaker and contact an authorized electrician.
- This product is not intended to be used when providing medical care. Consult the manufacturer of any personal medical devices, such as pacemakers or hearing aids to determine if they are adequality shielded from external RF (radio frequency) energy.
- Do not use this product in health care facilities. Hospitals or health care facilities may be using equipment that could be sensitive to external RF energy.
- Do not use this product near water for example near a bath tub, wash bowl, kitchen sink, or laundry tub, in a wet basement, or near a swimming pool.
- The product should be kept free from excessive smoke, dust, or high temperature and vibration.
- This product should not be exposed to direct sunlight
- Do not place heavy objects on top of the product.
- When you leave the product unused for a long time unplug the product from the power outlet.
- The product should be kept away from heat sources such as radiators, cookers, etc. – it should not be placed in rooms where the temperature is less than 0 degrees or greater than 40 degrees. Damp basements should also be avoided.
- This product may interfere with other electronic products such as TV, radios, personal computers, phones, or other wireless devices.
- Operating Temperature: 0 °C ~ 40°C (32°F ~ 104°F)
- Operating Humidity: 10%~90%RH, Non-condensing
Please read and follow the above safety information when operating the device. We cannot guarantee that no accidents or damage will occur due to improper use of the device. Please use this product with care and operate at your own risk.
TP-Link hereby declares that the device is in compliance with the essential requirements and other relevant provisions of directives 2014/53/EU, 2009/125/EC, 2011/65/EU and (EU) 2015/863. The original EU declaration of conformity may be found at https://www.tapo.com/en/support/ce/ TP-Link hereby declares that the device is in compliance with the essential requirements and other relevant provisions of the Radio Equipment Regulations 2017. The original UK declaration of conformity may be found at https://www.tapo.com/support/ukca/.


























